brake pedal it goes normal until close to the bottom and then continues about a quarter inch with a clunk at the bottom?

1997 FORD F-150
180,000 MILES • 4.6L • V8 • 2WD • AUTOMATIC
Avatar
JB3
  • MEMBER
  • 2 POSTS
i have changed all brake parts, new calipers, new wheel cylinders, new pads, new master cylinder and booster and the cylinder rod adjusted. the problem is when i depress the brake pedal it goes normal until close to the bottom and then continues about a quarter inch with a clunk at the bottom. this issue did not appear until the brake service was done. i have had three different mechanics look into this with no resolve. any help would be greatly appreciated.

Thank you in advance.
Nov 24, 2017 at 6:05 AM
Advertisement
Avatar
PATENTED_REPAIR_PRO
  • CERTIFIED EXPERT
  • 1,853 POSTS
It sounds like they did not bench bleed the master here are two guides that will help us fix the problem

https://www.2carpros.com/articles/how-to-replace-a-brake-master-cylinder

and

https://www.2carpros.com/articles/brake-pedal-goes-to-the-floor

Please run down these guides and report back.
Nov 24, 2017 at 7:23 AM
Avatar
JB3
  • MEMBER
  • 2 POSTS
The noise appears to be in the pedal but did not exist until the brake job was done. i will check these things as you suggest but find it hard to understand how this is now all of a sudden happening after a complete brake job.

Thank you for your assistance.
Nov 24, 2017 at 7:28 AM
Advertisement
Avatar
STRAILER
  • CERTIFIED EXPERT
  • 53,854 POSTS
If there is no air in the brake system then the only two other things that can cause this problem is a defective master or the rear shoes are out of adjustment. Here are a couple of guides to help you get the problem fixed.

https://www.2carpros.com/articles/brake-pedal-goes-to-the-floor

and

https://www.2carpros.com/articles/how-to-bleed-or-flush-a-car-brake-system

and

https://www.2carpros.com/articles/how-to-replace-a-brake-master-cylinder

The clunk you feel is normal when the master cylinder bottoms out.

Please let us know what happens.

Cheers, Ken
Nov 26, 2017 at 7:09 PM
Avatar
GLEN WORSTALL
  • MEMBER
  • 2 POSTS
I have a 98 Ford f150 4-wheel drive with a 4.6 Triton that we put new calipers new brakes new bleeders new banjo bolts and everything in it tried bleeding it with no success
Aug 23, 2019 at 7:58 PM
Avatar
GLEN WORSTALL
  • MEMBER
  • 2 POSTS
I need to figure out what's wrong with this truck.
Aug 23, 2019 at 8:00 PM
Avatar
STRAILER
  • CERTIFIED EXPERT
  • 53,854 POSTS
Hello,

Does this truck have ABS? if so you will need to have the the ABS unit valves opened when bleeding using a scan tool.

This guide should help us:

https://www.2carpros.com/articles/brake-pedal-goes-to-the-floor

Please run down this guide and report back.
Aug 26, 2019 at 11:54 AM
Avatar
SSTANELLE
  • MEMBER
  • 1 POST
Could air trapped in the ABS unit be causing the sinking brake pedal? It's my understanding that if the master cylinder is replaced, the ABS unit must be bled in conjunction with wheel-based bleeding. Can an expert confirm or deny this? I took into my local mechanic for a spongy brake pedal. He assumed it was the master cylinder. But after bleeding the brakes, the problem still exists. He then replaced the brake booster and bled the brake system again. Still the spongy brake pedal problem exists. He also replaced the front brake pads and rotors because it was needed to be done anyway after a complete inspection of the brake system. I didn't ask him yet if he bled the ABS unit because I don't know if that is a legitimate concern or not. Hopefully someone here can answer. I also don't know if he is equipped to do so as I believe it requires a scan tool to open the valve for each wheel independently. Also, can an expert tell me how far the brake pedal should normally travel? Thanks!
Aug 28, 2019 at 9:37 AM
Avatar
STRAILER
  • CERTIFIED EXPERT
  • 53,854 POSTS
The brake pedal should travel about 3 inches, you will need a scan tool to open the ABS control valves to get he air out, here is a guide that should help.

https://www.2carpros.com/articles/how-to-bleed-or-flush-a-car-brake-system

Please run down this guide and report back.
Aug 29, 2019 at 10:40 AM
Avatar
MALCOLM2817
  • MEMBER
  • 2 POSTS
I have replaced the pads, master cylinder bleed the system all to no avail. the truck has front disc and rear drum, can someone assist me with this problem, it would be greatly appreciated.
Mar 10, 2021 at 11:19 AM (Merged)
Avatar
JACOBANDNICKOLAS
  • CERTIFIED EXPERT
  • 110,175 POSTS
Hi,

Are there any leaks? Are the rear brakes properly adjusted? When you replaced the master cylinder, was everything bled properly.

Lets start by going through the following link. See if there is anything that helps. Also, let me know the procedure used when you bled the brake system.I would suspect there is air in the lines. These guides can help you fix it.

https://youtu.be/w7gUsj2us0U

and

https://youtu.be/WDxvEQrMkBg

and

https://www.2carpros.com/articles/brake-pedal-goes-to-the-floor

Please run down these guides and report back.

Let me know.
Joe
Mar 10, 2021 at 11:19 AM (Merged)
Avatar
MALCOLM2817
  • MEMBER
  • 2 POSTS
hello,

No there is not any leaks, the rear brakes was adjusted, the master cylinder was not bled to my knowledge. i had a mechanic install that, but the system was bled properly.
Mar 10, 2021 at 11:19 AM (Merged)
Avatar
JACOBANDNICKOLAS
  • CERTIFIED EXPERT
  • 110,175 POSTS
Just to confirm. You mentioned the master cylinder was not bled to your knowledge. It must be if it was replaced.

Please confirm.

Joe
Mar 10, 2021 at 11:19 AM (Merged)
Avatar
TERRY102204
  • MEMBER
  • 1 POST
Replaced brakes, rotors, drums, and calibers lines. we have no air in lines fluid coming out, but pedal stills goes to floor and won't pump up.
Mar 10, 2021 at 11:20 AM (Merged)
Avatar
ASEMASTER6371
  • CERTIFIED EXPERT
  • 52,796 POSTS
Good afternoon.

This sounds like you still have air in the system.

https://www.2carpros.com/articles/brake-pedal-goes-to-the-floor

I posted the procedure below but the key is you need a scan tool that can perform the automated ABS bleed procedure. It sounds like you have in the lines and conventional bleeding will not work until you open the ABS valves. That is what the scan tool does to get rid of the air.

https://www.2carpros.com/articles/how-to-bleed-or-flush-a-car-brake-system



Roy

NOTE: This procedure only needs to be performed if the 4 wheel anti-lock brake (4WABS) hydraulic control unit (HCU) has been replaced.

NOTE: One conventional pressure bleed cycle consists of advancing the brake pedal to its extended position, opening the wheel cylinder bleeder screw, allowing fluid to be released into the waste container, closing the wheel cylinder bleeder screw and releasing the brake pedal to its full upright position.

NOTE: When any part of the hydraulic system has been disconnected for repair or replacement, air may get into the system arid cause spongy brake pedal action. This requires the bleeding of the hydraulic system after it has been properly connected. The hydraulic system can be bled manually or with pressure bleeding equipment Brake Bleeder.

NOTE: Performing the New Generation Star tester (NGS) program routine drives entrapped air from the otherwise inaccessible lower section of the 4WABS valve into the upper sections (accessible by bleeding the brakes). Subsequent bleedings remove the air from the system.

NOTE: Add recommended brake fluid as necessary throughout the procedure.

Wheel Cylinder Bleeder Screw
imageOpen In New TabZoom/Print


1. Connect a clear waste line to the RH rear wheel cylinder bleeder screw and the other end in a container partially filled with recommended brake fluid.

2. With the RH rear wheel cylinder bleeder screw open, cycle the brake pedal until no more air is seen in the waste line.

Wheel Cylinder Bleeder Screws Torque Specifications
imageOpen In New TabZoom/Print


3. Close the RH rear wheel cylinder bleeder screw and disconnect the waste line.

4. Repeat steps 1, 2, and 3 for the LH rear wheel cylinder bleeder screw, RH front disc brake caliper bleeder screw, and the LH front disc brake caliper breeder screw.

Connect Cable Adapter
imageOpen In New TabZoom/Print


5. Connect the (A) NGS DCL cable adapter into the (B) vehicle data link connector (DLC).

Vehicle And Engine Selection
imageOpen In New TabZoom/Print


6. Select VEHICLE AND ENGINE SELECTION and press trigger to start the NGS.

Select New Vehicle Year And Model
imageOpen In New TabZoom/Print


7. Select SELECT NEW VEHICLE YEAR AND MODEL and press trigger to start the NGS.

Vehicle Year Selection
imageOpen In New TabZoom/Print


8. Select the appropriate vehicle year application and press trigger to start the NGS.

Select New Vehicle Year And Model
imageOpen In New TabZoom/Print


9. Scroll down to the appropriate vehicle application and highlight and trigger to start:the NGS.

Verify Vehicle Application
imageOpen In New TabZoom/Print


10.The NGS will prompt you to verify correct application. Trigger the NGS if correct.

Select Diagnostic Data Link
imageOpen In New TabZoom/Print


11.Select DIAGNOSTIC DATA LINK and press trigger to start the NGS.

Trigger Or Cancel Display
imageOpen In New TabZoom/Print


12.Follow the NGS prompt PRESS TRIGGER TO CONTINUE or PRESS CANCEL TO BYPASS.

Select - Anti-Lock Brake Module
imageOpen In New TabZoom/Print


13.Select ABS ANTI-LOCK BRAKE MODULE and press trigger to start the NGS.

Function Tests
imageOpen In New TabZoom/Print


14.Select FUNCTION TESTS and press trigger to start the NGS.

Service Bleed Function
imageOpen In New TabZoom/Print


15.Select SERVICE BLEED FUNCTION and press trigger to start the NGS.

Service Bleed Function
imageOpen In New TabZoom/Print


16.Select PRESS TRIGGER TO BEGIN.

NOTE: The brake pedal should be depressed while this procedure is functioning. Perform at least five service bleed procedures.

17.Repeat conventional bleed procedure as outlined in steps 1 through 4.

18.If brake pedal feels spongy, repeat NGS service bleed procedure as outlined in steps 5 through 16 and repeat conventional bleed steps 1 through 4.
Mar 10, 2021 at 11:20 AM (Merged)
Avatar
CHAD READ
  • MEMBER
  • 26 POSTS
I replaced the master cylinder, replaced brake booster, new brake pads, turned rotors, replaced calipers. Tried bleeding brakes in sequence over and over, bench bled master cylinder. Front brakes squeeze together and won't let go. And pedal still sinks to the floor.
Mar 10, 2021 at 11:21 AM (Merged)
Avatar
JACOBANDNICKOLAS
  • CERTIFIED EXPERT
  • 110,175 POSTS
HI and thanks for using 2CarPros.

It sounds like an issue with one of the rubber brake hoses to the caliper. I need you to try this for me and let me know what happens.

First, safely lift the front wheels off the ground so you can turn them. Apply the brakes so the caliper locks. Open the bleeder on the brake caliper. Does the caliper release?

If so, do this. Apply the brakes to lock caliper. Release pressure at the master cylinder. If it doesn't release the caliper, replace the rubber brake hoses.

Here are the directions specific to your vehicle for brake hose replacement. The attached pictures correlate with these directions

Front brake hose
Removal:
Warning: brake fluid contains polyglycol ethers and polyglycols. Avoid contact with eyes. Wash hands thoroughly after handling. If brake fluid contacts eyes, flush eyes with running water for 15 minutes. Get medical attention if irritation persists. If taken internally, drink water and induce vomiting. Get medical attention immediately.


- Raise and support the vehicle.

Warning: the electrical power to the air suspension system must be shut off prior to hoisting, jacking or towing an air suspension vehicle, this can be accomplished by turning off the air suspension switch located in the right hand kick panel area. Failure to do so may result in unexpected inflation ()r deflation of the air springs which may result in shifting of the vehicle during these operations.
Disconnect Front Brake Hose
see picture 1


- Disconnect the front brake hose.
1 Remove the front brake hose bolt.
2 Remove and discard the copper washers. Plug the front brake hose.
3 Disconnect the front brake hose.

Remove Front Brake Hose
see picture 2


- Remove the front brake hose.
1 Disconnect the front brake tube fitting and plug the tube.
2 Remove the plug;
3 Remove the two brake hose frame bolts.
4 Remove the front brake hose.

INSTALLATION:

Front Brake Hose Torque Specifications
see picture 3
Front Brake Hose Torque Specifications
see picture 4


- To install, reverse the removal procedure.
^ Bleed the front brakes; refer to procedure in this section section.
Let me know what you find.

________________________________________________

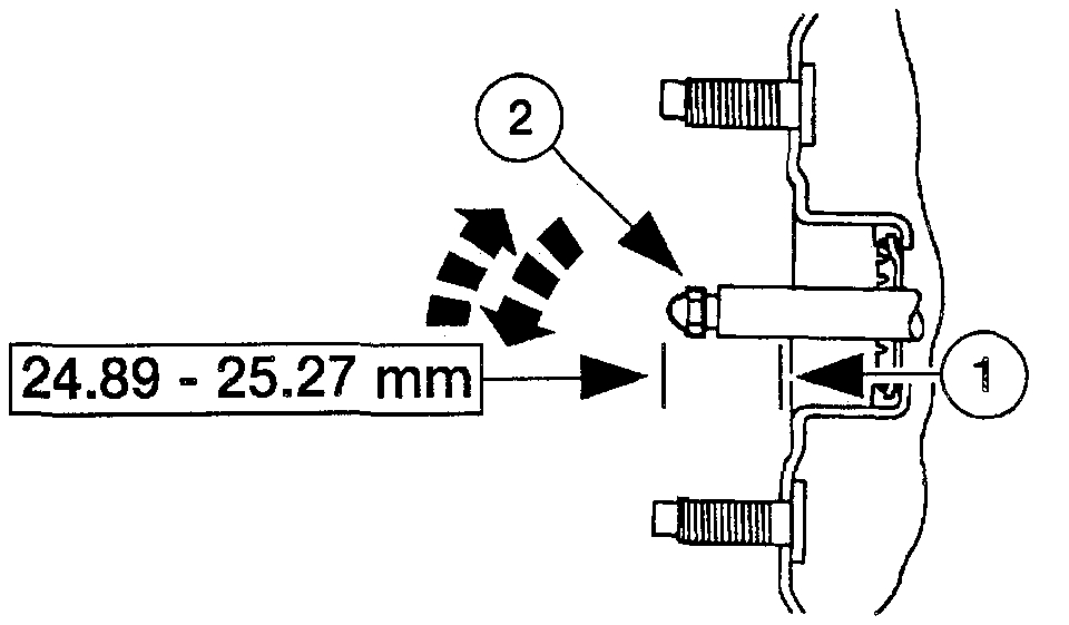
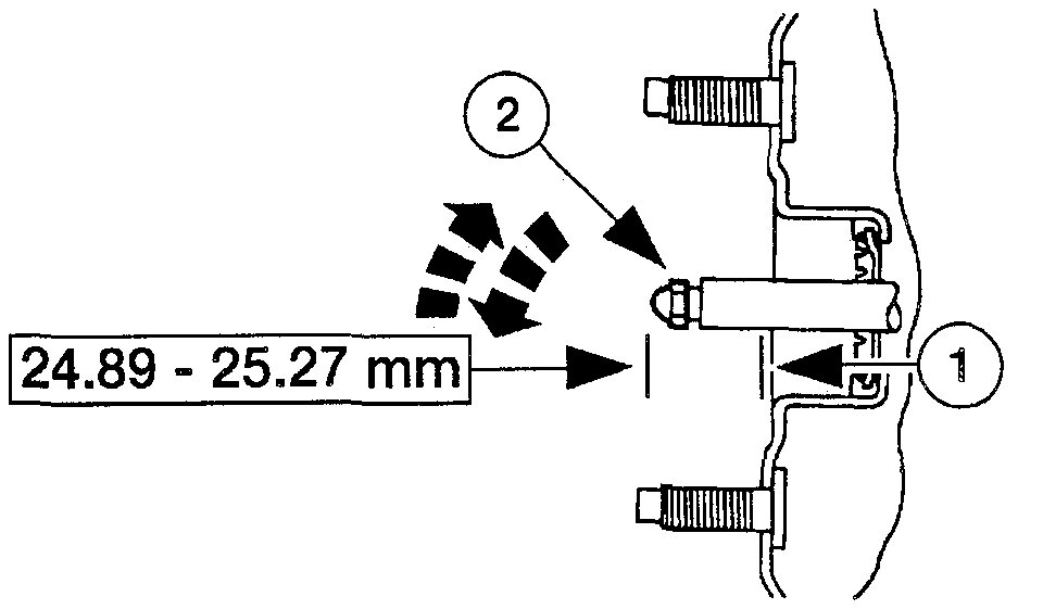
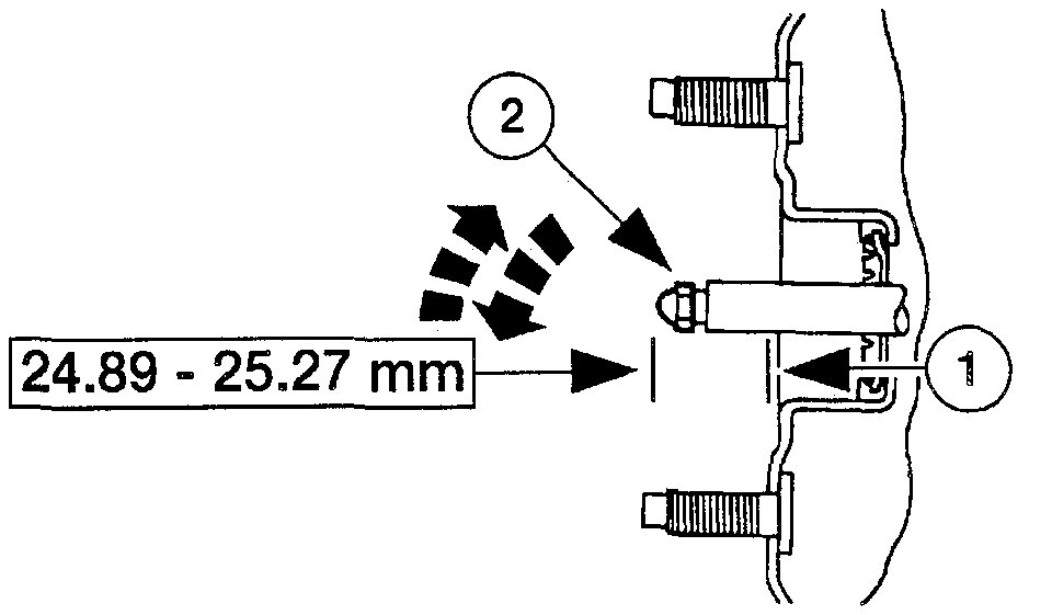
Also, since both the booster and master cylinder were replaced, you really should check the push rod adjustment between the two. Here are the directions for adjustment, Pic 5 correlates with this process.

Remove the brake master cylinder: refer to the Master Cylinder, Brakes.


Power Brake Booster To Master Cylinder Push Rod Torque Specification

see picture 5


-Adjust the power brake booster to brake master cylinder push rod.
1 Measure the power brake booster to brake master cylinder push rod.
2 If necessary, adjust the screw to the proper length.

Let me know what you find or if you have other questions.

Take care,
Joe
Mar 10, 2021 at 11:21 AM (Merged)
Avatar
CHAD READ
  • MEMBER
  • 26 POSTS
I forgot to mention I also replaced the brake hoses.
Mar 10, 2021 at 11:21 AM (Merged)
Avatar
JACOBANDNICKOLAS
  • CERTIFIED EXPERT
  • 110,175 POSTS
Okay. Did you adjust the push rod? It sounds like something isn't put together correctly there. If nothing leaks, everything is new, either the master cylinder is bad or the push-rod is not properly adjusted and getting stuck causing the pressure to remain on the calipers. Try the release procedure I suggested. At least that way we will know if the problem is at the master cylinder or after it. THis guide can help us

https://www.2carpros.com/articles/brake-pedal-goes-to-the-floor

Please run down this guide and report back.
Mar 10, 2021 at 11:21 AM (Merged)
Avatar
CHAD READ
  • MEMBER
  • 26 POSTS
I have not yet adjusted the push rod yet. Waiting for warmer weather I also already bench bled the master cylinder the best I could with the kit. so I will check the push rod first.
Mar 10, 2021 at 11:21 AM (Merged)
Avatar
JACOBANDNICKOLAS
  • CERTIFIED EXPERT
  • 110,175 POSTS
Let me know what you find. I hope that takes care of it.

Take care,
Joe
Mar 10, 2021 at 11:21 AM (Merged)
Avatar
CHAD READ
  • MEMBER
  • 26 POSTS
Thanks for the tips I will let you know as soon as I get to the source of the problem.
Mar 10, 2021 at 11:21 AM (Merged)
Avatar
JACOBANDNICKOLAS
  • CERTIFIED EXPERT
  • 110,175 POSTS
Sounds good, Chad. Take care and good luck. I will watch for your reply.

Joe
Mar 10, 2021 at 11:21 AM (Merged)
Avatar
CHAD READ
  • MEMBER
  • 26 POSTS
I adjusted the push rod the pedal hardend and remained hard even after it set. (No more sinking to the floor). The front brakes squeezed but they aren't letting go do you recommend bleeding all after?
Mar 10, 2021 at 11:21 AM (Merged)
Avatar
JACOBANDNICKOLAS
  • CERTIFIED EXPERT
  • 110,175 POSTS
Okay, now that we have a good pedal, try to bleed the system. However, air in the system shouldn't cause the system to lock up. So, lets try to narrow it down. First, pump the brakes so the calipers lock. Once they do, open the bleeder on the caliper and see if the caliper releases. If it does, then we need to go further back. Close the bleeder at the caliper. Go the master cylinder, and apply brakes so they lock again and open the front steel line on the master cylinder and see if it releases. If it does, then something is bad in the master cylinder.

One other thought. There is a fluid control valve on the MC that's primary function is to control rear brake pressure. Did you reinstall it? I attached a picture of it.

Let me know.

Joe

PS: You did clean and lube the caliper slid pins, correct?
Mar 10, 2021 at 11:21 AM (Merged)
Avatar
CHAD READ
  • MEMBER
  • 26 POSTS
I bought a new MC but it did not have the fluid control valve. So I put the old one on. And I cleaned and lubed the caliper pins and I did not tighten them too tight. I made sure I could move them back and forth easily.
Mar 10, 2021 at 11:21 AM (Merged)
Avatar
JACOBANDNICKOLAS
  • CERTIFIED EXPERT
  • 110,175 POSTS
Then pressure isn't able to return to the MC. Try the test I suggested and let me know the results. It's either fluid can't return or you got bad calipers and the pistons are sticking.

Take care,
Joe
Mar 10, 2021 at 11:21 AM (Merged)
Avatar
CHAD READ
  • MEMBER
  • 26 POSTS
Ok Thanks
Mar 10, 2021 at 11:21 AM (Merged)
Avatar
JACOBANDNICKOLAS
  • CERTIFIED EXPERT
  • 110,175 POSTS
No problem. Let me know the results.

Joe
Mar 10, 2021 at 11:21 AM (Merged)
Avatar
CHAD READ
  • MEMBER
  • 26 POSTS
okay now fluid is coming out of all except the rear drivers side.
Mar 10, 2021 at 11:21 AM (Merged)
Avatar
CHAD READ
  • MEMBER
  • 26 POSTS
nevermind just had to prop the the pedal fluid shot out of the right front passenger side strongly. fluid is coming out of all of them now pedal will sink to the floor after sitting a little bit.
Mar 10, 2021 at 11:21 AM (Merged)
Avatar
CHAD READ
  • MEMBER
  • 26 POSTS
pedal is hardening up front brakes arent letting go I did not completely bleed all of the brakes I just made sure fluid was coming out no air shot out I made sure fluid was coming out of the abs module no air came out of it. Is the an ABS valve somewhere on this truck? I dont know exactly where it is I can see anything.
Mar 10, 2021 at 11:21 AM (Merged)
Avatar
CHAD READ
  • MEMBER
  • 26 POSTS
It seems like all the brake pressure is staying at the front alot more pressure on the passenger side than on the right and just a little fluid coming out of the back right and left and I noticed looks like there is a rubber brake hose tin the middle probably need to be replaced. what do you think.
Mar 10, 2021 at 11:21 AM (Merged)
Avatar
CHAD READ
  • MEMBER
  • 26 POSTS
Should I try to get a new valve?
Mar 10, 2021 at 11:21 AM (Merged)
Avatar
JACOBANDNICKOLAS
  • CERTIFIED EXPERT
  • 110,175 POSTS
The valve may be the entire problem. It is what determines pressure to the rear. However, I have to be honest with you, I never saw one cause this. But, if the calipers release when you open the bleeder at the MC, that is my first suspect unless the new master cylinder is bad.

Was the vehicle doing the same thing prior to replacing the MC? If not, there may be an internal issue in the MC. There are two plungers. The one for the rear brakes may be bypassing fluid, causing the rear pressure to be low and causing some kind of build up of fluid which in turn doesn't allow the fronts to release.

Do the front brakes release when you open the bleeder?
Mar 10, 2021 at 11:21 AM (Merged)
Avatar
CHAD READ
  • MEMBER
  • 26 POSTS
No they dont open. Yes if I remember correcly the same thing happened with the MC.
Mar 10, 2021 at 11:21 AM (Merged)
Avatar
JACOBANDNICKOLAS
  • CERTIFIED EXPERT
  • 110,175 POSTS
If they don't release when you open the bleeder on the caliper, the problem is either the caliper piston is stuck or the slide pins are bad or not properly installed.
Mar 10, 2021 at 11:21 AM (Merged)
Avatar
CHAD READ
  • MEMBER
  • 26 POSTS
Well it would have been a good idea to put them on the right way. LOL
Mar 10, 2021 at 11:21 AM (Merged)
Avatar
CHAD READ
  • MEMBER
  • 26 POSTS
okay! now the passenger front brake compresses and lets go the front drivers side is compress and wont let go. what do you suggest I should do next? this would be very helpful.
Mar 10, 2021 at 11:21 AM (Merged)
Avatar
CHAD READ
  • MEMBER
  • 26 POSTS
Now I remember from the beginning the driver's side front brake got really hot from sticking to the rotor so I think I have went back to the beginning of the original problem.
Mar 10, 2021 at 11:21 AM (Merged)
Avatar
CHAD READ
  • MEMBER
  • 26 POSTS
If I could fix this one Brake I think it would solve the problem
Mar 10, 2021 at 11:21 AM (Merged)