Ignition switch connector

2006 CHRYSLER PT CRUISER
120,000 MILES • 2.4L • 4 CYL • 2WD • AUTOMATIC
Advertisement
Avatar
ASEMASTER6371
  • CERTIFIED EXPERT
  • 52,796 POSTS
Dirty fluid from lack of service and the metal is from wearing parts internally. Yes a flow gauge will tell if it is clogged.

Roy
Jul 2, 2018 at 8:36 AM
Avatar
ZEMORZEMOR
  • MEMBER
  • 486 POSTS
When I replaced the fluid it was not bad and on the magnet it was only clutch material. Can I try to flush it with this product; Lubegard Kooler Kleen transmission line flush cleaner (13 OZ) and see?
Jul 2, 2018 at 9:08 AM
Advertisement
Avatar
ASEMASTER6371
  • CERTIFIED EXPERT
  • 52,796 POSTS
No, none of that stuff works. You need an acid flush and under pressure. None of that stuff will break up or dislodge any debris.

Roy
Jul 2, 2018 at 9:16 AM
Avatar
ZEMORZEMOR
  • MEMBER
  • 486 POSTS
Sometimes when turning the ignition key I hear just a glitch. It is like just one crank and stops is when p0882 code comes.
Jul 2, 2018 at 9:41 PM
Avatar
ASEMASTER6371
  • CERTIFIED EXPERT
  • 52,796 POSTS
Did you have the battery load tested? It sounds like low voltage.

Roy

P0882
Item Description
Symptom/DTC P0882
Descriptor
Tcm Power Input Low
Probable Causes
(T15) Transmission Control Circuit Open
(T15) Transmission Control Circuit Shorted to Ground
Powertrain Control Module (PCM)
Related Totally Integrated Power Module (TIPM) DTCs
Jul 3, 2018 at 2:12 AM
Avatar
ZEMORZEMOR
  • MEMBER
  • 486 POSTS
Yes I did. When I turn the ignition key I can hear the fuel pump but with interruption it like electric interruption.
Jul 3, 2018 at 9:19 AM
Avatar
ASEMASTER6371
  • CERTIFIED EXPERT
  • 52,796 POSTS
Interruption?
Jul 3, 2018 at 9:47 AM
Avatar
ZEMORZEMOR
  • MEMBER
  • 486 POSTS
It sounds like bad electricity flow. It is like when you open and close switch rapidly.
Jul 3, 2018 at 12:15 PM
Avatar
ASEMASTER6371
  • CERTIFIED EXPERT
  • 52,796 POSTS
That is either a low voltage issue as I stated before or a connection problem.

Roy
Jul 3, 2018 at 12:56 PM
Avatar
ZEMORZEMOR
  • MEMBER
  • 486 POSTS
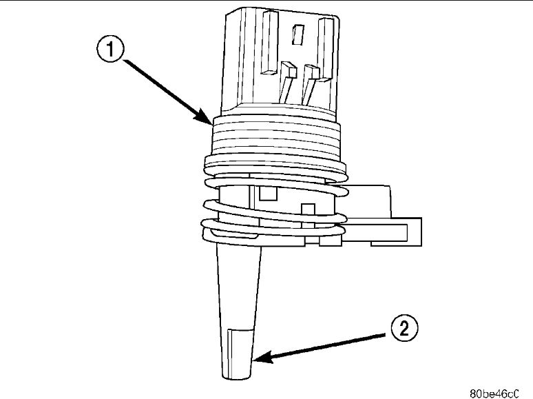
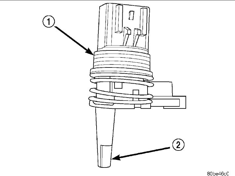
Is the range sensor and transmission temperature sensor share the same connector? Can you tell me where the transmission temperature sensor connector is at?
Jul 5, 2018 at 8:08 AM
Avatar
ASEMASTER6371
  • CERTIFIED EXPERT
  • 52,796 POSTS
The temperature sensor is part of the range sensor.

Yes, they share the same connector.

Number two in the picture. The rest is the range sensor.

Roy
Jul 5, 2018 at 8:17 AM
Avatar
ZEMORZEMOR
  • MEMBER
  • 486 POSTS
How many pins the connector has and which ones are for the temperature sensor?
Jul 5, 2018 at 8:19 AM
Avatar
ASEMASTER6371
  • CERTIFIED EXPERT
  • 52,796 POSTS
Diagram attached of the connector and pins.

If you have a scan tool, you can read the actual temp through the scan tool to see if it is working

Roy
Jul 5, 2018 at 8:24 AM
Avatar
ZEMORZEMOR
  • MEMBER
  • 486 POSTS
I have a code reader but does not show the transmission temperature. I want to check resistance of the sensor so number four is temperature signal wire and they both sensor shares a ground right?
Jul 5, 2018 at 8:30 AM
Avatar
ASEMASTER6371
  • CERTIFIED EXPERT
  • 52,796 POSTS
Code reader is not a scan tool.

Check the resistance from the terminal to a good ground. since it is a temperature sensor, it will vary according to temperature.

There is no chart for resistance according to temp that I can find. thats why you need a scan tool to monitor the actual reading and compare to the temp of the fluid with a lazer temp unit.

Roy

Transmission temperature sensor:
The TRS has an integrated thermistor that the PCM/TCM uses to monitor the transmission's sump temperature. Since fluid temperature can affect transmission shift quality and convertor lock up, the PCM/TCM requires this information to determine which shift schedule to operate in. The PCM/ also monitors this temperature data so it can energize the vehicle cooling fan(s) when a transmission overheat condition exists. If the thermistor circuit fails, the PCM/TCM will revert to calculated oil temperature usage.

Calculated temperature:
A failure in the temperature sensor or circuit will result in calculated temperature being substituted for actual temperature. Calculated temperature is a predicted fluid temperature which is calculated from a combination of inputs:
- Battery (ambient) temperature
- Engine coolant temperature
- In-gear run time since start-up
Jul 5, 2018 at 8:34 AM
Avatar
ZEMORZEMOR
  • MEMBER
  • 486 POSTS
I thinking there is a problem either at the sensor or its connector, because when code p0882 shows up all the gears P N R 3 2 1 on the dashboard are selected.
Jul 5, 2018 at 9:05 AM
Avatar
ASEMASTER6371
  • CERTIFIED EXPERT
  • 52,796 POSTS
Very possible. Wiggle the connector outside the transmission and see if you can recreate the issue.

Roy
Jul 5, 2018 at 9:08 AM
Avatar
ZEMORZEMOR
  • MEMBER
  • 486 POSTS
What about measuring voltage instead of resistance? I will t pin the temperature sensor wire and the voltage should rise when temperature rise right?
Jul 5, 2018 at 9:22 AM
Avatar
ASEMASTER6371
  • CERTIFIED EXPERT
  • 52,796 POSTS
A sensor work on 5 volts. The PCM will monitor that voltage as the sensor will create a resistance to ground. That is what the PCM looks at.

A voltmeter reading is not a test for this.

That is why you need a scan tool.

Roy
Jul 5, 2018 at 9:28 AM
Avatar
ZEMORZEMOR
  • MEMBER
  • 486 POSTS
When all gears are selected on dashboard or the P N R 3 2 1 disappear what does it means?
Jul 6, 2018 at 8:20 AM
Avatar
ASEMASTER6371
  • CERTIFIED EXPERT
  • 52,796 POSTS
That sensor may be the issue if the connector is okay with no damaged pins or wires.

Roy
Jul 6, 2018 at 9:37 AM
Avatar
ZEMORZEMOR
  • MEMBER
  • 486 POSTS
I have new code today.
P0884 – Transmission control module (TCM) -power input signal intermittent malfunction.

Jul 7, 2018 at 10:15 AM
Avatar
ASEMASTER6371
  • CERTIFIED EXPERT
  • 52,796 POSTS
Did you replace the sensor yet?

Roy

884

P0884
Item Description
Symptom/DTC P0884
Descriptor
Power Up At Speed
Probable Causes
Intermittent Power and Ground Circuits

P0884-POWER UP AT SPEED

When Monitored:
One time after each controller reset. Note: the Transmission Control Module is integrated with Powertrain Control Module. The Transmission Control Module has separate powers and grounds specifically to its portion of the PCM.

Set Condition
This DTC will set if the PCM powers up and senses the vehicle in a valid forward gear (no PRNDL DTCs) with a output speed above 800 RPM, approximately 32Km/h or 20 MPH.

Possible Causes
- INTERMITTENT POWER AND GROUND CIRCUITS

Always perform the 40/41TE Pre-Diagnostic Troubleshooting procedure before proceeding.

Theory of Operation
If a vehicle loses power to the PCM, the vehicle will go to the 2nd gear mode since there is no power available to control the transmission solenoids. However if power is restored, the PCM will power-up and normal operation will be restored. This DTC identifies that power to the PCM was restored when the gear selector was in a Drive position while the vehicle was moving at speeds above 32 Km/h (20 MPH). If a customer shifts to Neutral and cycles the ignition key and quickly shifts to Drive while moving before the PCM comes out of its START ROUTINE, the DTC can be set. Therefore it is critical that this DTC diagnosis repair procedure should only be used if the vehicle is experiencing intermittent 2nd gear operation and subsequently a return to normal operation during normal driving. The transmission will not be placed in Limp-in. This is an informational DTC to be used when attempting to diagnose an intermittent 2nd gear operation and subsequent return to normal transmission operation.

Diagnostic Test
1. CHECK THE POWER AND GROUND CIRCUITS
This DTC is set when the PCM is initialized while the vehicle is moving in a valid forward gear. This is usually caused by a momentary loss of power to the Transmission portion of the PCM.

CAUTION: Do not probe the PCM harness connectors. Probing the PCM harness connectors will damage the PCM terminals resulting in poor terminal to pin connection. Install Miller Special Tool #8815 to perform diagnosis.

NOTE: Due to the integration of the Powertrain and Transmission Control Modules, the transmission part of the PCM has its own specific power and ground circuits.

Check all of the Fused B+, Fused Ignition Switch Output, and Ground circuits related to the PCM for an intermittent open or short to ground.
Perform a wiggle test on all wiring and connectors pertaining to the PCM while looking for shorted or open circuits.
With the scan tool, check the DTC EVENT DATA to help identify the conditions in which the DTC was set.
If there are no possible causes remaining, view repair.
Repair
Repair as necessary
Perform 40/41TE VERIFICATION TEST - VER 1 See: A L L Diagnostic Trouble Codes ( DTC ) > Verification Tests > 40/41TE Transmission Verification Test
Jul 7, 2018 at 12:19 PM
Avatar
ZEMORZEMOR
  • MEMBER
  • 486 POSTS
Also, when I turn the key to run positions. The battery light comes on and off and the temperature gauge goes up and down and I hear relay clicking. I think it is the auto shut down relay. I got a TIPM from the junk yard, can I just plug it in and see?
Jul 7, 2018 at 1:01 PM
Avatar
ASEMASTER6371
  • CERTIFIED EXPERT
  • 52,796 POSTS
No, it has to be programmed to your car. It is actually a module.

Roy
Jul 7, 2018 at 1:50 PM
Avatar
ZEMORZEMOR
  • MEMBER
  • 486 POSTS
I do not understand why when I disconnect the negative battery the car shift fine it is like nothing happen. The TIPM has no mechanical relay they are electronics. Can they fail intermittently? Because I checked the control voltage and load voltage they are fine.
Jul 7, 2018 at 3:25 PM
Avatar
ASEMASTER6371
  • CERTIFIED EXPERT
  • 52,796 POSTS
The fault that is set , the PCM goes to a default mode. That means it just forgets the issue when you disconnect the negative cable. It does not fix anything or restore settings. That is a myth.

When the fault sets again, then it goes into default and the same issue happens.

The TIPM has internal relays not accessible to anyone.

Roy
Jul 7, 2018 at 3:31 PM
Avatar
ZEMORZEMOR
  • MEMBER
  • 486 POSTS
Can the electronic relays fail intermittently?
Jul 7, 2018 at 3:38 PM
Avatar
ASEMASTER6371
  • CERTIFIED EXPERT
  • 52,796 POSTS
Yes, they can, just like any other relay or component.

Roy
Jul 7, 2018 at 3:41 PM
Avatar
ZEMORZEMOR
  • MEMBER
  • 486 POSTS
So I need to check the relay output voltage when the car is in limp in mode.
Jul 7, 2018 at 3:43 PM
Avatar
ZEMORZEMOR
  • MEMBER
  • 486 POSTS
Check this video same problem I have .
https://www.youtube.com/watch?v=MmklJYMxO-8
Jul 7, 2018 at 3:45 PM
Avatar
ASEMASTER6371
  • CERTIFIED EXPERT
  • 52,796 POSTS
No, when the fault is set, the PCM takes over all the controls until the repairs are made and the code cleared.

If you want to monitor the controls you need an advanced scan tool that can access the transmission live data and see what the voltages are at the sensors and solenoids.

Jul 7, 2018 at 3:46 PM
Avatar
ZEMORZEMOR
  • MEMBER
  • 486 POSTS
The guy in the video said he got one from junk yard and he just plugged it in?
Jul 7, 2018 at 4:11 PM
Avatar
ZEMORZEMOR
  • MEMBER
  • 486 POSTS
So when the computer see no return voltage it will not send voltage to control the relay right?
So what can causes low return voltage is short to ground? Bad connections and open right?
Jul 7, 2018 at 5:10 PM
Avatar
ZEMORZEMOR
  • MEMBER
  • 486 POSTS
Today I have p1603 and U0101 codes.
Jul 8, 2018 at 10:06 AM
Avatar
ASEMASTER6371
  • CERTIFIED EXPERT
  • 52,796 POSTS
Sorry, was traveling today.

Did you replace it?

Is that our video?

Voltage can either be controlled by sending or monitoring the return voltage. The TIPM is a muti control module.

Roy
Jul 8, 2018 at 11:57 AM
Avatar
ZEMORZEMOR
  • MEMBER
  • 486 POSTS
No, I did not replace the TIPM. Today I cleaned all connector going to the transmission I wiggled the transmission range sensor/temperature sensor no codes after I T pined the solenoid pack connector red wire when the car shifting there is 14.0 volts when it is not 35mv. Also, two codes showed up p01603 and U0101.

Just let you know I appreciate your help I wish I can meet you and shake your hand.

Thank you.
Jul 8, 2018 at 12:17 PM
Avatar
ASEMASTER6371
  • CERTIFIED EXPERT
  • 52,796 POSTS
You are welcome. Glad to help.

If you look at the possibilities for the U101, one of the possibles is the TIPM mis-configuration. My confirmation that it is programmed module.

Roy

1603

P1603
Item Description
Symptom/DTC P1603
Descriptor
Pcm Internal Dual-Port Ram Communication Failure
Probable Causes
Powertrain Control Module (PCM) Fused Ignition Switch Circuit
Powertrain Control Module (PCM) Internal

u101

U0101
Item Description
Symptom/DTC U0101
Descriptor
Lost Communication With Tcm
Probable Causes
Controller Area Network (CAN) B or CAN C Bus Circuits Open or Shorted
Controller Area Network (CAN) C Bus Failure Open or Shorted Condition
DTCs Related to Battery Voltage, Ignition, or VIN Messages
Module That Set This DTC
Powertrain Control Module (PCM)
Totally Integrated Power Module (TIPM) Misconfigured
Transmission Control Module (TCM) (Powertrain Control Module)
Transmission Control Module (TCM) Power and Ground
Jul 8, 2018 at 12:32 PM
Avatar
ZEMORZEMOR
  • MEMBER
  • 486 POSTS
For the p1603 one possibility is power-train control module (PCM) fused ignition switch circuit.
I looked at the PCM pinout diagram there is pin 11 it gets power from the ignition switch and pin 30 gets power from the TIPM. Can you confirm it please?

Jul 8, 2018 at 12:48 PM
Avatar
ASEMASTER6371
  • CERTIFIED EXPERT
  • 52,796 POSTS
Yes, verify those two powers.

Roy
Jul 8, 2018 at 12:58 PM