stuck on defrost why?

2014 CHEVROLET SILVERADO
118,500 MILES • 0.5L • V8 • 4WD • AUTOMATIC
Advertisement
Avatar
STRAILER
  • CERTIFIED EXPERT
  • 53,854 POSTS
Hello Debbie

Here is a great guide that will show you where the actuator is and how to change it:

https://www.2carpros.com/articles/replace-blend-door-motor

Please let us know what happens.

Cheers, Ken

Apr 30, 2021 at 11:27 AM (Merged)
Avatar
BEPARKER
  • MEMBER
  • 1 POST
Air blows through defrost at the windshield and rear cabin vent.
Apr 30, 2021 at 11:27 AM (Merged)
Advertisement
Avatar
ASEMASTER6371
  • CERTIFIED EXPERT
  • 52,796 POSTS
Good morning.

It sounds like the mode door actuator may not be working. These actuators are common failures.

Roy

https://www.2carpros.com/articles/replace-blend-door-motor

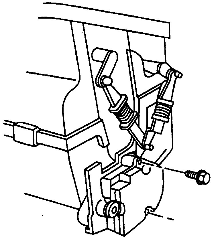
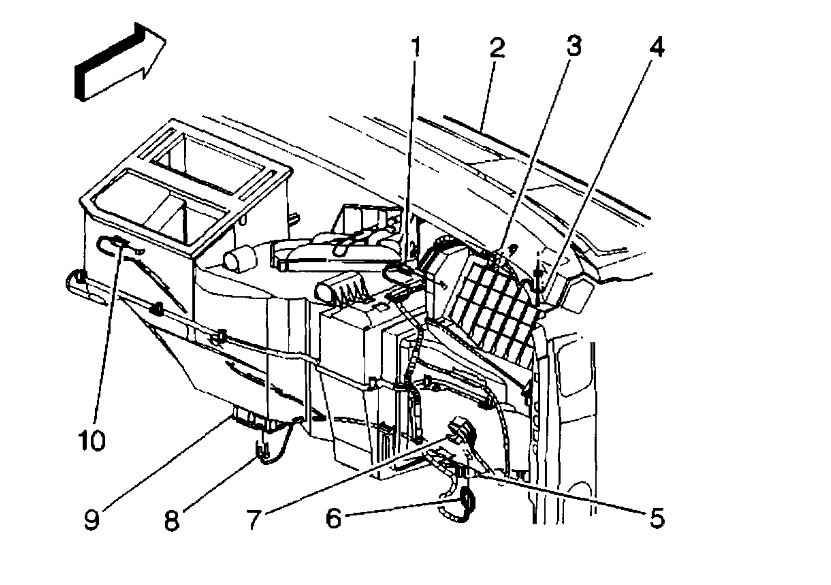
REMOVAL PROCEDURE


imageZoom/Print

1. Remove the floor air outlet duct extension (1) from the floor duct (2).


imageZoom/Print

2. Disconnect the electrical connection at the mode actuator (10).


imageZoom/Print

3. Remove the mode actuator mounting screws from the HVAC module.
4. Remove the mode actuator as an assembly with the actuator cam.
Apr 30, 2021 at 11:27 AM (Merged)
Avatar
ASEMASTER6371
  • CERTIFIED EXPERT
  • 52,796 POSTS
Any update on the actuator?

Roy
Apr 30, 2021 at 11:27 AM (Merged)
Avatar
TAMMY LAWSON
  • MEMBER
  • 1 POST
Found bad actuator on drivers side. After replacement, air only in top vents now. No movement with white gear anymore.
Apr 30, 2021 at 11:27 AM (Merged)
Avatar
STRAILER
  • CERTIFIED EXPERT
  • 53,854 POSTS
Hello,

It sounds like something happened in the installation. Can you remove the actuator and then plug it back in with it unbolted start he car and work the controls to see if it moves? Also, check the air door by moving it by hand.

Here is a guide that can help you.

https://www.2carpros.com/articles/replace-blend-door-motor

Please let us know what happens.

Cheers, Ken
Apr 30, 2021 at 11:27 AM (Merged)
Avatar
MADISONLITTLE54
  • MEMBER
  • 1 POST
I changed the blend door motor but that did not fix it. The heat and air will blow out defrost but not the vents and I do not know what to do.
Apr 30, 2021 at 11:27 AM (Merged)
Avatar
ASEMASTER6371
  • CERTIFIED EXPERT
  • 52,796 POSTS
Good morning.

The reason for that is you replaced the wrong actuator. There is one for the blend door for cool and heat and another for the mode door operation.

Roy

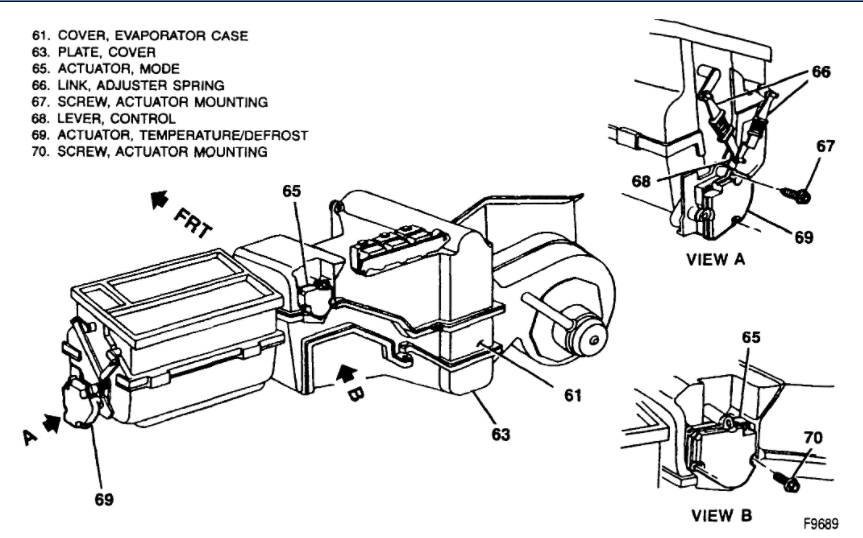
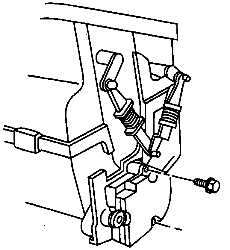
REMOVAL PROCEDURE

CAUTION: Refer to Battery Disconnect Caution in Cautions and Notices.

1. Disconnect the negative battery cable.
2. Disconnect the electrical connector to the mode actuator that is located on the left side of the air distribution case.
3. Remove the screws.
4. Remove the adjuster links from the control lever.
5. Remove the mode actuator.
6. Adjust the mode actuator by completing the following steps:
6.1.Connect the electrical connector to the actuator.
6.2.Turn the ignition switch to the RUN position. Allow the self-positioning of the actuator.
6.3.Turn the ignition switch to the OFF position.
6.4.Remove the actuator from the electrical connection.

INSTALLATION PROCEDURE
1. Install the mode actuator.
2. Install the screws.
3. Install the adjuster links to the control lever.
4. Connect the electrical connector.
5. Connect the negative battery cable.
6. Test the circuit operation.
Apr 30, 2021 at 11:27 AM (Merged)
Avatar
WINSKINS
  • MEMBER
  • 1 POST
When I turned the dial on the dash to defrost, little to no air came out of the vents on top. Air was blowing out of the vents on the bottom toward the floorboard. This was a real problem since we had freezing rain this morning. When I turn the dial, it sounds like the air is being re-directed but it doesn't work. Is there any way this can be fixed without having to spend a lot of money to have the dash removed?
Apr 30, 2021 at 11:27 AM (Merged)
Avatar
JACOBANDNICKOLAS
  • CERTIFIED EXPERT
  • 110,175 POSTS
Hi,

Chances are the problem is related to what is called a mode door actuator. The mode door is what directs air flow. Often times, you will hear a ticking or clicking sound from them when they fail. There is a plastic gear in them and the teeth can break preventing from fully functioning.

______________________

What I suggest is to remove and inspect it. See if it moves when you switch air flow direction. If you find it is bad, here are the directions for replacement. The attached pics correlate with the directions.

_____________________

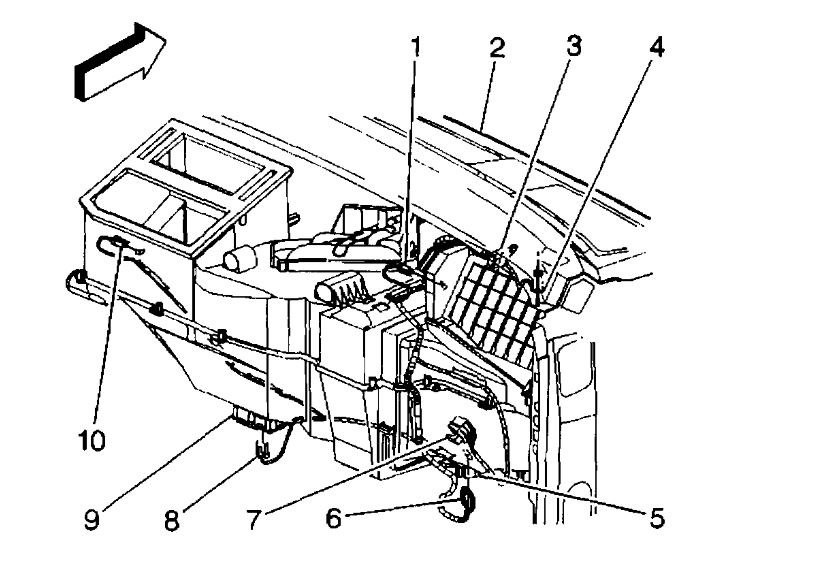
1997 Chevy Truck K 1500 Truck 4WD V8-5.7L VIN R
Mode Actuator
Vehicle Heating and Air Conditioning Air Door Actuator / Motor Service and Repair Procedures With Air Conditioner Only Mode Actuator
MODE ACTUATOR
Mode Actuator Location

Pic 1

Mode Actuator Replacement

Pic 2



Remove or Disconnect
1. Negative battery cable.
2. Electrical connector.
3. Screws.
4. Adjuster links from control lever.
5. Mode actuator.

Adjust
A. Electrical connector to the actuator.
B. Turn the ignition key to the run position and let the actuator position itself.
C. Turn off the ignition key.
D. Remove the actuator from the electrical connection.

Install or Connect
1. Mode actuator.
2. Screws.
3. Adjuster links to control lever.
4. Electrical connector.
5. Negative battery cable.

- Check circuit operation.

Let me know if this helps or if you have other questions.

Take care,
Joe
Apr 30, 2021 at 11:27 AM (Merged)
Avatar
CARLOS ORTEGA
  • MEMBER
  • 8 POSTS
From my research I believe I need the blend door actuator located below the steering on the end of the unit. I have the part. Is that the only actuator that I have to worry about on this year truck? Also, I have the clicking noise from the right side of cab which is common on these trucks, what is that unit called? Also, where can I download the diagrams for the complete A/C heating unit for this year? Also, I'm looking for a 1990's truck club group, anyone know? Thanks.
Apr 30, 2021 at 11:27 AM (Merged)
Avatar
DANNY L
  • CERTIFIED EXPERT
  • 5,648 POSTS
Hello, I'm Danny.

Yes, it sounds like you are having an issue with the temperature-defrost actuator. Here is a tutorial showing how to change a blend door actuator which is similar:

https://www.2carpros.com/articles/replace-blend-door-motor

I've attached picture steps below on how to change the temp-defrost actuator for your truck. I've owned 2 K1550's myself a 1997 and a 1989. Attached my pictures below for you. If you are on Facebook there is a group-site for us. Here is the group name-
GMT400.com (88-98 GM full size trucks) Let us know if you have any further questions on this issue. Hope this helps and thanks for using 2CarPros. Happy New Year.


Apr 30, 2021 at 11:27 AM (Merged)
Avatar
CARLOS ORTEGA
  • MEMBER
  • 8 POSTS
Great! Thanks, the tutorial was a little different since mine is in a different spot but same concept. The only question I have is, it says to turn ignition key on to run position and let the actuator position itself, then turn off. Does this happen without the A/C turned on? Or does it need to be on? Thanks! I have the part, I just want to make sure I do it right with no problems.
Apr 30, 2021 at 11:27 AM (Merged)
Avatar
DANNY L
  • CERTIFIED EXPERT
  • 5,648 POSTS
Hello again.

I would leave the A/C off but the defrost on so the actuator can position itself. Keep us updated after the install if you have any further questions on this issue. Did you find the Facebook site I recommended? Hope this helps and thanks again for using 2CarPros.

Danny-
Apr 30, 2021 at 11:28 AM (Merged)
Avatar
CARLOS ORTEGA
  • MEMBER
  • 8 POSTS
Thanks! Yes, I found the f/b page but I haven’t been accepted by the admin yet.

Thanks again,
Carlos
Apr 30, 2021 at 11:28 AM (Merged)
Avatar
DANNY L
  • CERTIFIED EXPERT
  • 5,648 POSTS
You're welcome!

Let us know how the actuator repair turns out. Thanks again for using 2CarPros and we hope you will use our site again in the future.

Danny-
Apr 30, 2021 at 11:28 AM (Merged)
Avatar
CARLOS ORTEGA
  • MEMBER
  • 8 POSTS
Thanks I will let you know after I get it done!
Apr 30, 2021 at 11:28 AM (Merged)
Avatar
CARLOS ORTEGA
  • MEMBER
  • 8 POSTS
I have one more question on this 94. I have changed my temperature sensor on the top of the block in front of the thermostat but I believe I have an issue with the "coolant temperature sending unit" that is located on the side of the block between the #1 and #3 plugs, is this what that is called? And I cannot seem to find the part by calling it that. I have watched several videos and that is what it is being called and I cannot find it in my Haynes book. What is that part called? Thanks again!

Carlos
Apr 30, 2021 at 11:28 AM (Merged)
Avatar
DANNY L
  • CERTIFIED EXPERT
  • 5,648 POSTS
Hello again.

Since this reply came out as a new question I answered in your latest post about the cylinder head auxiliary temperature sensor. Thanks again for using 2CarPros.

Danny-
Apr 30, 2021 at 11:28 AM (Merged)
Avatar
CARLOS ORTEGA
  • MEMBER
  • 8 POSTS
Thanks again. I found your answer one time and went back and looked for it again to get the picture off of it and I can't find it? Do you know where I can find the answer you gave earlier?
Apr 30, 2021 at 11:28 AM (Merged)
Avatar
DANNY L
  • CERTIFIED EXPERT
  • 5,648 POSTS
Hello again.
What answer are you looking for ?

Danny-
Apr 30, 2021 at 11:28 AM (Merged)