Jul 21, 2020 at 2:06 PM
(Merged)
Serpentine Belt Replacement?
2006 KIA SPECTRA
Advertisement
How do I change the A/C belt? Where are the main bolts/Screws?
Does your vehicle have a seperate belt for the AC or is it a one belt system?
Jul 21, 2020 at 2:06 PM
(Merged)
Advertisement
My idiot friend pulled his alternator when the battery was the problem in the 2002 Kia spectra he just sold me. When he installed the alternator, he did not mount it correctly and when he put the old belt back on (which I suggested he replace at the time) there was some squealing with the belt. He tightened the belt using a socket on the long bolt on top of alternator. The belt wouldn't seem to properly tighten so he kept tightening the bolt until it snapped while driving on highway. I now need to replace the belt. What do I need hardware/part/tool-wise, where can I obtain these, and is there any other advice you can offer that will be helpful? I want to make sure the new belt stays tight so I don't end up stranded again due to ignorance
Jul 21, 2020 at 2:06 PM
(Merged)
your best bet will be a junk yard probably. you can also go to dealer but hard telling how long and what price you would pay. check with an autoparts theymayhave it as well but i kind of doubt it. an old belt requires 86-104 lbs using a belt gauge.
Jul 21, 2020 at 2:06 PM
(Merged)
How do I change the alternator belt and fly wheel belt. I have loosen the screws which I thought were the tensioners on both and the tension remains the same. Am I missing something; NEED HELP.
Jul 21, 2020 at 2:06 PM
(Merged)
GENERATOR
Removal & Installation
Disconnect negative battery cable. Remove air cleaner assembly, if necessary. Disconnect all 3 generator terminals. Loosen pivot bolt, tensioner bolt, and adjusting bolt to remove drive belt. Remove mounting bolts and lift out generator. To install, reverse removal procedure. Tighten all bolts and nuts to specification. See TORQUE SPECIFICATIONS .
Removal & Installation
Disconnect negative battery cable. Remove air cleaner assembly, if necessary. Disconnect all 3 generator terminals. Loosen pivot bolt, tensioner bolt, and adjusting bolt to remove drive belt. Remove mounting bolts and lift out generator. To install, reverse removal procedure. Tighten all bolts and nuts to specification. See TORQUE SPECIFICATIONS .
Jul 21, 2020 at 2:06 PM
(Merged)
2003 Kia Spectra 4 cyl Two Wheel Drive Automatic
Need to know how to remove the power steering belt in order to replace the alternator belt. Can you help me?
Need to know how to remove the power steering belt in order to replace the alternator belt. Can you help me?
Jul 21, 2020 at 2:07 PM
(Merged)
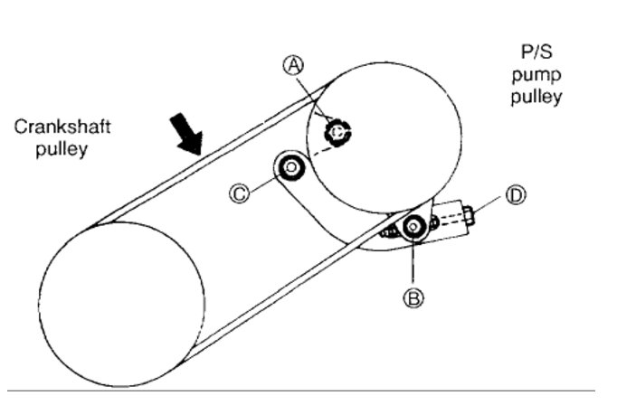
Hey LYNN
I found this diagram for you and instructions,
Loosen pivot bolt (A), bracket nut (C), and locknut (B).
Turn adjusting bolt (D) to release belt tension.
Remove belt.
Install a new drive belt and adjust deflection.
Remove A/C and P/S drive belt, if equipped.
NOTE: Refer to section 11.
Loosen generator mounting bolt and adjusting bolt.
Remove generator belt.
Install new generator belt and adjust to specification.
Tighten all bolts to specified torque.
Tightening torque Mounting bolt: 27 - 38 lb.ft (37 - 52 N.m, 3.8 - 5.3 kg.m)
Adjusting bolt: 14 - 18 lb.ft (19 - 26 N.m, 1.9 - 2.6 kg.m)
Install A/C and P/S drive belt, if equipped, and adjust to specification.
https://www.2carpros.com/articles/replace-serpentine-belt
Please let me know if you need anything else.
Best, Ken
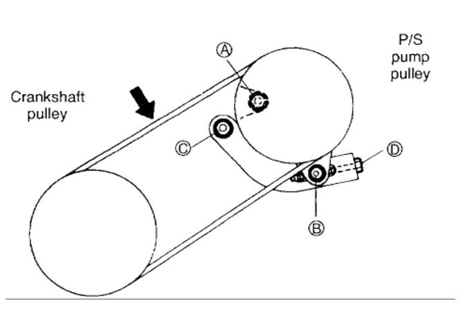
I found this diagram for you and instructions,
Loosen pivot bolt (A), bracket nut (C), and locknut (B).
Turn adjusting bolt (D) to release belt tension.
Remove belt.
Install a new drive belt and adjust deflection.
Remove A/C and P/S drive belt, if equipped.
NOTE: Refer to section 11.
Loosen generator mounting bolt and adjusting bolt.
Remove generator belt.
Install new generator belt and adjust to specification.
Tighten all bolts to specified torque.
Tightening torque Mounting bolt: 27 - 38 lb.ft (37 - 52 N.m, 3.8 - 5.3 kg.m)
Adjusting bolt: 14 - 18 lb.ft (19 - 26 N.m, 1.9 - 2.6 kg.m)
Install A/C and P/S drive belt, if equipped, and adjust to specification.
https://www.2carpros.com/articles/replace-serpentine-belt
Please let me know if you need anything else.
Best, Ken
Jul 21, 2020 at 2:07 PM
(Merged)


