Why my heater isn't working?

2002 FORD F-150
170,000 MILES • V8 • 4WD • AUTOMATIC
Avatar
NOLES
  • MEMBER
  • 2 POSTS
I have a 2002 Ford f150 4x4 , 5.4 triton eng. I have change thermostat but still no heat. If I turn fan and heat off it will build pressure and i will have a little, but if i turn fan past 2nd speed it cools down. WHen I have drove for a while and shut engine off you can hear pressure release. I have not found any leaks or water in garage.
Jan 26, 2011 at 1:27 AM
Advertisement
Avatar
WRENCHTECH
  • CERTIFIED EXPERT
  • 20,761 POSTS
With the engine at full operating temp, locate the 2 heater hoses where they go into the firewall and feel them to see if they are both hot to the touch. If not too hot to hold, then you have to look at the actual engine temp and if that is up, if it is, then your looking at a restricted heater core. If you find that they are both too hot to hold, then the heat in that vehicle is controlled by a blend door that regulates heated air flow. it is operated by an electric motor/actuator. The problem can be that the actuator is stripped or inoperative or the door itself could be damaged. This is what needs to be determined by examining the actuator and see if it is responding to heat change commands or not.

This sounds like you have low engine coolant or the temperature blend door actuator stopped working but to but sure this video and guide can help us fix it.

https://youtu.be/SNRb6pSwYuU

and if the temperature blend door needs replacement here is a guide that can help with diagrams below to show you on your car.

https://www.2carpros.com/articles/replace-blend-door-motor

This guide can help as well

https://www.2carpros.com/articles/car-heater-not-working

Check out the diagrams (Below). Let us know what happens and please upload pictures or videos of the problem.

If they are both not too hot to hold on to, then you either have a restricted heater core or the system is not completely full and getting air pockets for some reason.
Jan 26, 2011 at 2:05 AM
Avatar
NOLES
  • MEMBER
  • 2 POSTS
Thank you for your time and help deeply appreciated.
Jan 26, 2011 at 2:50 AM
Advertisement
Avatar
WRENCHTECH
  • CERTIFIED EXPERT
  • 20,761 POSTS
You're welcome
Jan 26, 2011 at 2:51 AM
Avatar
DOGPER
  • MEMBER
  • 1 POST
Heater blows cold to start with then starts blowing hot at the same time the hoses going to heater core are getting hot when blowing hot and cold when blowing cold. Have put new thermostat, heater core and water pump, still doing the same thing. Even after the truck is warmed up it still does the same thing; blows hot the hoses are hot and then it will start blowing cold and the hoses are cold when it starts blowing cold. the temperature gauge shoots up about 3/4 of the way and starts to drop back down when it starts blowing hot.
Apr 15, 2021 at 1:45 PM (Merged)
Avatar
KASEKENNY
  • CERTIFIED EXPERT
  • 18,907 POSTS
Just to clarify the issue, when you start the vehicle and turn the heat on, the hoses going to the heater core are cold and the air blows cold. Then when the hoses get hot, the heater blows hot?

I am not sure I understand because that is normal. The coolant has to be heated by the engine before the air that is blown across it is heated.

Seems like this is not what your issue is so if you could clarify it, that would be great.

However, here is a guide that will help with heater issues in case it covers your issue:

https://youtu.be/SNRb6pSwYuU
Apr 15, 2021 at 1:45 PM (Merged)
Avatar
DOGPER
  • MEMBER
  • 1 POST
I guess it wasn’t understood. I updated the question so maybe it would be understandable.
Apr 15, 2021 at 1:45 PM (Merged)
Avatar
KASEKENNY
  • CERTIFIED EXPERT
  • 18,907 POSTS
Okay. Thanks. I think I understand. So to summarize when the engine heats up, the heater hoses go cold then hot, then cold and the heat in the vehicle follows this? This all happens even through the engine is hot?

If this is the case, I suspect you have air pockets in the cooling system. So when those air pockets go through you lose heat because you have air going through the heater core and not hot coolant.

Let's start with a pressure test to make sure you don't have any leaks. Here is a guide that tells you how to do that:

https://www.2carpros.com/articles/radiator-pressure-test

Then if there are no leaks we need to flush and refill the cooling system just to make sure it is clean and full. Here is a guide for that as well:

https://www.2carpros.com/articles/coolant-flush-and-refill-all-cars
Apr 15, 2021 at 1:45 PM (Merged)
Avatar
MITCH WILLIAMS
  • MEMBER
  • 1 POST
I need to know where the heater switchs from ac to heat my heater hoses are not warm and my heater blows cold air I have a new t-stat and enough water my ac was blowing cold air while calling for heat and my dampers are working it will switch from defrost to floor on the vents whats wrong with my heater in my truck
Apr 15, 2021 at 1:45 PM (Merged)
Avatar
HMAC300
  • CERTIFIED EXPERT
  • 48,601 POSTS
check coolant level first if it is full then you may need a thermostat. low coolant is biggest problem with no heat which means you have a leak someplace. This sounds like you have low engine coolant or the temperature blend door actuator stopped working but to but sure this video and guide can help us fix it.

https://youtu.be/SNRb6pSwYuU

and if the temperature blend door needs replacement here is a guide that can help with diagrams below to show you on your car.

https://www.2carpros.com/articles/replace-blend-door-motor

This guide can help as well

https://www.2carpros.com/articles/car-heater-not-working

Check out the diagrams (Below). Let us know what happens and please upload pictures or videos of the problem.
Apr 15, 2021 at 1:45 PM (Merged)
Avatar
JOKERSMA
  • MEMBER
  • 9 POSTS
the heater stopped working. It blows cold air out, but never gets warm, could it be something other than the heater core?
Apr 15, 2021 at 1:45 PM (Merged)
Avatar
MERLIN2021
  • CERTIFIED EXPERT
  • 17,250 POSTS
It sounds like you have a temperature blend door actuator that has gone out. Here is a guide to help walk you through the steps with diagrams below so you can see how to do the job on your truck:

https://www.2carpros.com/articles/replace-blend-door-motor

Here is a guide for a general heater not working problems:

https://www.2carpros.com/articles/car-heater-not-working

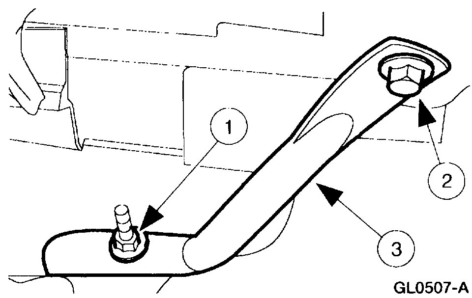
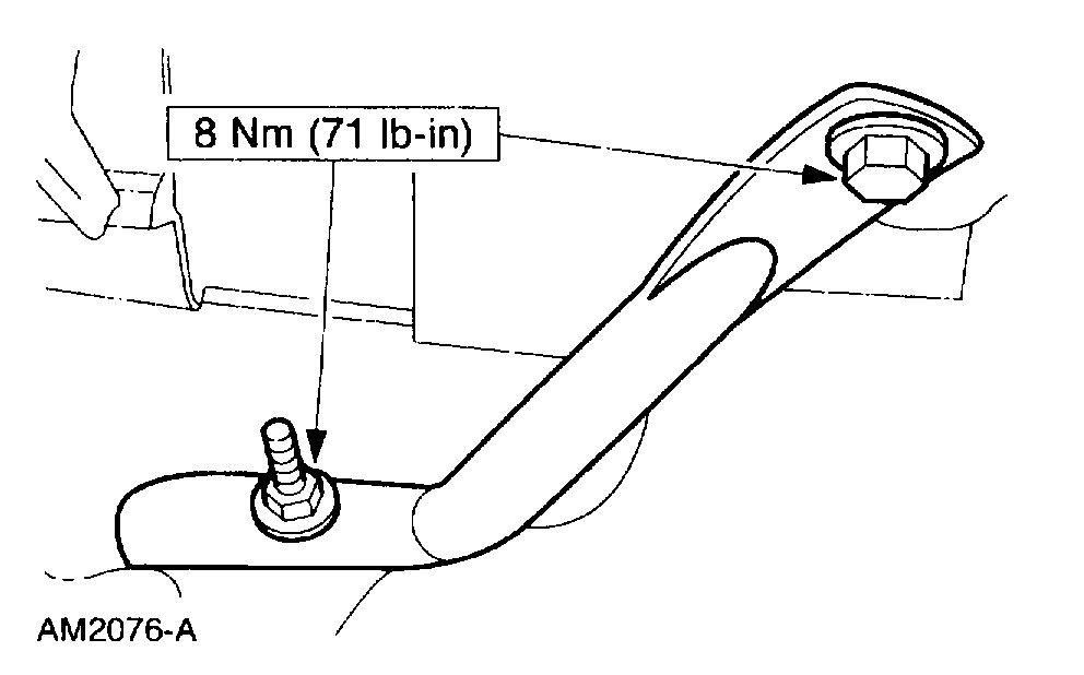
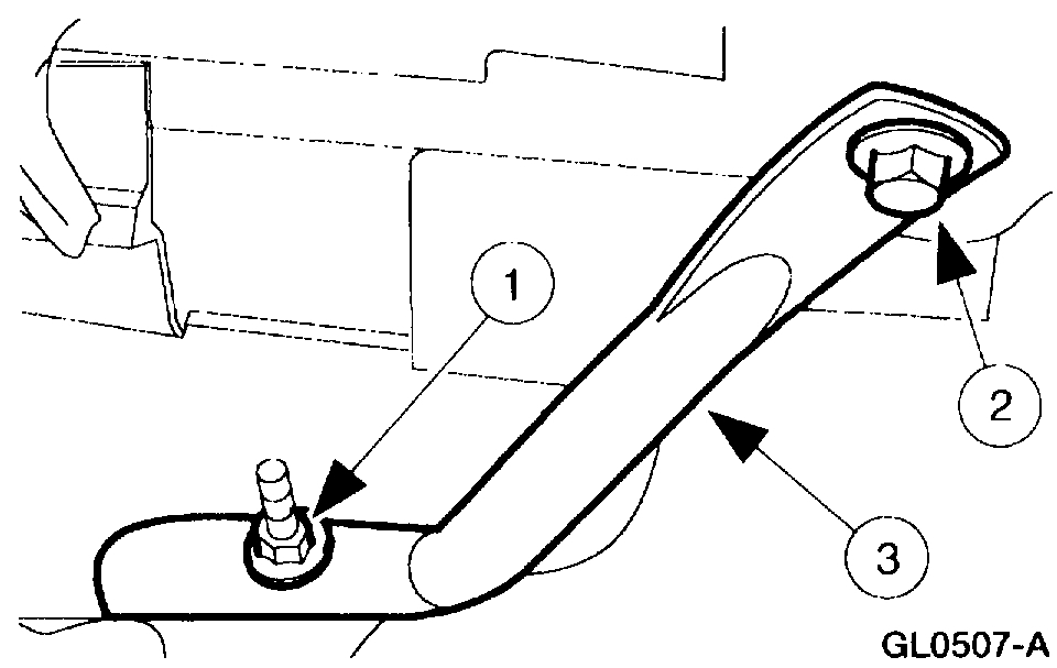
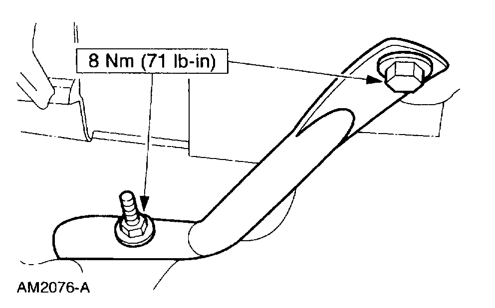
Here is a blend door actuator on your car (below) Also check the vacuum line from the engine to the firewall (small) to see if if its broken. Check for vacuum at the actuator line. Please let us know what happens.

Apr 15, 2021 at 1:45 PM (Merged)
Avatar
JOKERSMA
  • MEMBER
  • 9 POSTS
Can it be the blend door actuator? How do I test it?
Apr 15, 2021 at 1:45 PM (Merged)
Avatar
MERLIN2021
  • CERTIFIED EXPERT
  • 17,250 POSTS
Blend door and the blend door actuator are located on the heater case (plenum).

More information

Test: no operation in all temperature settings:
Start engine and bring to normal operating temperature. Turn blower motor switch to LO position.

Turn mode selector switch to PANEL position (MAX A/C position, if A/C
equipped). Turn temperature control to full COOL position and check for cool air
discharge. Turn temperature control to full WARM position and check for warm air
discharge. Rotate temperature control from full WARM position to full COOL
position. If air temperature does not change, go to next step. If air temperature changes, system is operating properly at this time.

Turn ignition off. Remove fuse No. 5 (15-amp), located in Central Junction Box (CJB).
Check fuse condition. If fuse is okay, go to step 4 . If fuse is blown, replace fuse and recheck system operation. If fuse blows again, go to next step.

Ensure ignition switch is off. Disconnect electronic blend door actuator 8-pin harness
connector C229. Disconnect temperature control switch (potentiometer) 4-pin harness
connector C217. Disconnect CJB 34-pin harness connector C242 (located under left side of instrument panel). Measure resistance between ground and CJB connector C242 terminal

No. 15 (Light Blue/Pink wire). See Fig. 6 . If resistance is more than 10 k/ohms, replace
CJB. If resistance is 10 k/ohms or less, repair short to ground in Light Blue/Pink wire
between CJB and electronic blend door actuator. See WIRING DIAGRAMS .Turn ignition off. Disconnect electronic blend door actuator 8-pin harness connector C229.
Turn ignition switch to RUN position. Measure voltage between ground and blend door
actuator connector C229. If more than 10 volts exist, go to next step. If 10 volts or less
exists, repair open in Light Blue/Pink wire between CJB and electronic blend door actuator.

Turn ignition off. Disconnect electronic blend door actuator control switch 63-pin harness connector C220. Measure resistance of specified circuits between electronic blend door actuator harness connector C229 and blend door actuator control switch harness connector.

If resistance is less than 5 ohms for all wires, go to next step. If resistance
is 5 ohms or more on any wire, repair appropriate wire(s).

Measure resistance between temperature control switch terminals No. 2 (Yellow/Light
Green wire) and No. 3 (Red/Light Green wire). See Fig. 7 . Temperature control switch resistance should be more than 3000 ohms in full WARM position and less than 300 ohms in full COOL position. Resistance should change gradually as temperature control switch is turned from COOL to WARM and back. If switch resistance is as specified, go to next step.

If temperature control switch resistance is not as specified, replace temperature control switch. Measure resistance of Black wire between ground and electronic blend door actuator harness connector C229 terminal No. 8. See Fig. 7 . If resistance is less than 5 ohms, replace temperature blend door actuator. If resistance is more than 5 ohms, repair Black wire between ground and blend door actuator.

Please let us know happens so it will help others.
Apr 15, 2021 at 1:45 PM (Merged)
Avatar
JENNP
  • MEMBER
  • 1 POST
Ok so my heat is not working. I'm lucking that it's even warm after an hour of driving it. Last year the thermostat went out on it and i replaced that and now it's not working. The problem didn't occur till last year. I really don't have the money to spend on parts that aren't going to even fix the problem. So my question is what can i do to figure out what the problem is and how to fix it??
Apr 15, 2021 at 1:46 PM (Merged)
Avatar
CARADIODOC
  • CERTIFIED EXPERT
  • 34,306 POSTS
Hi Jennp. Welcome to the forum. When you say it is not warm, do you mean the temperature gauge does not come up to normal or the air from the heater is not warm?

If the gauge is low, pinch off the upper radiator hose for a minute or two while the engine is idling. If the gauge comes up to normal, suspect the new thermostat as the culprit. If the radiator hose is too hot to hold onto for very long, the thermostat is okay. Feel the heater hoses next. If they are cool but the radiator hose is hot, suspect a plugged heater core. They can be back-flushed with a garden hose. Also, check for a water control valve. They are only on vehicles with air conditioning, and are controlled with a vacuum hose. Watch to see if the lever on the valve moves when a helper switches between the various heater/AC settings.

If the heater hoses are hot, suspect a problem with the door actuators on the heater box. On some models a pencil can fall down inside and block a door. Sometimes that causes the actuator to break.

caradiodoc
Apr 15, 2021 at 1:46 PM (Merged)
Avatar
WIZARD6768
  • MEMBER
  • 1 POST
I have a 1999 Ford F150 and my heater has stopped working. The A/C works fine, but when I put it over to heat it stays cold. It does the same thing on defrost - only blows cold.
Apr 15, 2021 at 1:46 PM (Merged)
Avatar
JACOBANDNICKOLAS
  • CERTIFIED EXPERT
  • 110,175 POSTS
It sounds like a problem with the blend door. It is a vent door that changes things from AC to heat.

This guide can help as well

https://www.2carpros.com/articles/car-heater-not-working

Joe
Apr 15, 2021 at 1:46 PM (Merged)
Avatar
SKMANESS
  • MEMBER
  • 1 POST
My heater blows cold air when I turn the heat on is the a/c clutch surpose to come on?
Apr 15, 2021 at 1:46 PM (Merged)
Avatar
RACEFAN966
  • CERTIFIED EXPERT
  • 5,029 POSTS
Yes the a/c is going to come on when ever it is in defrost mode. If sounds like you have a blend door problem or blend door motor not working. here is a pic of both.


https://www.2carpros.com/forum/automotive_pictures/249564_538244_1.jpg


https://www.2carpros.com/forum/automotive_pictures/249564_379286_2.jpg

Apr 15, 2021 at 1:46 PM (Merged)
Avatar
REAPER101
  • MEMBER
  • 1 POST
my truck did the same thing, try taking out the heater core and seeing if its cloged if it is then you need to replace it
Apr 15, 2021 at 1:46 PM (Merged)
Avatar
1999 FORD XLT TRUCK
  • MEMBER
  • 1 POST
in the summer heater works fine. in winter the heater blows cold air only. replaced thermal switch on dash board. checked heater core hoses under hood they are both hot when engine is at normal op. temp.
signed, cold feet
Apr 15, 2021 at 1:47 PM (Merged)
Avatar
JDL
  • CERTIFIED EXPERT
  • 16,098 POSTS
Welcome to the forum, I'd have to check the blend door in picture. With the blend door in one position, ac, other position, the air has to go through the heater core.


https://www.2carpros.com/forum/automotive_pictures/170934_blend_doors_1.jpg

Apr 15, 2021 at 1:47 PM (Merged)
Avatar
PAULA D.
  • MEMBER
  • 7 POSTS
My problem actually, was the temperature knob...it had a small crack inside, which prevented it from grabbing hold and turning the switch.
I just never noticed it turned very easily....too easily. Just in case you're still stumped.
Apr 15, 2021 at 1:47 PM (Merged)
Avatar
DBAKER1065
  • MEMBER
  • 1 POST
all of a sudden i don't get any heat, what could be the problem? ac works blower works just no heat
Apr 15, 2021 at 1:47 PM (Merged)
Avatar
DOCFIXIT
  • CERTIFIED EXPERT
  • 18,828 POSTS
Engine temp O.K. if not thermostat stuck open. If temp good then a blend door problem.

Here is a guide to help

https://www.2carpros.com/articles/car-heater-not-working
Apr 15, 2021 at 1:47 PM (Merged)
Avatar
PAULA D.
  • MEMBER
  • 7 POSTS
My problem was the temperature knob...it had a small crack on the inside which loosened it just enough so it wasn't grabbing hold when you turned it to the right. Just in case you're stumped. It's nice when it's something simple!
Apr 15, 2021 at 1:47 PM (Merged)
Avatar
PAULA D.
  • MEMBER
  • 7 POSTS
Truck started acting strange yesterday. the heater is not putting out anything but cold air. This just started yesterday. Has been a reliable truck for nineteen years. Is there something that could be causing both problems? Would like to have some idea before I take it in to be looked at. Also, it was Halloween the night before, just a coincidence?
Apr 15, 2021 at 1:47 PM (Merged)
Avatar
JACOBANDNICKOLAS
  • CERTIFIED EXPERT
  • 110,175 POSTS
Hi and thanks for using 2CarPros.com.

First, I need you to make sure the coolant level is full. Also, take a look through this link and see if anything helps.

https://www.2carpros.com/articles/car-heater-not-working

Most often, low coolant is the issue when heat is lost. However, where the coolant went becomes the big question. Let me know if that is what happened or if there is anything else in the link that helps. Also, if the coolant is low, make sure there is no evidence that it is mixing with engine oil or oil mixing into the coolant.

I will watch for your reply.

Take care,
Joe
Apr 15, 2021 at 1:47 PM (Merged)
Avatar
PAULA D.
  • MEMBER
  • 7 POSTS
Thanks for your reply, Joe. Looks like there is enough coolant, so I am taking it in tomorrow to have it checked out. The idling was not as pronounced yesterday when I started it up, so not sure what is up with that. Trying out a new shop. The guy I used for years is retiring. So we will see what they find. Thanks again!
Apr 15, 2021 at 1:47 PM (Merged)
Avatar
JACOBANDNICKOLAS
  • CERTIFIED EXPERT
  • 110,175 POSTS
Welcome back.

If the coolant is full, either there is a plugged heater core or a blend air door not working under the dash. As far as the rough idle, there is a good chance it is a vacuum leak.

I have a feeling I know what may be wrong. The blend air door, which determines if you get heat, is operated by a vacuum motor. If the vacuum motor or vacuum hoses to it have been damaged or disconnected, you will not get heat. Also, it will cause a vacuum leak which will cause a rough idle. That is the first thing I suspect is the problem.

I realize you already have an appointment, but here are the directions for replacing the vacuum motor. I am attaching all the directions so you can see how to access it.

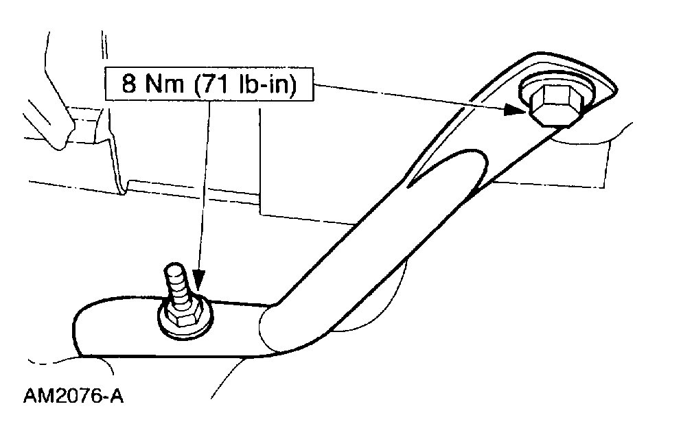
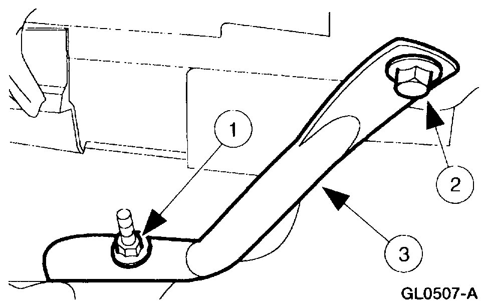
If you can before you take it in, see if you can check the aforementioned component. Here are the directions to access it. Also, pay attention if you hear a hissing or whistling sound from the dash area, which would indicate a vacuum leak. The attached pictures correlate with the directions. Also, the directions are for removing and replacing. You do not have to remove it, just see and inspect it.

_______________________________________

BLEND DOOR MOTOR
REMOVAL

1. Remove the floor duct panel.
- Remove the pushpins and release the expander clip.


2. Remove the RH instrument panel brace.
1 Remove the nut.
2 Remove the bolt.
3 Remove the brace.


3. Remove the LH instrument panel lower nut and position the brace aside.


4. Remove the three bolts and position the module aside.

5. Remove the floor duct.
1 Remove the two screws (one each side).
2 Remove the floor duct.

6. Remove the panel/floor door vacuum control motor.
1 Disconnect the vacuum line connector.
2 Remove the screws.
3 Slide the rod out of the door and remove the panel/floor door.

NOTE: Rotate the vacuum control motor to disconnect the vacuum control motor rod from the panel/floor door.

7. Remove the electronic blend door actuator.
1 Disconnect the connector.
2 Remove the screws.
3 Pull down to release the actuator shaft and remove the electronic blend door actuator.

INSTALLATION


1. To install, reverse the removal procedure

_____________________________

I would really be interested in knowing if that is the issue. Please keep in mind, even if the leak isn't at the motor, it could be one of the vacuum hoses supplying engine vacuum to the control unit. With the engine running, pay close attention to see if you hear a vacuum leak. If you locate a broken hose or one disconnected, it will save you some money, and I can help you get it back together.

Let me know what you find.

Take care,
Joe

Apr 15, 2021 at 1:47 PM (Merged)
Avatar
PAULA D.
  • MEMBER
  • 7 POSTS
Hi Joe. Well, cannot get my truck in until next week, so guess I have some time, but really was not hoping to fix it myself. I am a sixty four year old female with no experience, although I did fix my toilet a few years ago (lol).
And I did hear a strange noise I thought was coming from the dash area. I cannot remember just what it sounded like, been a few days, but you just may be onto something. Your instructions sound very clear, but not sure about the pictures. This is all under the dash, right? Do I need to look under the hood for damaged or disconnected hoses? I have a few days, may ask a neighbor who is pretty knowledgeable and has been helpful in the past. But tell me, what would this cost to fix, if you are right? If it is the vacuum motor?



Apr 15, 2021 at 1:47 PM (Merged)
Avatar
JACOBANDNICKOLAS
  • CERTIFIED EXPERT
  • 110,175 POSTS
Ha! If you can fix the toilet, you can do this.

It is under the dash and a bit of a pain to access. Mostly, the tight area makes it a pain. However, it is doable. As far as cost, not knowing where you live, my part's price may be off, but I can tell you it calls for slightly over one hour labor to replace. What the shop charges as an hourly rate plus a little. It calls for 1.1 hour.

No matter what, low coolant can cause this issue too, so make sure it is full.

Let me know if I can help.

Take care,
Joe
Apr 15, 2021 at 1:47 PM (Merged)
Avatar
PAULA D.
  • MEMBER
  • 7 POSTS
So where do I look for the hoses that may be disconnected or damaged? Also, regarding the coolant, it is really hard to see exactly where the line of fluid is. May need to get my step ladder out tomorrow to get up closer, lots of stuff in the way. But I looked like the fluid line was falling between the full and low lines.
will check again tomorrow to be sure.
Apr 15, 2021 at 1:47 PM (Merged)
Avatar
NKILBURG
  • MEMBER
  • 2 POSTS
very low heat to now we have great heat for 20 minutes than cold again. Not sure if it matters, but in summer A/C is not supper cold. No leak. And fully charged A/C. Any guidance would be great.
Apr 15, 2021 at 1:47 PM (Merged)
Avatar
JACOBANDNICKOLAS
  • CERTIFIED EXPERT
  • 110,175 POSTS
The vacuum motor is under the dash. See the pictures in my first post. With the engine cool, remove the radiator cap and make sure the radiator is full too.

Let me know what you find. Also, be careful on the latter. LOL I wish you were my neighbor. You seem like a lot of fun.

Take care,
Joe
Apr 15, 2021 at 1:47 PM (Merged)
Avatar
JACOBANDNICKOLAS
  • CERTIFIED EXPERT
  • 110,175 POSTS
Hi,

I need you to check something. When you lose heat, feel both heater core hoses to see if they are hot. If they are, the problem is on the inside. I assume you checked for vacuum leaks.

Let me know what you find when you check them. Also, I attached a picture below showing the components related to the HVAC. Let me know what you replaced and if this vehicle has manual temp control or automatic.

Here is a link that explains the most common causes of no heat conditions:

https://www.2carpros.com/articles/car-heater-not-working

Let me know.
Joe

Apr 15, 2021 at 1:47 PM (Merged)
Avatar
PAULA D.
  • MEMBER
  • 7 POSTS
Well, took my truck in today. I must be livin' right. The no heat problem was nothing we had thought of. Turned out the temperature knob had a small crack on the inside and wasn't engaging when you turned it. I didn't notice any difference, silly me. So got off pretty easy. It's now set on high and just need to find another knob...maybe at a wrecking shop or a new one thru the dealer.(or maybe I'll try some super glue..lol). But the best part is I found a good, honest shop to go to now. All they charged me was $42 for an oil change! As for the rough running, that seems to have resolved itself. Anyway, thanks for your help, Joe. It's nice to have you guys to turn to when you have a question. Thanks again!
Happy Holidays! PD
Apr 15, 2021 at 1:47 PM (Merged)
Avatar
NKILBURG
  • MEMBER
  • 2 POSTS
I’m not doing the work. My neighbor mechanic is. He is stumped. And is taking it to his buddy’s shop. I basically have a entire new coolant system. Water pump- thermostat- actuator- new blend door all new - And New radiator core (in firewall) and New (manual) HVAC controls. New radiator cap. I started with no heat to very little heat. With the new water pump and thermostat . I have good heat now, but only last twenty minutes than cold again. He flushed system two times and in reverse. and tried burping the system. Now he is thinking (I think he said flywheel?? I could be wrong but I think he mentioned it) or head gasket. But I don’t lose coolant... You asked me about heater core hoses. Both where hot when I first took it him. Maybe one was a few degree cooler. But I could grab them and no pain to my hand if I held them. I don’t know how the hose is with new water pump.

I think he said it doesn’t come to pressure still?

Prior to new water pump replacement my lower radiator hose was collapsed if squeezed and held open he got heat. I assume not now. I feel bad, he has eaten the cost on the repairs except water pump, thermostat (stuck open) and coolant. I offered to pay him. He said no. I thought I would reach out and see what I can find for help.

I did have a guy tell me to remove the piece of plastic in the hose coming from radiator core, is simple fix, have you heard of this?

I assumed he checked for vacuum leaks he is very knowledgeable.

Not sure if it matters. My A/C has no leaks. Pressure tested. Fully charged. But doesn’t get ice cold in summer. Not sure if this system is part of my heat problem.

What would you replace next? Or try?
Apr 15, 2021 at 1:47 PM (Merged)
Avatar
JACOBANDNICKOLAS
  • CERTIFIED EXPERT
  • 110,175 POSTS
Wow, that is an easy fix. I am glad you found the problem. I agree that a salvage yard would be the best option. If there are any "You Pull It" type salvage yards near you, I am sure you will find many and it should be really cheap.

Regardless, we are always here. Let us know if you have questions in the future.

Take care and Happy Holidays to you, too. At least now I know they will be warm ones. lol

Joe
Apr 15, 2021 at 1:47 PM (Merged)
Avatar
JACOBANDNICKOLAS
  • CERTIFIED EXPERT
  • 110,175 POSTS
Hi,

If the heater hoses were hot, that tells me coolant is flowing through the heater core. It's normal for the return to be a couple of degrees colder. If the A/C isn't getting ice cold, I feel the problem is one of the actuators in the vehicle. Think about it. If both hoses get hot, the heater core is hot. Thus, heat is in the vehicle. It just isn't getting where it needs. That is where the actuators come into play.

I realize the actuators were replaced. Are they working is the question? I also know there are a few actuators under the dash which are vacuum actuated. If there is no vacuum, the actuator won't work or will change direction when the vacuum starts to drop. For example, when you accelerate, the vacuum drops by nature. If there is a leak, it can cause issues.

As far as the plastic part, I'm not sure what he is referring to and the flywheel makes no sense to me.

Let me know. I would check the engine vacuum to see if there is a leak. Here is a link that explains how to check for a vacuum leak. See if it's something you feel comfortable doing.

https://www.2carpros.com/articles/how-to-use-an-engine-vacuum-gauge

Let me know.
Joe
Apr 15, 2021 at 1:47 PM (Merged)