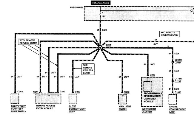
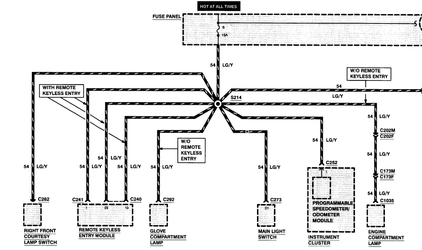
The truck starts and moves but the following don’t work:
Interior dome lights.
Lights on the doors.
Odometer is blank.
Door locks don’t work.
Headlights, and door windows do work.
What wires should I be looking for to fix these, or what fuses also?
Interior dome lights.
Lights on the doors.
Odometer is blank.
Door locks don’t work.
Headlights, and door windows do work.
What wires should I be looking for to fix these, or what fuses also?
Apr 13, 2023 at 5:52 PM




