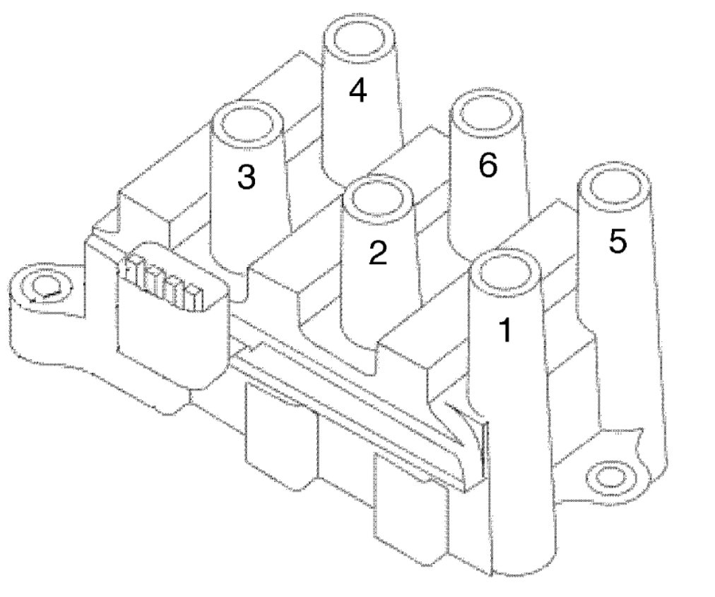
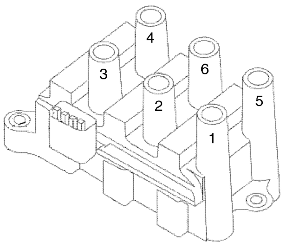
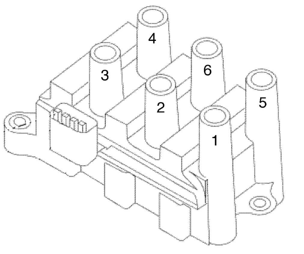
I was attempting to replace my ignition coil and come to find out the replacement was wrong,so I put the old one back in because it worked,just not well,and for some reason it did not wanna work at all,I believe I have gotten a couple wires mixed up,but I cannot remember the order to fix it properly.As well,once I did get it to turn over,I can only hear 4 cyl's running and it was burning rich...
Aug 20, 2019 at 7:29 PM
(Merged)