Does the ignition switch have a wire harness or do the wires go into the pigtail?

2011 VOLKSWAGEN JETTA
174,000 MILES
Avatar
CSIVILS70
  • MEMBER
  • 1 POST
I am having my ignition switch replaced the mechanic says there is a wire harness missing, I have another mechanic saying that my wires sit down in a pigtail, I was wondering does the ignition switch have a wire harness or does the wires go into the pigtail
Apr 10, 2024 at 8:30 AM
Advertisement
Avatar
STRAILER
  • CERTIFIED EXPERT
  • 53,854 POSTS
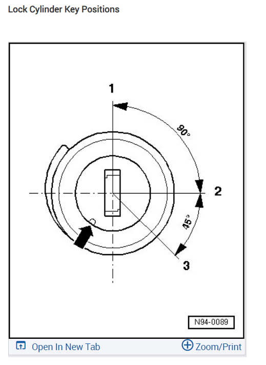
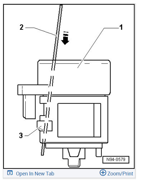
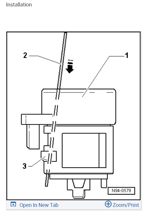
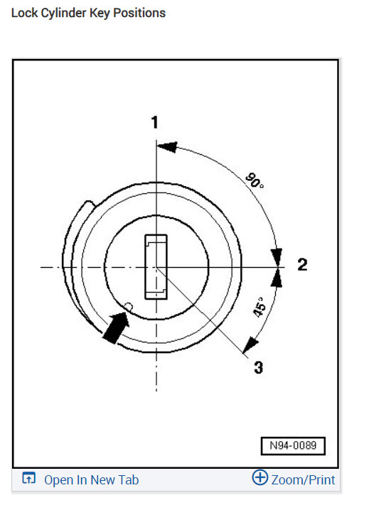
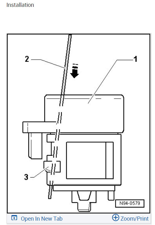
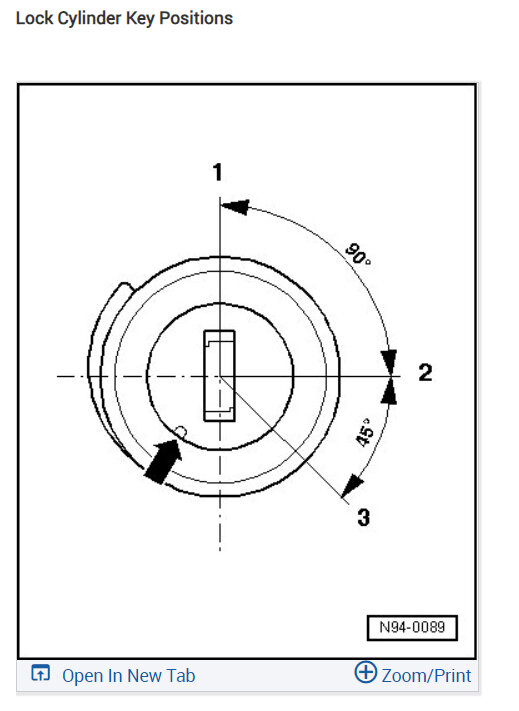
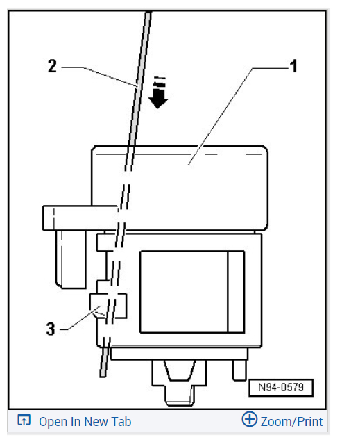
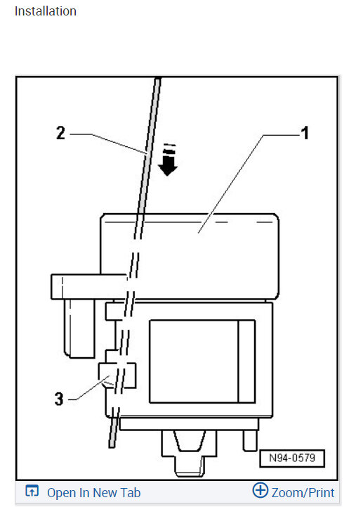
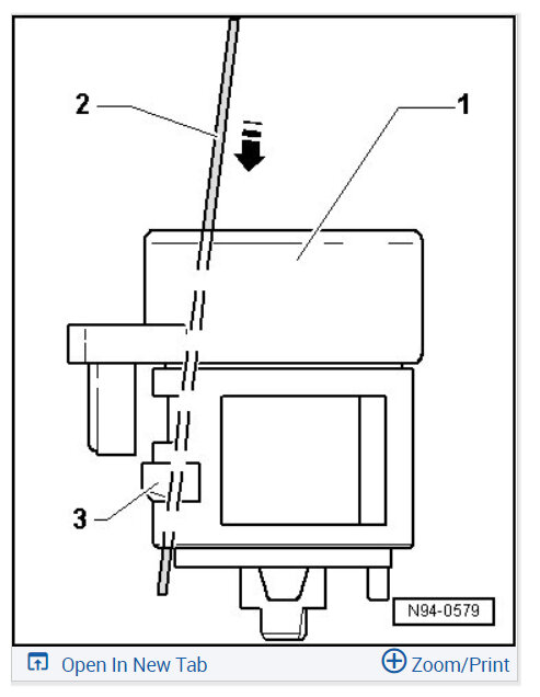
There is no pigtail, the wiring harness plugs right into the ignition switch. Here are the wiring diagrams so you can see how the switch is wired up and I have included how to change the switch and lock tumbler out for you. Check out the images (below). Let us know if you need anything else.
Apr 10, 2024 at 9:53 AM