Wiper park position not working properly

2012 NISSAN TITAN
111,000 MILES • V8 • 2WD • AUTOMATIC
Avatar
ELIASB98
  • MEMBER
  • 1 POST
My passenger wipers park placement likes to ride up my windshield. Eventually crossing paths with the other wiper. How do I fix it?
Feb 12, 2021 at 9:12 AM
Advertisement
Avatar
KASEKENNY
  • CERTIFIED EXPERT
  • 18,907 POSTS
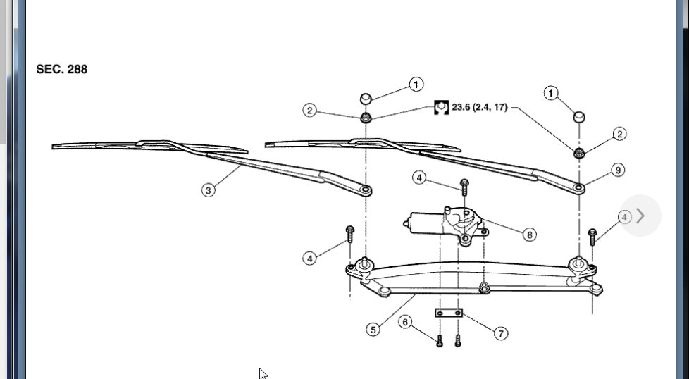
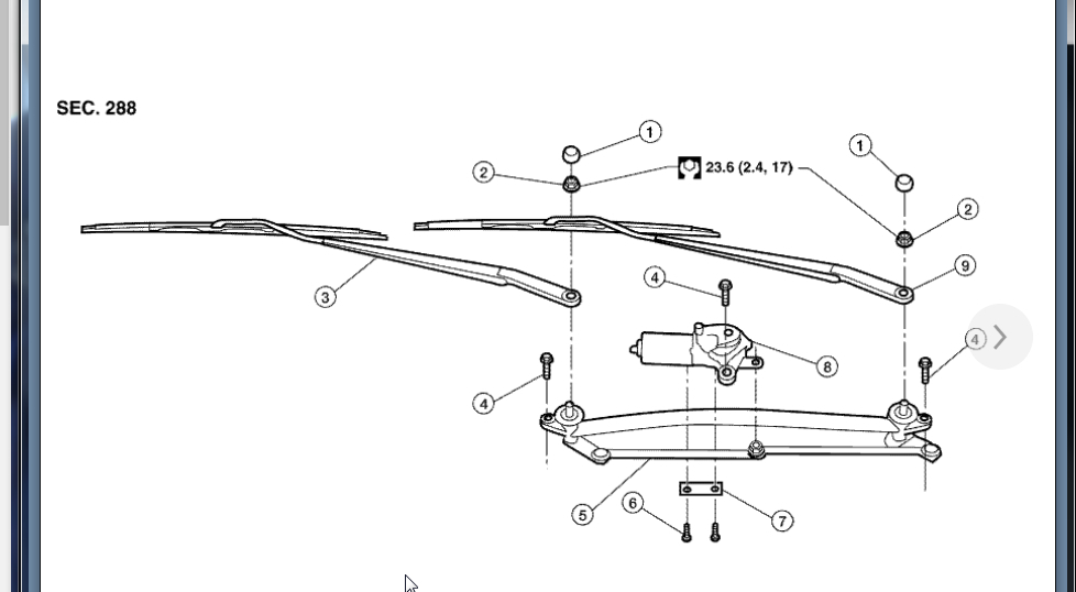
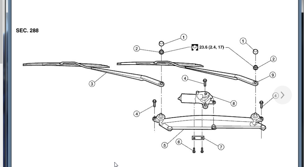
More then likely the nut that holds that wiper arm to the linkage has come loose. I would suggest removing it and operate the wiper with that arm off so that they go to the proper park position and then reinstall the wiper arm.

I attached the process for how to replace them and adjust the arms below if you need to review that.

Let us know if you have questions or how you make out. Thanks
Feb 13, 2021 at 8:08 AM