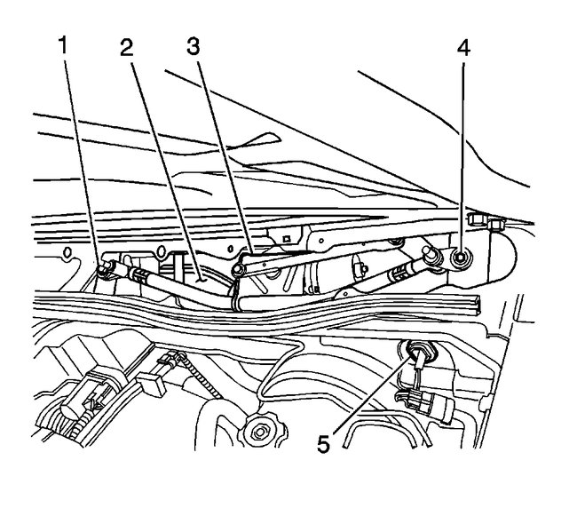
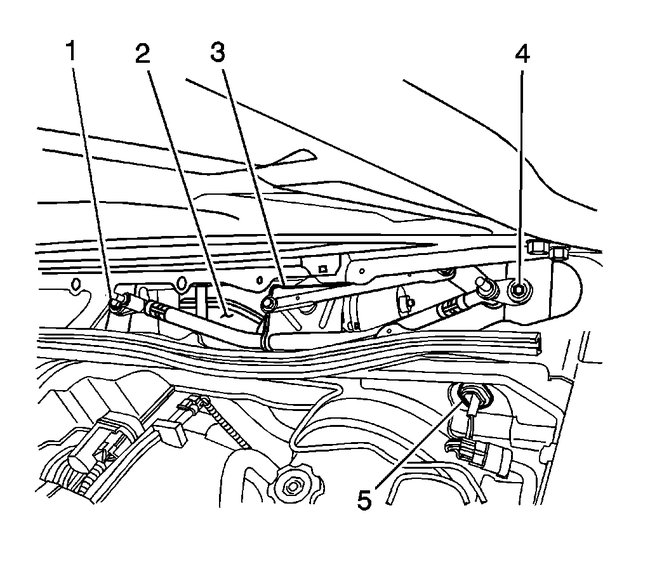
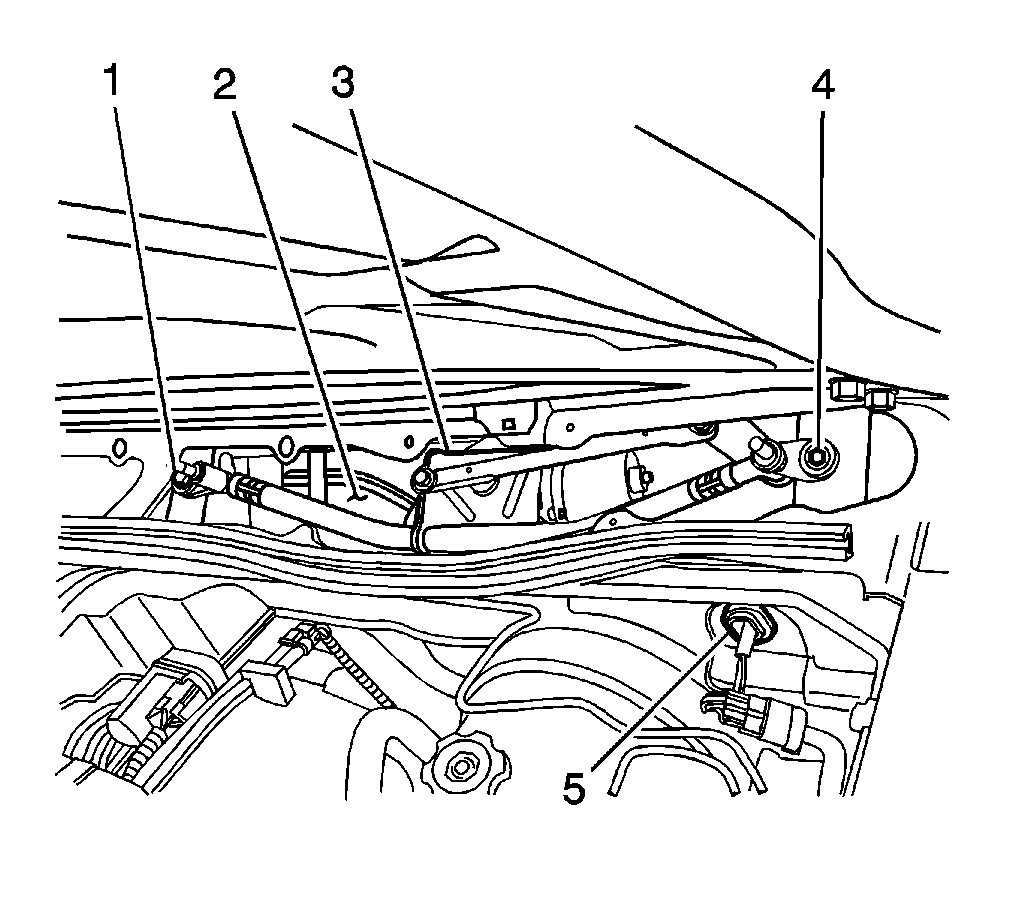
The wipers were making a banging noise as if they were hitting something. I found that the assembly was lose and the bushing on the passenger side had become deformed (oval shaped). I corrected it, reinstalled the assembly, and aligned they wiper arms to the factory made marks on the windshield. I cannot got the wipers to park properly, they either go so low they slap the cowling or they park so high they distract the driver. I tried several fixes like parking the motor and then moving the arms to the alignment marks before reattaching the drive bar, tried moving the drive bar 180 degrees before reattaching, tried reattaching it only when wipers were on the upswing, none worked for me. The wipers do have the intermittent feature and I suspect that has something to do with my problem but have no knowledge of the mechanics or electrical workings of that feature. Please advise before I go nuts, any help will be greatly appreciated.
Thank you in advance, Ted
Thank you in advance, Ted
May 31, 2019 at 3:42 PM
