Passengers side A/C blows ice cold and driver side blows warm

2014 GMC SIERRA
980,000 MILES • 5.3L • V8 • 4WD • AUTOMATIC
Avatar
CODYCLEAVELAND09
  • MEMBER
  • 2 POSTS
Which blender is bad? Passengers side blows ice cold and driver side blows warm. Dealer says I have three blenders, which controls the driver side and where is it located? How hard is it to change one in dash?
Jul 25, 2018 at 5:46 AM
Advertisement
Avatar
DANNY L
  • CERTIFIED EXPERT
  • 5,648 POSTS
Hello, I am Danny.
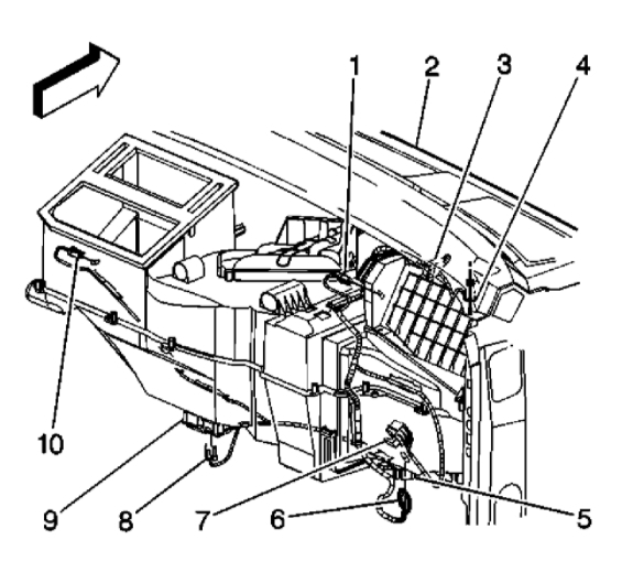
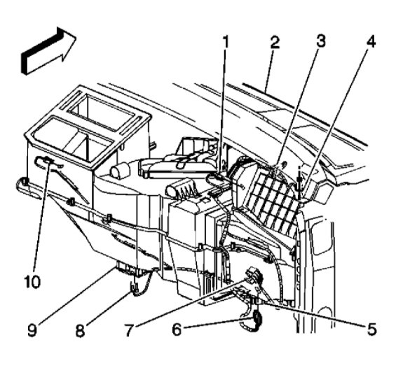
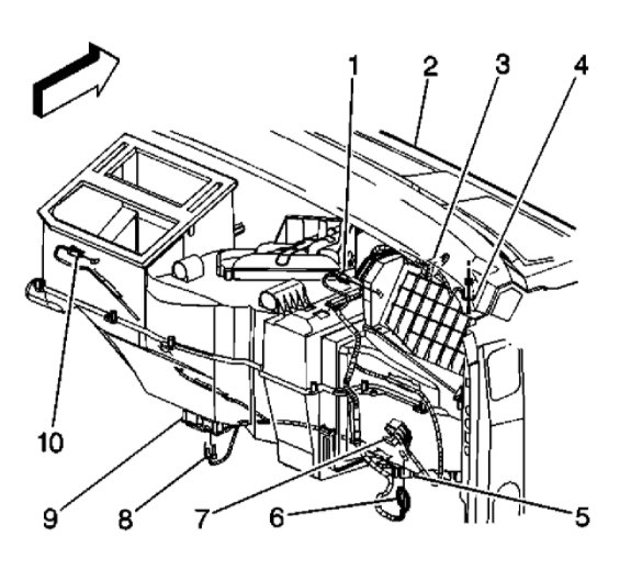
The actuator giving you the problem is called the Mode Valve Actuator. It is located on the left side of the HVAC unit under the dash. I have attached a tutorial link showing the basic replacement repair and I have also attached a picture of the Actuator (circled in red). After the install is complete you will need to do a relearn procedure. I have a step-by-step how to do that as well. Hope this helps and feel free to ask any questions if needed. Thanks for using 2CarPros.
Danny-

https://www.2carpros.com/articles/replace-blend-door-motor
Jul 25, 2018 at 10:04 AM
Avatar
CODYCLEAVELAND09
  • MEMBER
  • 2 POSTS
So this is not on the upper dash console, but it is the under where the floor board is? In the picture is tho the passenger side correct?
Jul 25, 2018 at 10:40 AM
Advertisement
Avatar
DANNY L
  • CERTIFIED EXPERT
  • 5,648 POSTS
Hello again.

It is on the left side of the HVAC unit. Basically it is near the gas pedal and center console on the HVAC unit.
Danny-
Jul 25, 2018 at 10:55 AM
Avatar
CLARAUX
  • MEMBER
  • 1 POST
Driver side blows hot air, passenger side blows cold air when air conditioner is on.
Dec 26, 2020 at 12:55 PM (Merged)
Avatar
STRAILER
  • CERTIFIED EXPERT
  • 53,854 POSTS
Hello,

You have a blend door actuator that is out from the drivers side. Here is a guide that will show you how to fix the problem:

https://www.2carpros.com/articles/replace-blend-door-motor

As far as the fan speed problem, here is a location of the high speed fan relay that may need to be replaced or the speed resistor. Check them out (below)

Please let us know what happens, we are interested to see what it is.

Cheers, Ken
Dec 26, 2020 at 12:55 PM (Merged)
Avatar
77SEVENS
  • MEMBER
  • 3 POSTS
A/C works on drivers side blowing air but no A/C on passenger side. Manual control. Heat seems okay on both sides. Had A/C service within last 6 weeks. Recharged/dye tested, because A/C didn't feel as cold as it used to before leaving on round trip to from Nashville-New Orleans. Heat indexes in 100's.
Back from trip and noticing no improvement however realized air blowing on passengers side not cool at all.
Recalibrating by pulling fuse or negative battery cable changed nothing.
Dec 26, 2020 at 12:56 PM (Merged)
Avatar
DANNY L
  • CERTIFIED EXPERT
  • 5,648 POSTS
Hello, I'm Danny.

It sounds like you are having an issue with the blend-mode door actuator. It's a small electric motor mounted to the HVAC box that opens and closes a door to direct air throughout the vents. The HVAC box is mounted under the dash on the right side. Here is a tutorial showing what is involved on how to replace the actuator:

https://www.2carpros.com/articles/replace-blend-door-motor

I've attached picture step instructions below on how to replace the actuator on your truck. After installation the actuator has to be calibrated. Those instructions are included as well. Hope this helps and thanks for using 2CarPros.
Dec 26, 2020 at 12:56 PM (Merged)
Avatar
PAOLOJ
  • MEMBER
  • 1 POST
hot air blows out on drivers side when ac is on passenger side seems ok. I noticed it about a year ago intermittent but now its continuous. which actuator controls this function?
Dec 26, 2020 at 12:56 PM (Merged)
Avatar
JACOBANDNICKOLAS
  • CERTIFIED EXPERT
  • 110,175 POSTS
There are two blend air door actuators. It should be the one on the left.
Dec 26, 2020 at 12:56 PM (Merged)
Avatar
WRENCHTECH
  • CERTIFIED EXPERT
  • 20,761 POSTS
You should see it looking under the dash on the driver's side. https://www.2carpros.com/images/external/110649649.gif
Dec 26, 2020 at 12:56 PM (Merged)
Avatar
MAWILCOX
  • MEMBER
  • 1 POST
Only cold air comes out of my driver side air vents no matter how i move the controls . The passenger side vents throw out hot or cold still. I was watching your videos . And is that the blend door acuator on the passenger side?

thanks mark
Dec 26, 2020 at 12:56 PM (Merged)
Avatar
HMAC300
  • CERTIFIED EXPERT
  • 48,601 POSTS
try pulling hvac fuse inside truck for 60 seconds with key on sometimes the actuators reset and you'll get warm air again . otherwise see if actuator is getting power
Dec 26, 2020 at 12:56 PM (Merged)
Avatar
DAVE FERRY
  • MEMBER
  • 1 POST
With the AC on and working right, the driver side starts blowing hot.
Dec 26, 2020 at 12:57 PM (Merged)
Avatar
STEVE W.
  • CERTIFIED EXPERT
  • 15,113 POSTS
If it is only the drivers side and you have the split system (passenger and driver each have a temperature control) the issue is most likely the blend door actuator or the controller. Does it switch over rapidly or does it seem to track the time it takes for the engine to warm up?
What you can try to see if it is just a calibration error is to remove the HVAC ECAS fuse wait about thirty seconds. Replace the fuse, start the engine and wait forty five seconds for the actuators to re-calibrate. If this works you have an actuator that is starting to fail but you may be able to limp it along by just pulling the fuse if it goes wonky again.
If this has no effect then the actuator has likely failed completely.
The actuator is on the bottom of the HVAC box and is not difficult to replace. You look up while in the drivers side foot-well and you will see a trim panel that extends from side to side under the dash, it will extend under the center area of the dash as well. Remove the screws that retain it and move it out of the way. The actuator will be easily visible over the top of the area the driveshaft goes under. Remove the HVAC ECAS fuse then remove the wiring connector and the screws, pull the actuator free from the HVAC case. Reverse the process to install the new one. Before installing the trim panel you will want to install the fuse and start the engine to do the calibration process just to be sure the issue is repaired.
Dec 26, 2020 at 12:57 PM (Merged)
Avatar
BGS1
  • MEMBER
  • 3 POSTS
It has duel controll Ac for driver and passanger. At times with the ac running it will go from ac to the heater blowing hot air ,just on the driver side. I can move the tempeture controll lever up and down but the heater stays on. I have to turn the truck off and back on and the ac will come on again. This is only on the deiver side, the passanger side never does that it works fine
Dec 26, 2020 at 2:52 PM (Merged)
Avatar
HMAC300
  • CERTIFIED EXPERT
  • 48,601 POSTS
you'll have to check to see if your actuators are working right or not. one controls temp and another direction so it sounds as if one is screwed up. generic pic enclosed.
Dec 26, 2020 at 2:52 PM (Merged)