☰
Login
Join
×
Home
Answered Questions
Repair Topics
Repair & Service Guides
Popular Questions
Warning Lights
Trouble Codes
How It Works
Testing / Diagnostics
Symptoms
Videos
Login
Become a Member
Home
Honda
Civic Hybrid
Body
Ambient Temperature Sensor
Is this the ambient temperature sensor
2008 HONDA CIVIC HYBRID
160,000 MILES • 1.3L • 4 CYL • 2WD • MANUAL
MAEMOND
MEMBER
54 POSTS
FOLLOW
Was replacing the condenser, and noticed this thing. It is not connected, and can not find a connector for that anywhere.
Image (Click to enlarge)
Aug 26, 2020 at 10:18 PM
Advertisement
ASEMASTER6371
CERTIFIED EXPERT
52,796 POSTS
Good morning,
Is it hanging free or is it bolted to it?
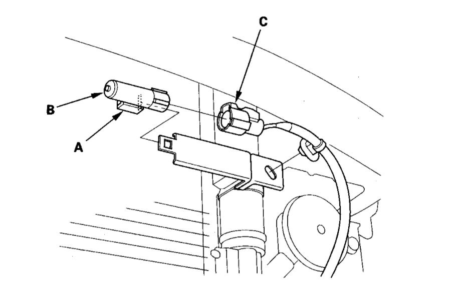
It looks like an ambient temperature sensor for temperature signal to the HVAC module.
Look around for the connector. It has to be in the area to hook it up.
Roy
Image (Click to enlarge)
Aug 27, 2020 at 2:47 AM
MAEMOND
MEMBER
54 POSTS
Looks exactly like that. There’s a bracket that it attaches to just like in the diagram. What does that do? And why can’t I find a connector for it?
Aug 27, 2020 at 9:30 AM
Advertisement
ASEMASTER6371
CERTIFIED EXPERT
52,796 POSTS
Again, it sends a signal to the HVAC module for the outside temperature.
I have no idea. The connector has to be there somewhere. You need to look around for a wire that is not connected in that area.
Roy
Aug 27, 2020 at 10:53 AM