Welcome to 2CarPros.
Interestingly, I thought they were different, but according to my information, they have the same part number. So, to the best of my information, they are the same. The item you are referring to is called the mode door actuator.
I don't know if you need this, but here is info for replacing one. It explains how they are adjusted, so I thought you may need them. The attached pictures correlate with the directions.
_______________________________________
MODE ACTUATOR
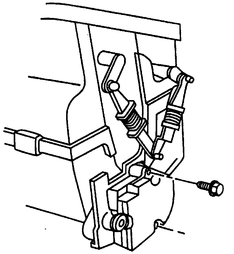
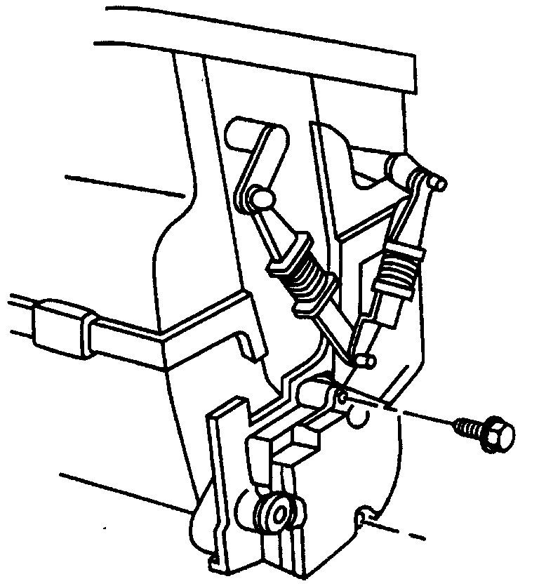
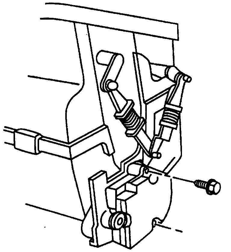
Mode Actuator Location
pic 1
Mode Actuator Replacement
pic 2
Remove or Disconnect
1. Negative battery cable.
2. Electrical connector.
3. Screws.
4. Adjuster links from control lever.
5. Mode actuator.
Adjust
A. Electrical connector to the actuator.
B. Turn the ignition key to the run position and let the actuator position itself.
C. Turn off the ignition key.
D. Remove the actuator from the electrical connection.
Install or Connect
1. Mode actuator.
2. Screws.
3. Adjuster links to control lever.
4. Electrical connector.
5. Negative battery cable.
- Check circuit operation.
____________________________________
I hope this helps. Let me know if you have other questions.
Take care,
Joe
Images (Click to enlarge)
Jun 7, 2019 at 9:48 PM