Van starts without the key, stuck in on position

2001 CHEVROLET EXPRESS
180,000 MILES • 5.7L • V8 • 2WD • AUTOMATIC
Avatar
KSULLY1231
  • MEMBER
  • 5 POSTS
This is the 3500 model; recently purchase this van through an auction so I do not know the history, but it runs good, other than a few cosmetic issues; but this one is the biggie:

1) the odometer/PRND321 is constantly lit up even with key out of ignition and the battery will run down overnight if I do not disconnect it; battery is eight months old and holds a charge fine.
2) I can move the shift arm into all gears without the key and without the brake on.
3) there is no door chime when i put the key in the ignition.
4) And finally, I can turn the lock cylinder without the key in it and the van will start up and run, lol! I realize that might be a cool feature if you ever lose your keys but I would be more comfortable knowing I needed a key to start it.
5) Not sure if this is related, but it shifts into all gears except first. what would cause this?

I am thinking it is the ignition, but your help would be greatly appreciated. Would I need to replace the whole ignition switch and lock cylinder?
Sep 30, 2017 at 4:56 PM
Advertisement
Avatar
STRAILER
  • CERTIFIED EXPERT
  • 53,854 POSTS
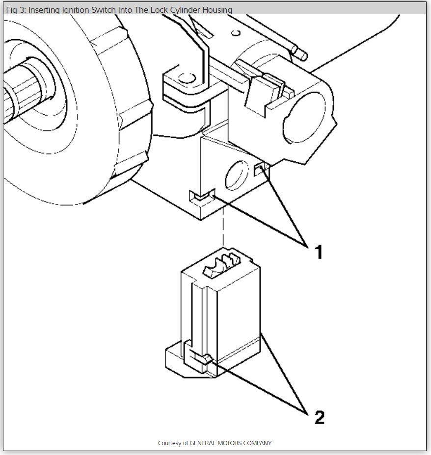
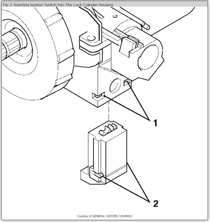
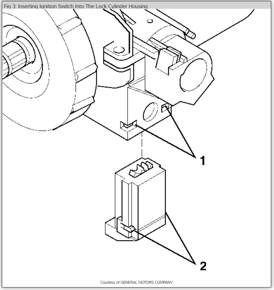
It sounds like someone has taken the tumbler apart so the lock does not work. You will need to replace the ignition tumbler to fix it.

Here is a guide on what you are in for when doing the job (below).

You may need to get the new key coded by a shop or the dealer to complete the job.

Please let us know what happens and upload pictures or videos of the problem.

Cheers, Ken
Oct 1, 2017 at 12:26 PM
Avatar
KSULLY1231
  • MEMBER
  • 5 POSTS
Okay, that makes sense. I am planning to work on it tomorrow and will let you know. Thanks for the diagrams, that helps! :)
Oct 1, 2017 at 7:05 PM
Advertisement
Avatar
STRAILER
  • CERTIFIED EXPERT
  • 53,854 POSTS
Please let us know what happens and upload pictures or videos of the problem.

Cheers, Ken
Oct 2, 2017 at 12:16 PM
Avatar
KSULLY1231
  • MEMBER
  • 5 POSTS
Hi Ken, thanks for your help on this; Today, I replaced the lock cylinder (it didn't look too bad, no broken pieces) and the van starts up and runs, shifts normally; however, when I turn the key off, I still cant turn it past the ACC position (3)with Odometer light on, but now I can't take the key out at all...still have the issue of shifting without the brake pedal.

There are 5 positions for the key (according to owners manual): (1) ACC-A, (2)Off/Lock, (3)ACC, (4) Run, (5)Start; the van only starts in Park and Neutral, so i don't think its the Park/Neutral switch or loose cable.

I'm thinking the problem might be the BTSI solenoid keeping the key magnetized somehow, but not quite sure. Could it be the ignition switch? Is there anyway to test these? I did not perform the 'key re-learn' procedure since the van started up with not problem - not sure if that is necesary.

Thanks so much!
Kevin
Oct 3, 2017 at 2:45 PM
Avatar
STRAILER
  • CERTIFIED EXPERT
  • 53,854 POSTS
Nice work thanks for the pic, there is a shift interlock cable that sound like it not moving like it should. Try to disconnect it and see if that fixes the problem then we can go from there to get it fixed. Here is a diagram of what we are talking about

Please let us know what you find.

Cheers, Ken
Oct 4, 2017 at 11:10 AM
Avatar
KSULLY1231
  • MEMBER
  • 5 POSTS
Well, Ken, as I was about to disconnect the shift interlock cable, I started moving the gear handle up and down very slowly, watching everything operate. As I put it in park, Shazaam!, the arm somehow locked and I coulndn't move it at all - I was able to move the key to the off and Acc position! And remove the key - i tested it a few times and what I found is when the shifter arm is in park, the arm needs to be pushed forward just a bit, where it will stay; that little move apparently locks the gear handle, unlocks the cylinder and key can be turned and removed. Go figure!

I actually have a 01 Suburban with the exact same ignition system, but this movement happens automatically so I never noticed it - there must be a spring(or something) in place somewhere that is missing on the van.

Whew! That saved me a lot of time and money trying to figure that out - i was getting pretty frustrated! I was about to go out and buy a new ignition switch - LOL!

Do you have any clue about that spring? Any diagrams?

Thanks so much for the help!
Oct 4, 2017 at 3:32 PM
Avatar
STRAILER
  • CERTIFIED EXPERT
  • 53,854 POSTS
It sounds like the cable itself needs to be replaced but to be sure can you upload some pictures of what you are talking about so we can be on the same page?
Oct 6, 2017 at 9:38 AM
Avatar
STRAILER
  • CERTIFIED EXPERT
  • 53,854 POSTS
Hey,

Did you ever get the problem fixed?

Cheers, Ken
Oct 28, 2017 at 5:17 PM