Van immobilized

1996 DODGE CARAVAN
149,000 MILES • 6 CYL • 2WD • AUTOMATIC
Avatar
IMMOBILIZED NUUB
  • MEMBER
  • 3 POSTS
I was recently evicted and was desperate for transportation and on a non existent budget. I found the van listed above and haggled them down to $340.00 delivered! I mentioned delivered because to me that proved without a shadow of a doubt that the van runs and drives. Upon arrival of the van there really was no inspection, I was happy to have a running vehicle. My only question to the seller was if I had the only keys and if it was a chipped key. I was told that I had the only key and that it was not a chipped key. Actually the key I had was cut by a locksmith from the key code that matched the van. That having to be done because the original key and OEM fob no longer existed. Being so busy and stressed (with everything I owned on the curb) I hoped in the van and fell asleep. The next day I loaded her up and took my first trip to storage. ĺ stopped once on the way there and it was on my way back, (the 5th time starting the van) I hoped in turned the key only for the engine to start and quickly shut off and then to hear some clicking noise followed by the horn honking. I've since had it towed back to the street in front of my old apartment. I have tried everything I could find on Google and YouTube and still nothing! From what I know the immobilizer kicked on due to the alarm or something like that. I have just 1 un-chipped key and no fob. Please how do I turn this off so I can start and use my car again!?
May 25, 2021 at 10:05 PM
Advertisement
Avatar
STEVE W.
  • CERTIFIED EXPERT
  • 15,113 POSTS
What have you tried on it so far? The most common way to disarm that system is to unlock the drivers door using the key. Each of the locks has a similar switch so you could try locking and unlocking each door with the key a few times and see if it now disarms the system.
If it does then you can still drive it, just be aware that locking the door with the key may cause the same problem again.
If it's broken wiring or a bad switch it may still not allow it to run depending on the was the problem failed. If that is the case you would really want to use a dealer level scan tool and see which door or switch is activating the alarm. The door and hatch switch should disarm the system but those and the hood all have switches that can trigger the alarm if it has been armed. The problem is that the way the system works there is no easy bypass on it as they don't use a simple on off switch in the lock system, instead it's a momentary switch.
That is why you would use the scan tool, then watch the switch inputs and see if each door shows lock and unlock. I suspect one of the doors is showing as locked even when you unlock it. Try the key first. Oh, FYI the 1996 does not use a transponder type key, they could have a remote key fob though.
May 25, 2021 at 10:54 PM
Avatar
IMMOBILIZED NUUB
  • MEMBER
  • 3 POSTS
As per Google I have tried using the key to do a lock, unlock sequence in the drivers door and back hatch which in doing so in the back hatch seems to work (the clicking and honking stop) but as soon as I turn the key in the ignition it starts up again.
I've taken apart the door panel on the hatch and drivers door and don't seem to see any loose or unplugged wires.
Who else might have that scan tool besides the dealership? Only because of the expense of towing her to them and the cost of the scan darn near out price what I paid for her.
May 26, 2021 at 9:52 AM
Advertisement
Avatar
STEVE W.
  • CERTIFIED EXPERT
  • 15,113 POSTS
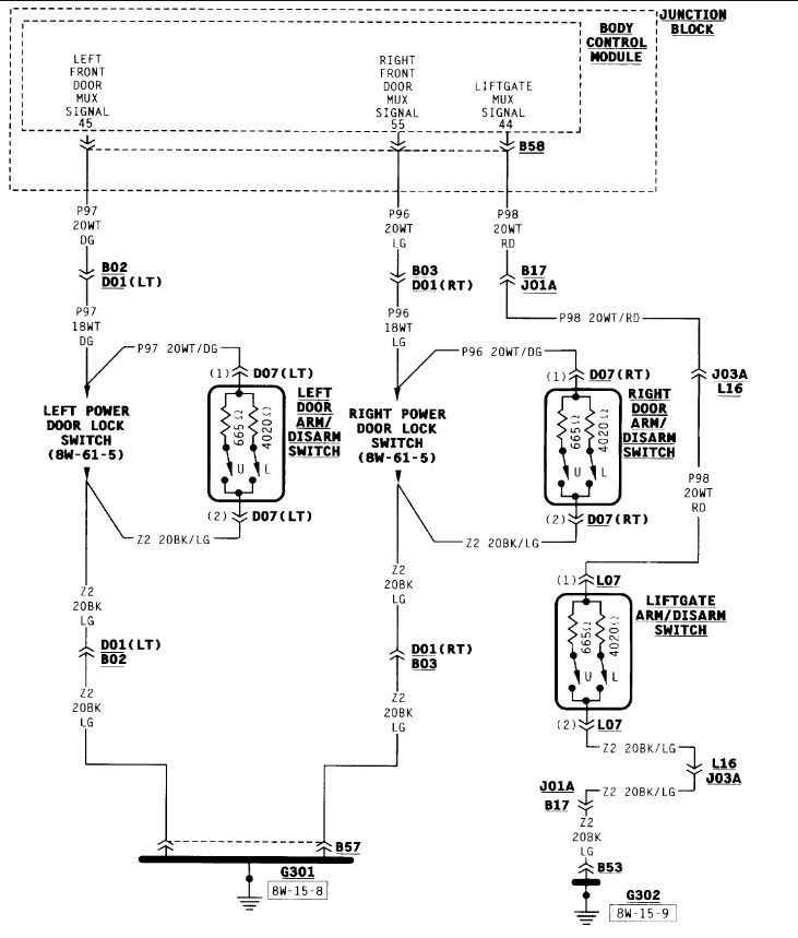
The wires can be broken internally but the actual switches are usually the problem. The ones in the doors attach to the back of the lock cylinder at the small pin I circled, but the last I knew they were a dealer only part, unless you can find them in a salvage yard. Testing wise there are a few shops that would have a tool that should work, you might call a few local to you and see who has one, the DRB3 should do it and that was the OE tool.
Most of the low cost aftermarket tools won't talk to the security system so that rules those out.
As you have taken the panels off you could do some testing yourself. For that you just need a cheap VOM that can read resistance.

https://www.2carpros.com/articles/how-to-use-a-voltmeter

Now go to the door alarm switches on the back of the lock cylinder and use the meter on the two leads in the connector. Now turn the key to lock and you should read 4020 ohms or real close to that. Then turn to unlock and you should see close to 655 ohms. If you see one that only shows the lock numbers and nothing on unlock that is the bad switch. If the switch tests good follow the wires to the door switches and test there as well.
May 26, 2021 at 11:56 AM