valve and cam timing

2012 BUICK VERANO
100,000 MILES • 2.4L • 4 CYL • 2WD • AUTOMATIC
Avatar
RAY DAWKINS
  • MEMBER
  • 28 POSTS
what can cause 6 broken rocker arms on the intake cam?
Oct 21, 2019 at 7:28 PM
Advertisement
Avatar
JACOBANDNICKOLAS
  • CERTIFIED EXPERT
  • 110,175 POSTS
Welcome to 2CarPros.

If this happened all at once, I suspect engine timing may be the issue. This is an interference engine. If engine timing is far enough off, it will bend valves. The easiest way to check this is to see (even know the rockers are broken) if engine compression still exists. If the valves hit hard enough to break the rockers, the valve is at least damaged or bent. Thus, you will find no compression. I realize it has a timing chain and not a belt, but it still happens due to faulty chain tensioners, guides, and so on.

I would recommend removing any broken parts that could cause additional damage.

Here is a link that explains how to check compression. Try it and let me know the results. If you need a compression gauge, most parts stores will lend or rent one to you.

https://www.2carpros.com/articles/how-to-test-engine-compression

Let me know what you find.

Joe
Oct 22, 2019 at 6:47 PM
Avatar
RAY DAWKINS
  • MEMBER
  • 28 POSTS
I did the compression test on all four cylinders and found none.Can you get an accurate reading with broken rocker arms? what can you suggest to repair this problem ?
Oct 24, 2019 at 4:19 PM
Advertisement
Avatar
RAY DAWKINS
  • MEMBER
  • 28 POSTS
I found no compression on all cylinders.
Oct 24, 2019 at 4:22 PM
Avatar
JACOBANDNICKOLAS
  • CERTIFIED EXPERT
  • 110,175 POSTS
Welcome back:

The chain jumped. The only thing at this point you can do is remove the head and see what is actually damaged. I suspect at a minimum the valves are bent.

As far as compression, if the rockers are broken, they aren't holding the valves open so you should get a good compression test.

I have to be honest with you. I feel if I am correct, you are better off finding a good used engine. This is really a nightmare.

Here are the directions for replacing a head gasket. I'm adding them because it explains how to remove and replace the head. Do this and let me know what you find.

______________________________________________
2012 Buick Verano L4-2.4L
Cylinder Head Replacement
Vehicle Engine, Cooling and Exhaust Engine Cylinder Head Assembly Service and Repair Removal and Replacement Cylinder Head Replacement
CYLINDER HEAD REPLACEMENT
Cylinder Head Replacement

Special Tools

EN-45059 - Angle Meter

For equivalent regional tools, refer to Special Tools See: Engine > Electrical / Mechanical Repair > Special Tools.

Removal Procedure

1. Remove the radiator surge tank inlet hose. Refer to Radiator Surge Tank Inlet Hose/Pipe Replacement See: Coolant Reservoir > Removal and Replacement > Radiator Surge Tank Inlet Hose/Pipe Replacement.

2. Remove the three-way catalytic converter. Refer to Three-Way Catalytic Converter Replacement See: Catalytic Converter > Removal and Replacement > Three-Way Catalytic Converter Replacement.

3. Remove the exhaust camshaft. Refer to Exhaust Camshaft Replacement See: Camshaft, Engine > Removal and Replacement > Exhaust Camshaft Replacement.

4. Remove the intake camshaft. Refer to Intake Camshaft Replacement See: Camshaft, Engine > Removal and Replacement > Intake Camshaft Replacement.

5. Remove the intake manifold. Refer to Intake Manifold Replacement See: Intake Manifold > Removal and Replacement > Intake Manifold Replacement.

6. Remove the exhaust manifold. Refer to Exhaust Manifold Replacement See: Exhaust Manifold > Removal and Replacement > Exhaust Manifold Replacement.

7. Remove the fuel injection fuel rail assembly. Refer to Fuel Injection Fuel Rail Assembly Replacement See: Fuel Rail > Removal and Replacement > Fuel Injection Fuel Rail Assembly Replacement.

8. Remove the hydraulic valve lash adjuster. Refer to Hydraulic Valve Lash Adjuster Replacement See: Lifter / Lash Adjuster, Valve > Removal and Replacement > Hydraulic Valve Lash Adjuster Replacement.


pic 1


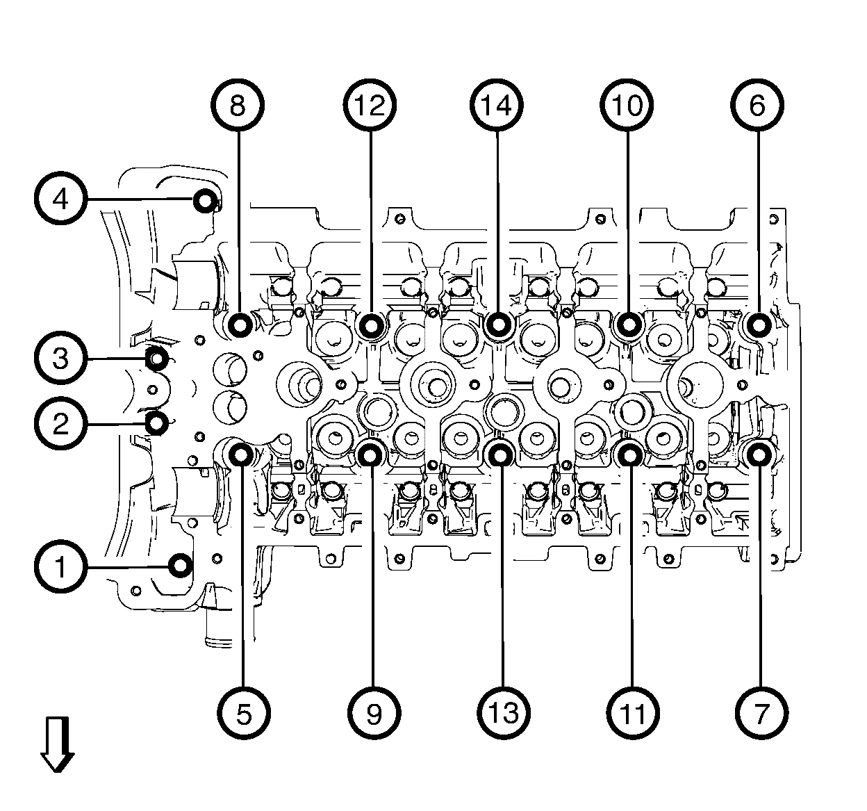
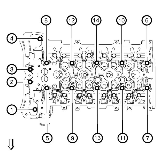
9. Loosen the cylinder head bolts in sequence as shown.


pic 2


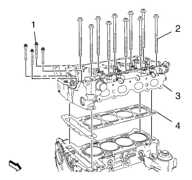
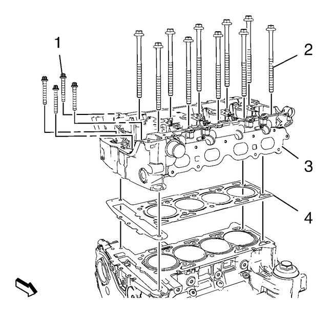
10. Remove and DISCARD the 14 cylinder head bolts (1) and (2).

11. Remove the cylinder head (3) with the cylinder head gasket (4).

Installation Procedure


pic 3


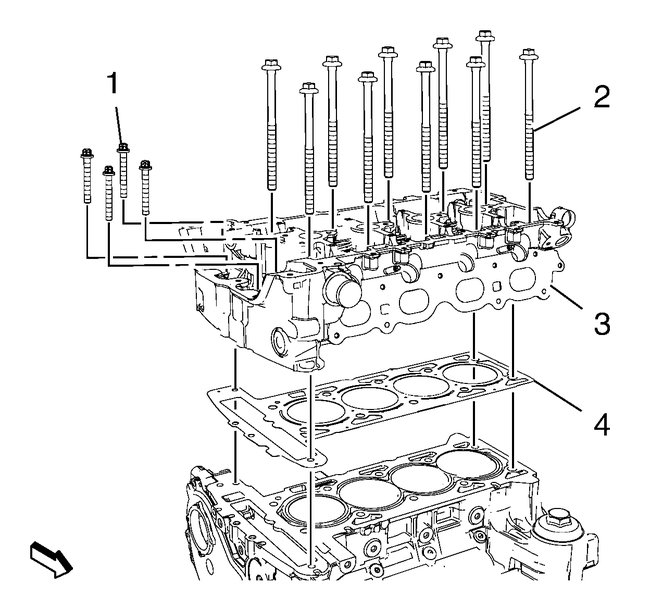
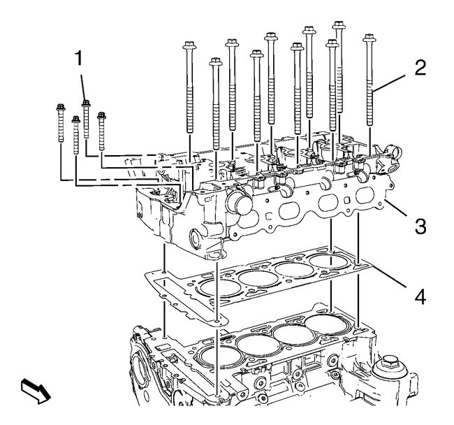
1. Install the cylinder head (3) and the NEW cylinder head gasket (4).

2. Install the 14 cylinder head bolts (1) and (2).


pic 4


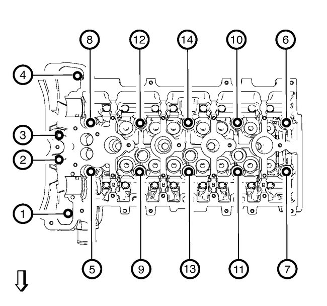
3. Fasten the cylinder head bolts handtighten in sequence as shown.

Caution:
Refer to Fastener Caution See: Vehicle > Technician Safety Information > Fastener Caution.

4. Tighten the NEW cylinder head bolts a first pass in the sequence as shown to 30 Nm (22 lb ft).

Caution:
Refer to Torque-to-Yield Fastener Caution See: Timing Components > Technician Safety Information > Torque-to-Yield Fastener Caution.

5. Tighten the cylinder head bolts a final pass in the sequence shown an additional 155 degrees, using the EN-45059 - meter.

6. Tighten the 4 cylinder head front bolts to 35 Nm (26 lb ft).

7. Install the hydraulic valve lash adjuster. Refer to Hydraulic Valve Lash Adjuster Replacement See: Lifter / Lash Adjuster, Valve > Removal and Replacement > Hydraulic Valve Lash Adjuster Replacement.

8. Install the fuel injection fuel rail assembly. Refer to Fuel Injection Fuel Rail Assembly Replacement See: Fuel Rail > Removal and Replacement > Fuel Injection Fuel Rail Assembly Replacement.

9. Install the intake manifold. Refer to Intake Manifold Replacement See: Intake Manifold > Removal and Replacement > Intake Manifold Replacement.

10. Install the exhaust manifold. Refer to Exhaust Manifold Replacement See: Exhaust Manifold > Removal and Replacement > Exhaust Manifold Replacement.

11. Install the intake camshaft. Refer to Intake Camshaft Replacement See: Camshaft, Engine > Removal and Replacement > Intake Camshaft Replacement.

12. Install the exhaust camshaft. Refer to Exhaust Camshaft Replacement See: Camshaft, Engine > Removal and Replacement > Exhaust Camshaft Replacement.

13. Install the radiator surge tank inlet hose. Refer to Radiator Surge Tank Inlet Hose/Pipe Replacement See: Coolant Reservoir > Removal and Replacement > Radiator Surge Tank Inlet Hose/Pipe Replacement.

14. Install the three-way catalytic converter. Refer to Three-Way Catalytic Converter Replacement See: Catalytic Converter > Removal and Replacement > Three-Way Catalytic Converter Replacement.

15. Replace the engine oil filter and the engine oil. Refer to Engine Oil and Oil Filter Replacement See: Engine Oil > Removal and Replacement > Engine Oil and Oil Filter Replacement.

__________________________________________

Let me know what you find or if you have other questions.

Joe
Oct 24, 2019 at 6:07 PM