Vacuum Lines Diagram needed?

2008 CHEVROLET EXPRESS
90,000 MILES • 6.0L • V8 • 2WD • AUTOMATIC
Avatar
PHANTOMJOCK
  • MEMBER
  • 7 POSTS
High pitch whine/whistle under hood. No variation with RPM, moving, parked, steering. Replaced Tension Pulley, Idler Pulley, Serpentine Belt, Alternator (had new spare). Whine remains. Pulled main Serpentine belt, all intake filters etc., whine remains. Suspect a hose leak. Have new Check Valve Tee to A/C and PCV ready to install with new hose- but need diagram to find all remaining possibilities.

The vehicle listed above is an Express 2500.
May 13, 2024 at 4:32 AM
Advertisement
Avatar
STRAILER
  • CERTIFIED EXPERT
  • 53,854 POSTS
A high pitch whine/whistle can be an engine vacuum leak or the serpentine belt or pully is having an issue, you might want to remove the belt and start the engine to see if the noise is gone, if not then spray soapy water around the intake to see if the noise will change, can you upload a short video of the noise so I can hear it? This guide may help as well, use when the engine is cold only:

https://www.2carpros.com/articles/how-to-use-an-engine-vacuum-gauge

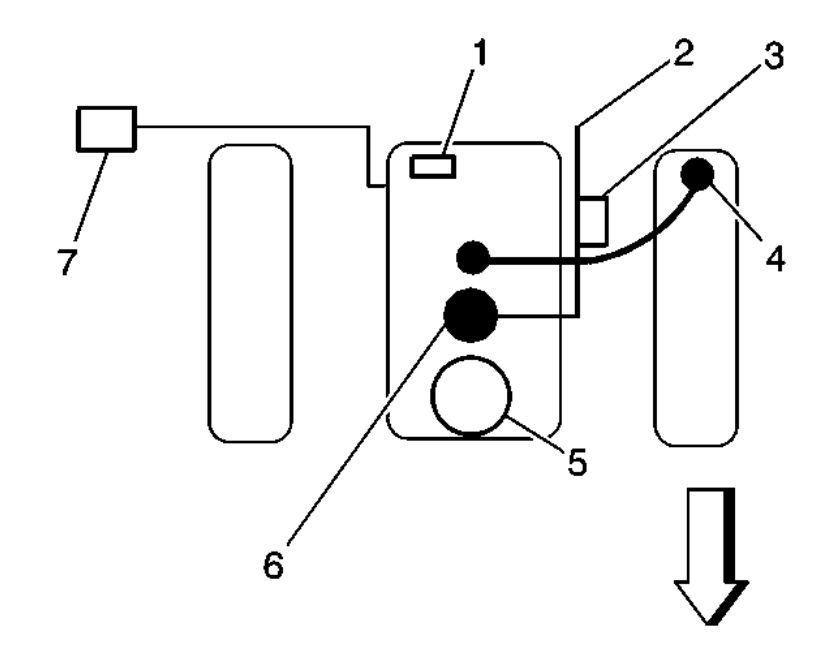
Here are the engine vacuum line diagrams in case you need them. Check out the images (below). Please let us know what happens.
May 13, 2024 at 10:55 AM
Avatar
PHANTOMJOCK
  • MEMBER
  • 7 POSTS
Ken,

Thanks so much for the quick response. I have done the, "Run the engine with belt off" - still the whine. Note: I did not remove the AC belt, but I ran it again with it wet (spray) and still the whine.
I'm working in the Driveway so I must wait for the rain to pass. I'll replace the PCV, and the Check-valve-Tee and hoses that go to the HVAC, and the belt on AC and its tensioner pulley for good measure. I'll use your diagrams to check other hoses too.
I did also have a P0171 and P0174 - bot suggest MAF needed cleaning - Did that. Also the PCV - will do that next.
Overall, the van runs fine, no idle problems - or rough on acceleration. MPG a bit down around 12-12.5 at 70 mph. [ It is a 2008 Chevy Express 2500 Roadtrek camper Van, a bit of weight on and drag too.]
Attached is a 30 sec video of the whine. I don't suspect the added Short Ram Intake, as the whine is there even with it removed! Appropriately Titled - A Most Annoying Whine!
May 13, 2024 at 12:57 PM
Advertisement
Avatar
STRAILER
  • CERTIFIED EXPERT
  • 53,854 POSTS
Thanks for the video, it helps. P0171 and P0174 these are lean codes so back to a vacuum leak which is sounds likes, I would concentrate on the base gasket for the throttle body, that is an O ring seal that can go bad. Once the throttle body is removed, I would service it.

https://www.2carpros.com/articles/throttle-actuator-service

Please go over this guide and get back to us.
May 14, 2024 at 9:54 AM
Avatar
PHANTOMJOCK
  • MEMBER
  • 7 POSTS
Checking back in. I removed and serviced the Throttle Body and installed it with a fresh gasket. The photo will show a large amount of "Crud" at the 6:00 position on the throttle body. Cleaned that all off and suspect that was an easy air-leak potential for the P0171 and P0174. In a practice engine run, without the air intake installed - the 'whine" persists. Can't speak to the codes - still working the whine.
I did note that the whine persists a moment after shutdown. Does that suggest a vacuum that remains and then finishes - or? It is difficult to place its exact location. Interestingly, it gets a bit louder with the electric fans on - suggests alternator load - maybe?
May 20, 2024 at 2:00 PM
Avatar
PHANTOMJOCK
  • MEMBER
  • 7 POSTS
I've also replaced the vacuum lines as shown (in green with a check mark) on the diagram. Some more to check. Thanks in advance! Cheers - Jim
May 20, 2024 at 2:01 PM
Avatar
STRAILER
  • CERTIFIED EXPERT
  • 53,854 POSTS
Okay, let's remove the vacuum line to the brake booster and plug it off, (do not drive the car) to see if the noise changes.
May 21, 2024 at 8:17 AM
Avatar
PHANTOMJOCK
  • MEMBER
  • 7 POSTS
Ken,

I went out to do just as you have suggested. OOPS! My Express Van has a Hydro boost with no booster and check valve to pull.
Instead, we ran it again, this time with my wife under the car. She is very suspicious of the air conditioner compressor - and perhaps the idler pulley. I have a new one in hand and will install it first thing in the morning and see where we are. With that accomplished, I'll reinstall the intake etc., and give it a go. To check codes. At least we may have that sorted if not the whine. We'll know in the morning.
May 21, 2024 at 1:16 PM
Avatar
STRAILER
  • CERTIFIED EXPERT
  • 53,854 POSTS
Can you remove the belt and start the engine to see if the noise is still there? Also it look like an aftermarket air intake?
May 22, 2024 at 10:43 AM
Avatar
PHANTOMJOCK
  • MEMBER
  • 7 POSTS
Ken,

Thanks for the continued support! The whine persists with all belts - On - or Off. A/C and main serpentine belt - either on or off the engine.
Yes the Air Intake is an aftermarket - but the whine is there with it On or Off.

As I continued to chase this whine, I came upon an idea. My plan is/was to use an inflation technique.
1. Close the off the throttle body
2. Add small pressure to the system
3. Escaping air could be found using soap solution.

Using a small hand transfer pump, and a rubber glove, I pumped up the glove (attached to the throttle body).
My observations:
1. I was able to pump past the butterfly. (Engine not on).
2. The glove deflated in under 20 seconds.
A couple of thoughts came to mind. Should the butterfly be "air tight" when closed? If not, that explains how it filled.

Then, as it deflates, can I correctly assume, that excess pressure (very small) is escaping through a leak? Or, is it being distributed through the open/partially opened valves on the cylinders?

I am considering using a small compressor (tire inflator) to apply continuous pressure at one of the vacuum ports and chasing leaks with soap. Bad idea? What pressure would be OK? Or, I can fabricate a coer for the throttle body and apply the pressure there and use the soap. Your thoughts are much appreciated.
Thanks.
May 22, 2024 at 2:20 PM
Avatar
PHANTOMJOCK
  • MEMBER
  • 7 POSTS
Ken, I thank you for all of your support! You have been most helpful. I think we can List this one as case closed!

I have found the source of the "Most Annoying Wine!" [And I believe will set the P0171/P0174 right as well!]

Apparently in one of my many sojurns under the hood, I misplaced it, or it fell off, or something happened to a fairly critical piece of tubing. I actually had a picture of it posted, but dismissed it as the problem, as it appeared to be part of the fuel rail.

Yesterday, I threw up my hands, and visited a fellow that owns a shop (and has a smoke machine). Coincidently he owns a Chevy Express Van. Within 30 seconds after we started it up - and he put his thumb over the port - the whine stopped - Case Closed! Didn't even need the smoke machine. Just a set of fresh eyes to view the situation. The photo is "The Culprit.
We then spent 30 minutes trying to find the what and where it would/should belong.

Later, back home I found more details regarding location of the MAF, airflow, crankcase flow, and how important that little tube could be! Yes important! Surprisingly, I only found its information in the Tri-Five and Corvette web pages. No good diagram showing that port connected to the intake! But now I know.

I will be reworking my aftermarket intake setup too. That vacuum pick up will be placed just ahead of the throttle body, and the MAF will be 11 inches from the butterfly. Those seem to be values that others have found that work.

Again - your support and encouragement was very helpful. Thanks again. I'll highly recommend 2carpros! Regards, Jim
May 24, 2024 at 12:24 PM
Avatar
STRAILER
  • CERTIFIED EXPERT
  • 53,854 POSTS
Glad you could get it fixed, thanks for letting us know. Please use 2CarPros anytime we are here to help.
May 24, 2024 at 12:46 PM