Vacuum line route needed?

2000 BUICK CENTURY
240,000 MILES • V6 • 2WD
Avatar
JUSTIN ARTHUR
  • MEMBER
  • 2 POSTS
From the front of the vehicle the airport on the intake manifold that runs to the transmission is missing, I need to know where on the transmission it goes. I can't locate the transmission Port.
Sep 21, 2022 at 11:00 AM
Advertisement
Avatar
STRAILER
  • CERTIFIED EXPERT
  • 53,854 POSTS
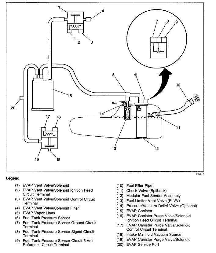
There is no vacuum line that goes to the transmission but here is the vacuum one diagram for the engine so you can see where the lines go. Check out the images (below). Let us know what happens and please upload pictures or videos of the problem.
Sep 22, 2022 at 9:57 AM