Under body A/C lines replacement

1994 FORD E-SERIES VAN
36,000 MILES • 5.8L • V8 • 2WD • AUTOMATIC
Avatar
WILLIAMDUB
  • MEMBER
  • 8 POSTS
This vehicle has had little use. It sat not driven for almost 4 years. I have been driving the van for a month and the A/C has been doing good. But over night there has been Freon leaks in the tubing. The van is from Ohio where salt has destroyed the metal tubing that runs to rear A/C unit. Is there an aftermarket source for these metal A/C lines? As well as any of the lines that carry Freon through out the HVAC system?
Aug 2, 2019 at 5:39 PM
Advertisement
Avatar
JACOBANDNICKOLAS
  • CERTIFIED EXPERT
  • 110,175 POSTS
Welcome to 2CarPros.

Honestly, you should be able to find aftermarket parts. The chances of finding them at a dealership I feel are slim, but maybe a dealer has old stock. I understand what you are asking about buying tubing and making your own, but I don't think you will be able to make the crimps needed for o-rings to seal.

Here is a list of all the parts related to the auxiliary AC on your vehicle. I'm including them so you will have part numbers and exactly what to ask for. The attached pictures correlate with the parts indicated on the lists. Note that the lists are for both heating and cooling.

__________________________________


1994 Ford Truck E 150 Van V8-351 5.8L
Refrigerant and Heater Lines, Rear
Vehicle Heating and Air Conditioning Hose/Line HVAC Service and Repair Removal and Replacement Refrigerant and Heater Lines, Rear
REFRIGERANT AND HEATER LINES, REAR
Refrigerant and Heater Lines, Rear

Removal and Installation

Refer to the following illustrations when removing and installing auxiliary air conditioner lines and heater tubes.

Heater Tubes Auxiliary Unit to Vehicle Underbody


pic 1


Item/Part Number .................... Description

1 19805 .................... Auxiliary Heater Assembly
2 18A459 .................... Grommet
3 18C266 .................... Heater Hoses
4 18658 .................... Heater Core Case Seal
5 - .................... Vehicle Underbody
6 - .................... Drain

Air Conditioner Lines and Heater Tubes Auxiliary Unit to Vehicle Underbody


pic 2


Item/Part Number .................... Description

1 19D578 .................... A/C Evaporator Core Seal
2 18K463 .................... Auxiliary Heater and Air Conditioner Assembly
3 18A459 .................... Grommet
4 18C266 .................... Heater Hoses
5 18658 .................... Seal
6 19E746 .................... A/C Tube Lock Coupling Clip
7 19867 .................... Evaporator to Compressor Suction Line
8 19837 .................... dryer to Evaporator Liquid Line
9 18N332 .................... Clip
10 - .................... Drain
11 - .................... Vehicle Underbody

Dash Panel Heater Tubes, Auxiliary Heat Only


pic 3


Item/Part Number .................... Description

1 14A163 .................... Retainer
2 12A581 .................... Engine Control Sensor Wiring
3 18C553 .................... Hose and Tube Assembly (4.9L, 5.0L, 5.8L, 7.5L Gasoline Engines)
5 - .................... Strap (Part of 18C553)
6 N804234-S2 .................... Screw (2 Req'd)
7 - .................... Vacuum Hose Fitting (Part of Vacuum Harness)
8 8287 .................... Clamps
9 - .................... Vacuum Fitting (Part of Vacuum Harness) (7.3L Diesel Engines)
10 - .................... A/C Vacuum Hose Assembly (Part of Vacuum Harness) (7.3L Diesel Engine)

Dash Panel Air Conditioner Lines and Heater Tubes, Auxiliary Air Conditioning and Heat


pic 4


Item/Part Number .................... Description

1 14A163 .................... Retainer
2 12A581 .................... Engine Control Sensor Wiring
3 N804234-S2 .................... Screw (5 Req'd)
4 19N617 .................... hose and Tube Assembly (Suction Line)
6 18C553 .................... Hose and Tube Assembly (4.9L, 5.0L, 5.9L, 7.5L Gasoline Engines)
7 - .................... Straps (Part of 18C553)
8 - .................... Vacuum Hose Fitting (Part of Vacuum Harness)
9 - .................... Vacuum Fitting
10 - .................... A/C Vacuum Hose (Part of Vacuum Harness) (7.3L Diesel Engine)
11 - .................... Route Item "10" Through Shield as Shown


pic 5


Item/Part Number .................... Description

1 14A163 .................... Retainer
2 12A581 .................... Engine Control Sensor Wiring
3 19N617 .................... Hose Assembly (Suction Line)
4 19972 .................... A/C Lines
5 N8044234-S2 .................... Screw (5 Req'd)
6 19E558 .................... Tube Assembly
7 19E746 .................... A/C Tube Lock Coupling Clip
9 18C553 .................... Hose and Tube Assembly (4.9L, 5.0L, 5.8L, 7.5L Gasoline Engines)
11 - .................... Strap (Part of 18C553)
12 - .................... Route Item "17" Through Shield as Shown
13 19N651 .................... Tube Assembly (Liquid Line)
14 18C266 .................... Heater Hoses
15 - .................... Vacuum Hose Fitting (Part of Vacuum Harness)
16 - .................... Vacuum Fitting (Part of Vacuum Harness) (7.3L Diesel Engine)
17 - .................... A/C Vacuum Hose Assebly (Part of Vacuum Harness) (7.3L Diesel Engine)

Vehicle Underbody Heater Tubes, Auxiliary Heat Only


pic 6


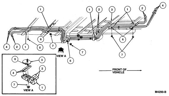
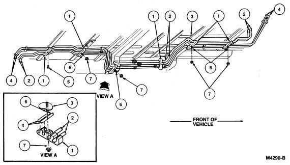
Vehicle Underbody Air Conditioner Lines and Heater Tubes, Auxiliary Air Conditioning and Heat


pic 7


Item/Part Number .................... Description

1 18N332 .................... Clips
2 18472 .................... Heater Water Hose
3 - .................... Vehicle Underbody
4 19835 .................... Condensor to Evaporator Tube
5 55917-S2 .................... Screw (6 Req'd)
6 N807204-S36B .................... Stud (4 Req'd) 22.5-25 Nm (16.6-18.4 Ft-Lb)
7 N621905-S36 .................... Nut (4 Req'd) 22.5-25 Nm (16.6-18.4 Ft-Lb)
_________________________________________________

I hope this helps in some way. Let me know if you have other questions.

Take care,
Joe
Aug 2, 2019 at 9:20 PM
Avatar
WILLIAMDUB
  • MEMBER
  • 8 POSTS
Thank you. And I realize that you respond from the goodwill of your heart. Is there some way to compensate you for your help?
Aug 3, 2019 at 10:42 AM
Advertisement
Avatar
STRAILER
  • CERTIFIED EXPERT
  • 53,854 POSTS
Use 2CarPros anytime, we are here to help. Please tell a friend.
Aug 3, 2019 at 10:42 AM