transmissions codes

1998 GMC SONOMA
144,000 MILES • 2.2L • 4 CYL • 2WD • AUTOMATIC
Avatar
FLO FLORIDA
  • MEMBER
  • 3 POSTS
All transmission codes come up failed. temperature sensor, pressure control sensor, po 748. po753, 756,758,785, p 1810, 1860, 740 converter solenoid. Starts out in third gear, I have to manually down shift to second no overdrive.
Aug 19, 2017 at 8:49 AM
Advertisement
Avatar
STEVE W.
  • CERTIFIED EXPERT
  • 15,113 POSTS
The codes you have suggest both electrical and internal issues with the transmission.

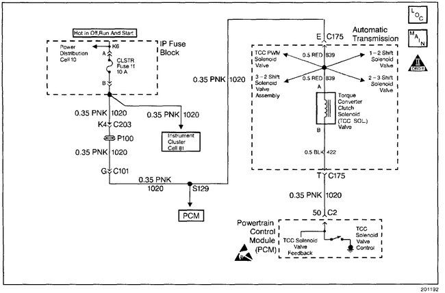
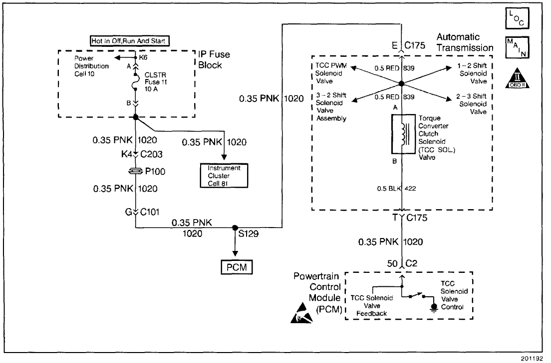
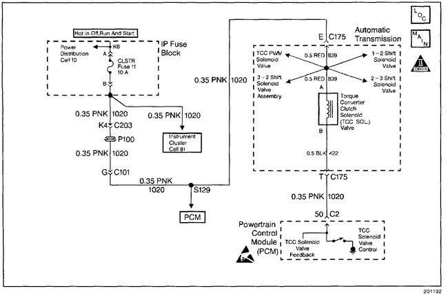
First thing to check is the CLSTR fuse in the dash fuse box. If it blows it can cause some of these codes. If it has blown, check the wiring harness from the transmission to the fuse box for physical damage/shorting. Many of the other codes suggest harness problems as well, you may also want to unplug the harness connector on the transmission and spray some contact cleaner in it and re-connect it a couple times as corrosion could be causing a poor connection.

Next you have a code that suggests you also have some mechanical issues in the transmission being caused by contaminated fluid. For it a flush and new filter should take the contaminates out.
Aug 19, 2017 at 10:50 AM
Avatar
FLO FLORIDA
  • MEMBER
  • 3 POSTS
Thank you for your reply. Can you tell me witch code is for the contaminated fluid? And the scan also said the temperature was minus forty.
Aug 20, 2017 at 4:02 AM
Advertisement
Avatar
STEVE W.
  • CERTIFIED EXPERT
  • 15,113 POSTS
The fuse powers a lot. Not just the transmission but the instruments as well.

DTC P0756
The code does not say "contaminated fluid" per se. Instead the code is most often caused by contaminants in the fluid blocking the valves from moving correctly.

From a TSB on it -
"The most likely cause is chips/debris plugging the filtered AFL oil at orifice number 29 on the top of the spacer plate. This is a very small hole and is easily plugged by a small amount of debris. It is important to remove the spacer plate and inspect orifice number 29 and the immediate area for the presence of chips/debris. Also, the transmission case passage directly above this orifice and the valve body passage directly below should be inspected and cleaned of any chips/debris."

That is why I suggested the flush, filter and fill. The flush may wash the crud out without needing to take the valve body out. It is an easy first test.
Aug 20, 2017 at 11:52 AM
Avatar
FLO FLORIDA
  • MEMBER
  • 3 POSTS
Thank you very much for your help. I found the problem and feel very foolish. I was going to disconnect the external harness plug to count the pin holes to be sure I ordered the right one lo and behold it was unplugged! Problem solved. I did drop the pan cleaned it good not much grime in it replaced the filter and now no bad codes.
Aug 20, 2017 at 1:15 PM
Avatar
STRAILER
  • CERTIFIED EXPERT
  • 53,854 POSTS
Nice work, we are here to help, please use 2CarPros anytime.

Cheers, Ken
Aug 21, 2017 at 4:55 PM
Avatar
STEVE W.
  • CERTIFIED EXPERT
  • 15,113 POSTS
Great that you found it. I would not feel foolish, find me anyone who has not made an oops or twenty over the years. I will not hold my breath waiting.

The contaminants that matter are small, but as the connector was off I would bet that they were all false codes.
Aug 21, 2017 at 7:19 PM