Vehicle does not shift?

2000 BUICK REGAL
220,000 MILES • 3.8L • V6 • 2WD • AUTOMATIC
Avatar
SID BACALZO
  • MEMBER
  • 1 POST
Vehicle does not shift into overdrive stays at almost 4,000 RPM at 60 mph
Apr 14, 2019 at 1:56 PM
Advertisement
Avatar
JACOBANDNICKOLAS
  • CERTIFIED EXPERT
  • 110,175 POSTS
Welcome to 2CarPros.

Sid, I noted that you are a mechanic. With that in mind, I will not go over the basics of checking fluid and the possibility of a plugged filter. Also, I will assume you scanned for trouble codes related to the transmission.

The RPM's sound like you are still in third gear and not fourth. If it is in fourth, my first suspect is the torque converter clutch solenoid. However, confirm the 3-4 shift is occurring.

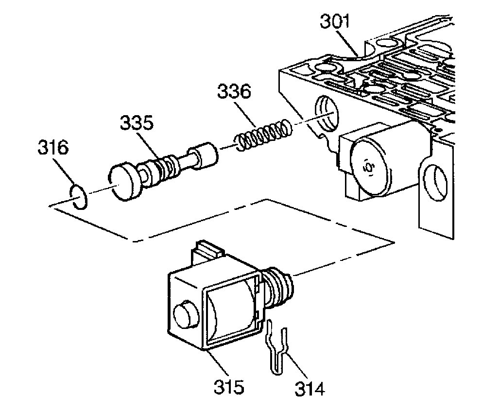
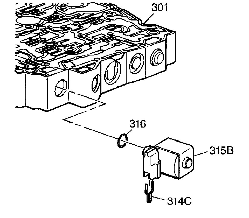
Here are the directions for the TCC solenoid. Picture 1 shows locations of all sensors and solenoids. The remaining are related to the TCC.

__________________________________

TORQUE CONVERTER CLUTCH SOLENOID
Removal Procedure


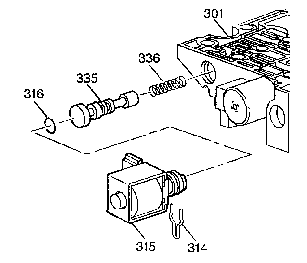
picture 2


1. Remove the case side cover. Refer to Case Side Cover Replacement.
2. Disconnect the transaxle wiring harness.
3. Remove the torque converter clutch solenoid (315).

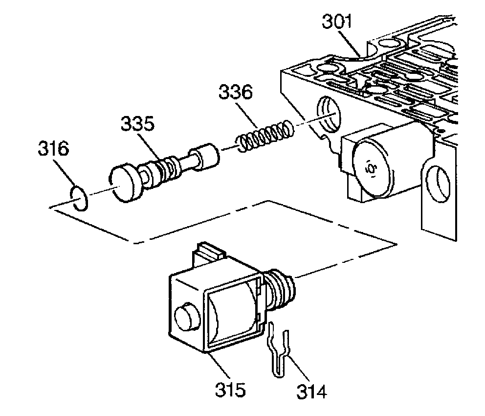
Installation Procedure


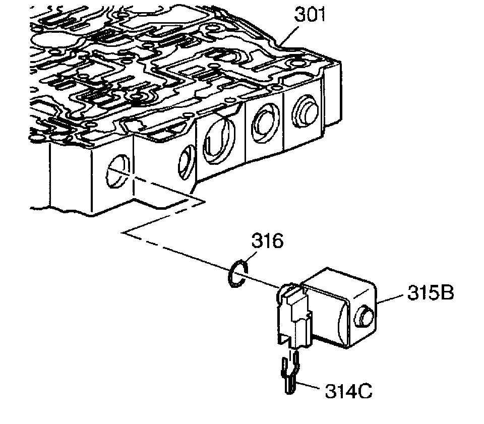
picture 3


1. Install the torque converter clutch solenoid (315).
2. Connect the transaxle wiring harness.
3. Install the case side cover. Refer to Case Side Cover Replacement.

____________________________________

If it isn't shifting into 4th, confirm line pressure. Here are the directions and picture 4 correlates with these directions.

LINE PRESSURE CHECK PROCEDURE
^ Tools Required
- J21867 Universal Pressure Gauge Set

Important: Before performing a line pressure check, verify that the Pressure Control (PC) solenoid valve is receiving the correct electrical signal from the PCM.

1. Install a Scan Tool.

Caution: Keep the brakes applied at all times in order to prevent unexpected vehicle motion. Personal injury may result if the vehicle moves unexpectedly.

2. Start the engine and set the parking brake.
3. Check for a stored Diagnostic Trouble Code (DTC) .
4. Repair the vehicle, if necessary.
5. Check the fluid level. Refer to the Transmission Fluid Checking Procedure. See: Fluid - A/T > Component Tests and General Diagnostics > Transmission Fluid Checking Procedure
6. Check the manual linkage for proper adjustment.


picture 4


7. Turn the engine off. Remove the oil pressure test hole plug and install the J21867.
8. Put the gear selector in PARK range and set the parking brake.
9. Start the engine and allow the engine to warm up at idle.

Notice: Total test running time should not be longer than two minutes, or else transmission damage could occur.

10. Access the PC solenoid valve control test on the Scan Tool.
11. Increase the PC solenoid actual current from 0.0 to 1.0 amps in 0.1 amp increments. Allow the pressure to stabilize for five seconds after each pressure change. Read the corresponding line pressure on the J21867.
12. Refer to the Line Pressure specification table. Compare the data to the table.
13. If pressure readings differ greatly from the table, refer to Incorrect Line Pressure. See: Automatic Transmission/Transaxle > Symptom Related Diagnostic Procedures > Incorrect Line Pressure
14. Remove the J 21867.
15. Apply sealant GM P/N 12345382 to the oil pressure test hole plug

Notice: Refer to Fastener Notice in Service Precautions.

16. Install the oil pressure test hole plug.
Tighten
Tighten the oil pressure test hole plug to 12 Nm (106 inch lbs.).

___________________________________

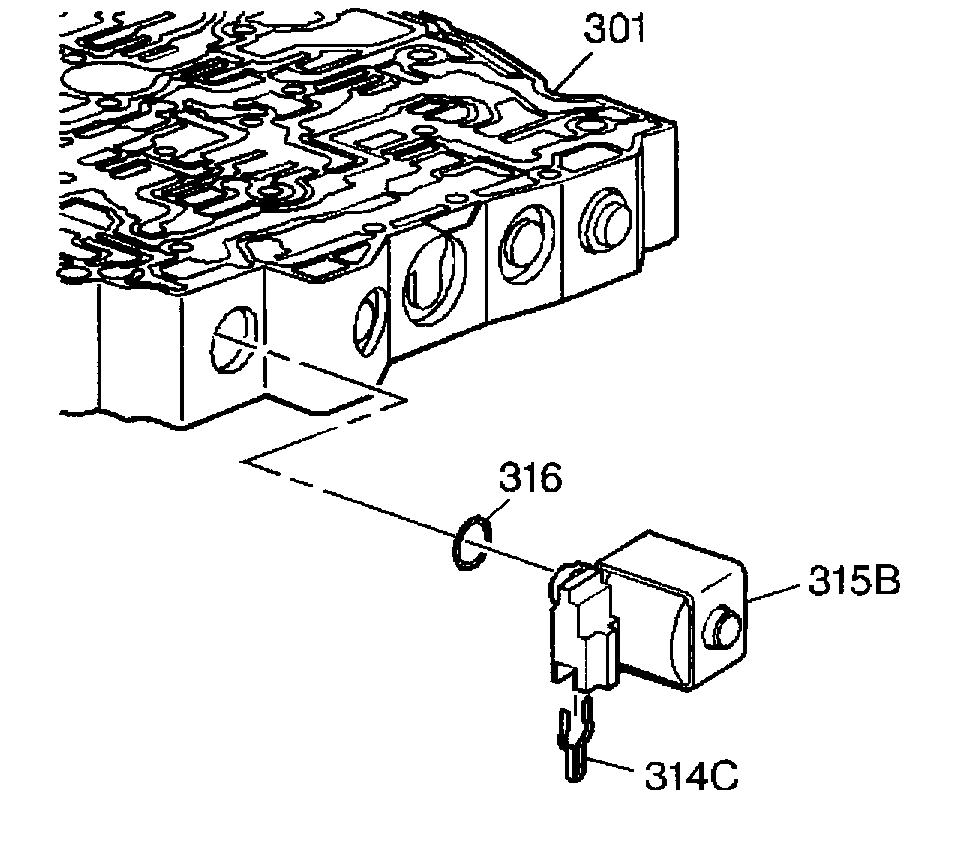
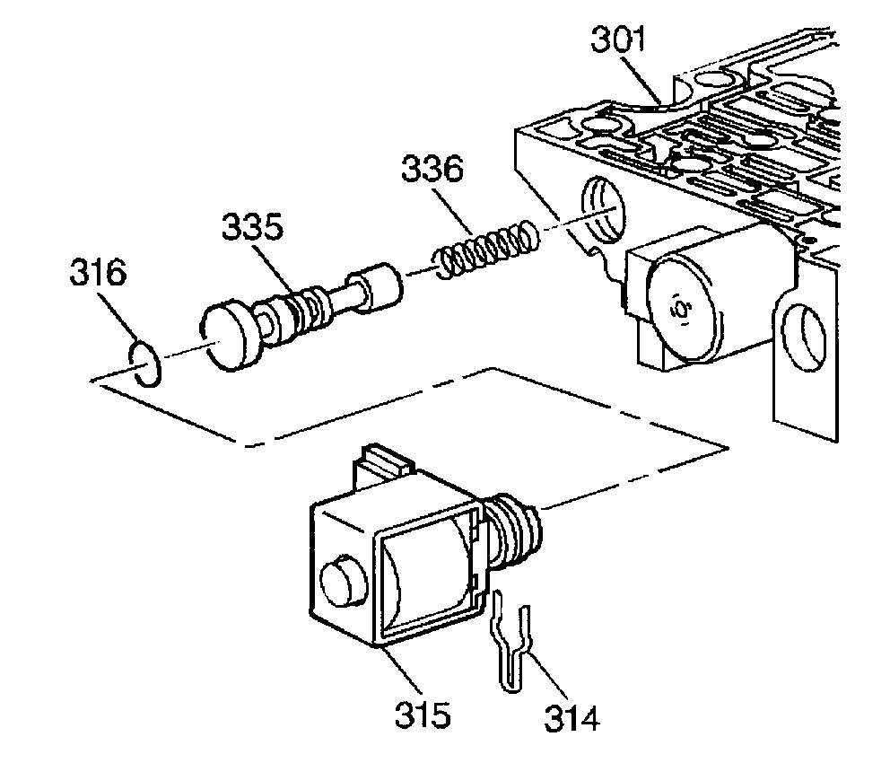
Here are directions for the 2-3 shift solenoid if needed. The remaining pics correlate with these directions.

2-3 SHIFT SOLENOID VALVE REPLACEMENT
Removal Procedure


picture 5


1. Remove the case side cover. Refer to Case Side Cover Replacement.
2. Disconnect the transaxle wiring harness.
3. Remove the 2-3 shift solenoid (315B).

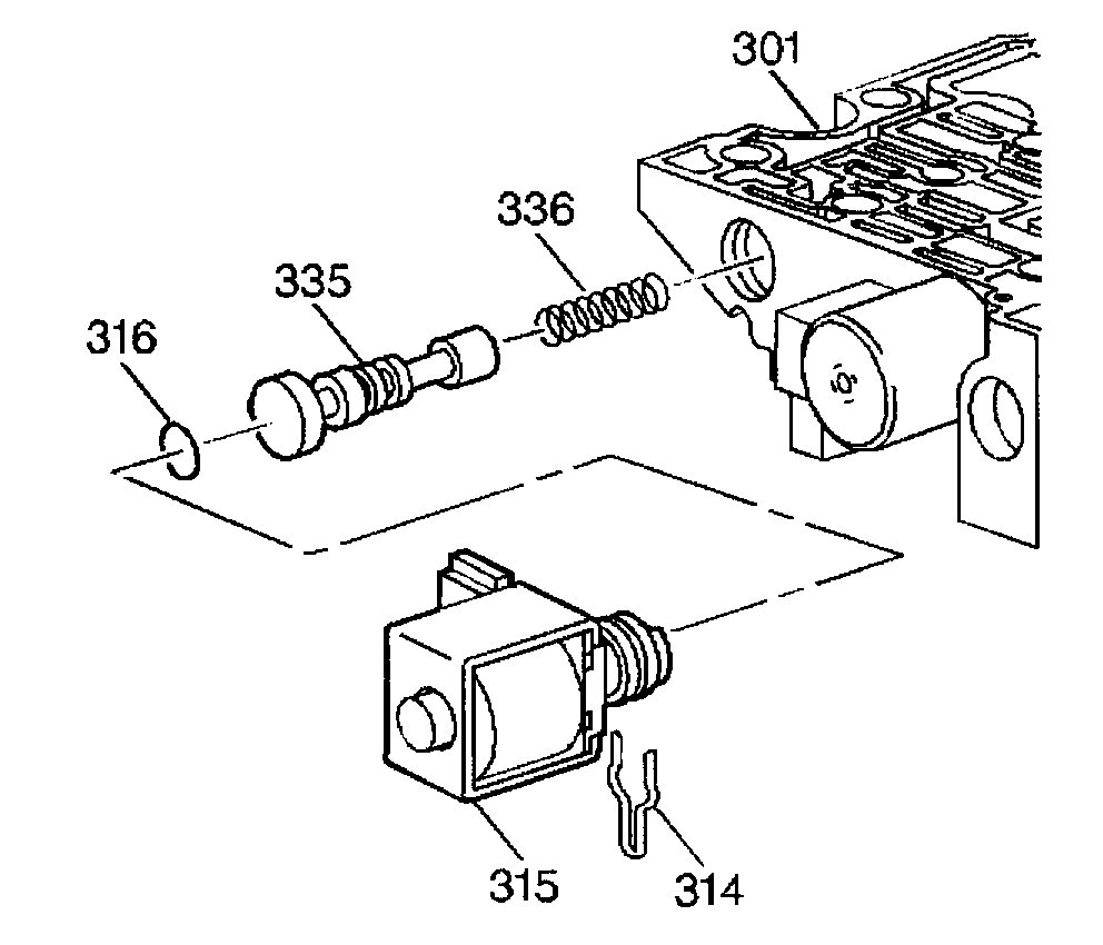
Installation Procedure


picture 5 also


1. Install the 2-3 shift solenoid (315B).
2. Connect the transaxle wiring harness.
3. Install the case side cover. Refer to Case Side Cover Replacement.

______________________

One last thing. Here is a list of functions. I'm adding them in case you need them.

Overdrive Range, Fourth Gear -TCC Not Applied
Vehicle Transmission and Drivetrain Automatic Transmission/Transaxle Description and Operation Components 4T60-E/4T65-E Automatic Transaxle Unit Repair - Description and Operation Overdrive Range, Fourth Gear -TCC Not Applied
OVERDRIVE RANGE, FOURTH GEAR -TCC NOT APPLIED
As the speed of the vehicle continues to increase, the Powertrain Control Module (PCM) monitors the input signals from various engine and transmission sensors. The PCM uses this data to energize the 1-2, 3-4 shift solenoid (SS) valve in order to shift the transmission into fourth gear at the appropriate time.

1-2,3-4 Shift Solenoid (SS) Valve (315)
Energizes to prevent fluid from exhausting out of the line passage and the 1-2, 3-4 signal fluid passage.

1-2 Shift Valve (318)
Is held against 1-2, 3-4 signal fluid pressure by spring pressure and 2-3 off signal fluid pressure at the end of the valve.

3-4 Shift Valve (362)
When 1-2, 3-4 signal fluid shifts the 3-4 shift valve against spring force, it allows 3rd fluid to enter the 4th clutch fluid passage. 4th clutch fluid is forced through a feed orifice before stroking the 3-4 accumulator piston (428) and applying the fourth clutch.

Fourth Clutch
4th Clutch fluid pressure applies the fourth clutch to shift the transmission to fourth gear.

Third Clutch
Remains applied, but is ineffective.

Third Roller Clutch
Overruns as fourth clutch is applied. In third gear, the input clutch is released allowing input clutch apply fluid to exhaust through the 3-4 shift valve (362) into the input clutch feed passage. At the 2-3 shift valve (357), exhausting input clutch apply fluid is directed into the D3 passage and out the manual valve (404).

Second Clutch
Remains applied.

Forward Band
Remains applied, but is ineffective.

1-2 Support Roller Clutch
Continues to overrun.

3-4 Accumulator
4th clutch fluid is also routed to the 3-4 accumulator piston. 4th clutch fluid pressure moves the piston against spring force and 3-4 accumulator feed fluid pressure. This action absorbs initial 4th clutch fluid pressure to cushion the 4th clutch apply. The movement of the 3-4 accumulator piston forces some accumulator fluid out of the accumulator.

3-4 Accumulator Valve
Excess 3-4 accumulator feed fluid is routed back to the 3-4 accumulator valve. This fluid pressure moves the accumulator valve against spring force and torque signal fluid pressure to regulate the exhaust of excess accumulator fluid. This regulation provides additional control for the fourth clutch apply.

Torque Converter Clutch
Torque Converter Clutch (TCC) apply could vary depending on vehicle application and may be calibrated to apply in Overdrive Range - Fourth Gear.

Transmission Fluid Pressure (TFP) Manual Valve Position Switch
Release fluid pressure routed to the TFP manual valve position switch signals the Powertrain Control Module (PCM) that the Torque Converter Clutch (TCC) is released.

_________________

Let me know if any of this helps.

Joe
Apr 14, 2019 at 5:50 PM