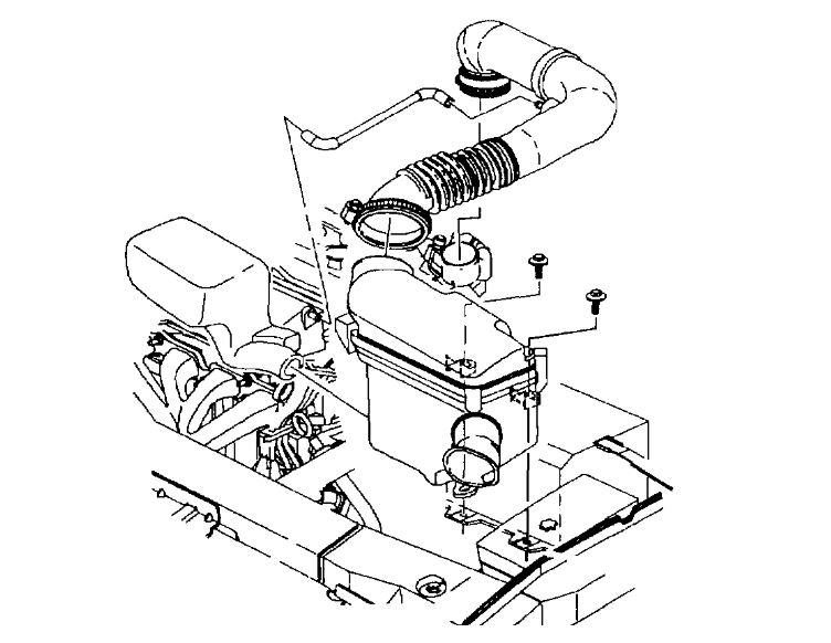
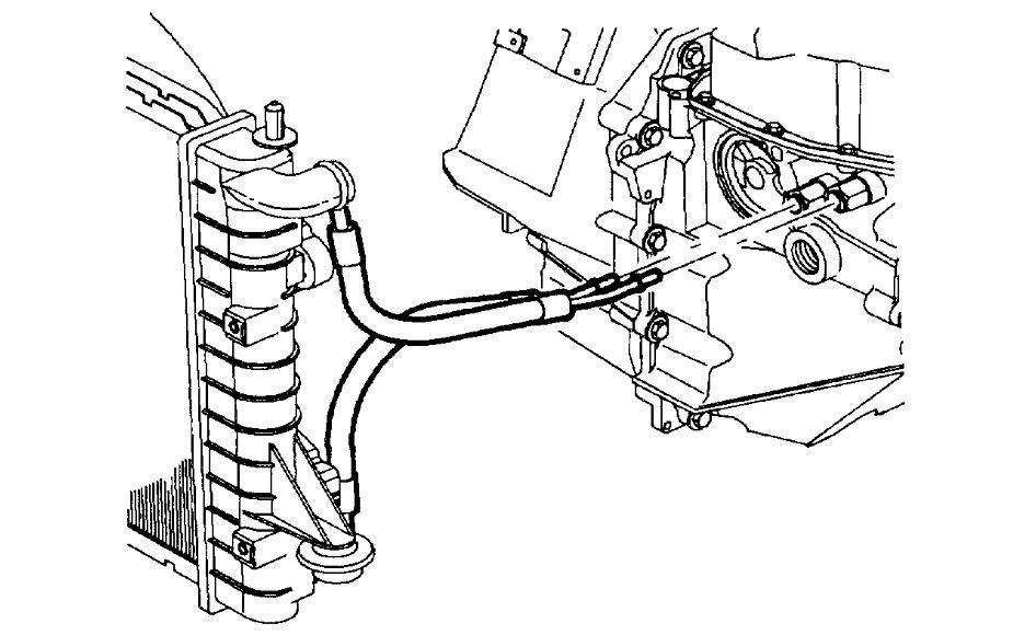
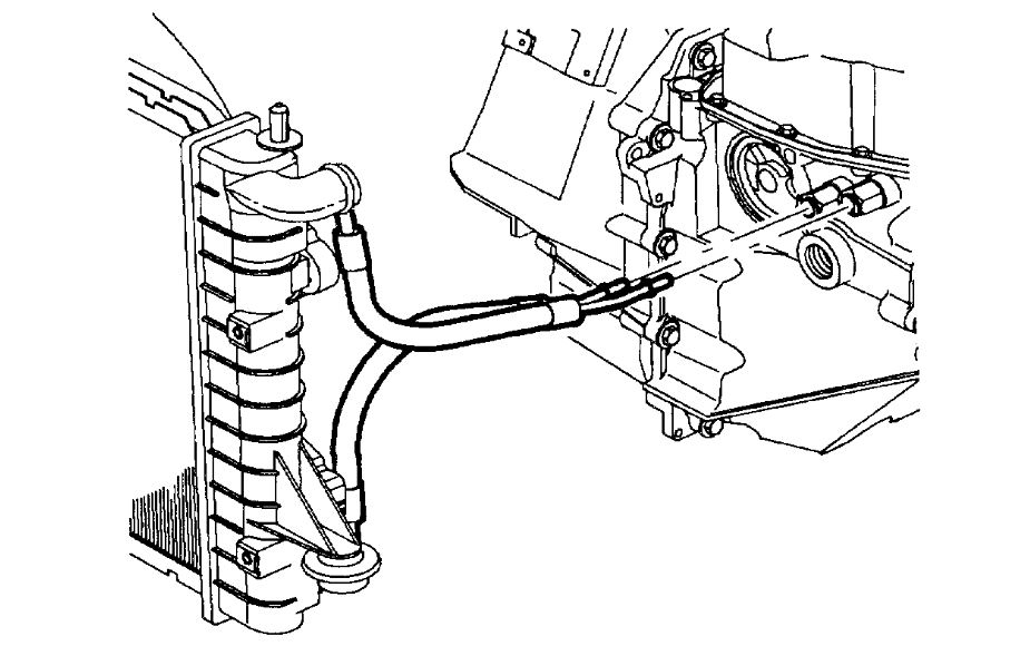
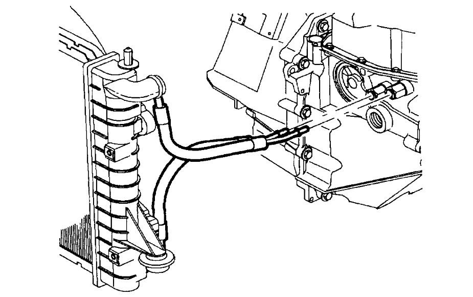
My transmission is leaking. Assumed it was the spin on filter so I replaced it leaking more than before. Also, had two episodes of reverse slam. Seems to shift other gears fine but sometimes hesitates if using passing gear. Your thoughts?
May 16, 2019 at 6:12 AM


