Transmission does not shift?

2005 CHEVROLET TRAILBLAZER
275,000 MILES
Avatar
CHRIS STEVENSON
  • MEMBER
  • 1 POST
My vehicle will not shift out of second gear. I have asked what it could be and I need to change the gearbox in the transmission, but I cannot find one where can I get one? Or is there an easier way?
Apr 8, 2018 at 5:30 PM
Advertisement
Avatar
ASEMASTER6371
  • CERTIFIED EXPERT
  • 52,796 POSTS
Hello,

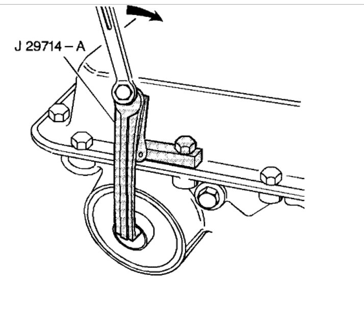
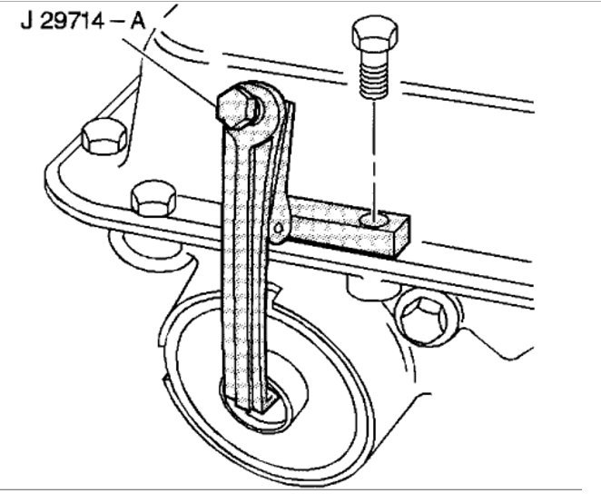
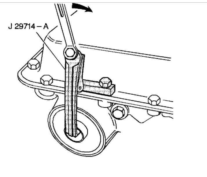
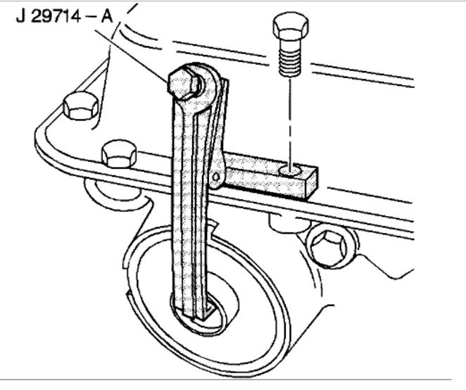
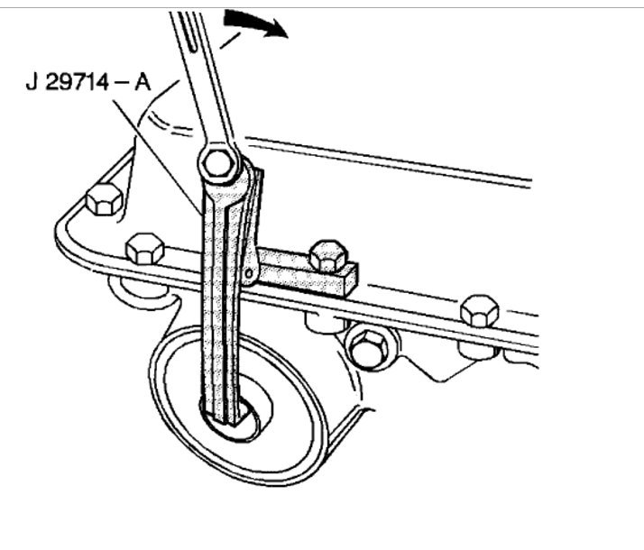
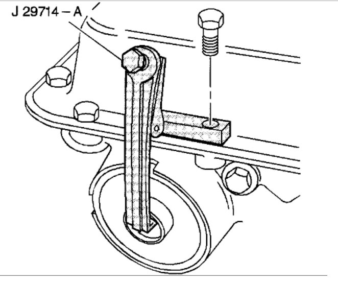
I would check the sendony to third gear shift solenoid is it common for them to go out this guide will help us with diagrams below to show you how to fix it on your car.

https://www.2carpros.com/articles/automatic-transmission-problems

Check out the diagrams (Below). Please let us know what happens.
Apr 8, 2018 at 6:12 PM
Avatar
BULLDOG46
  • MEMBER
  • 0 POST
This was the problem on my transmission. I changed all solenoids and the transmission is working again!
Sep 11, 2020 at 4:00 PM
Advertisement
Avatar
DBAKER761
  • MEMBER
  • 6 POSTS
I have a 2005 Chevrolet Trailblazer with the 6 cylinder engine and 4L60E tranny. On way home from a trip the transmission would not shift into 4th gear (overdrive). 1-3 gears shift fine. No engine codes being displayed. Changed fluid and found no metal. Took to a local transmission shop and they are stumped. Shop advised that when they hooked up to the computer they advised they can see where the computer is sending the command to shift into 4th gear, but it's not happening. He advised if it was a clutch pack problem it would "neutral" out when given the command to shift into 4th, but the truck just stays in 3rd. Tranny shop is leaning towards computer or electrical, but still unknown. Any ideas?
Sep 11, 2020 at 4:00 PM (Merged)
Avatar
RASMATAZ
  • CERTIFIED EXPERT
  • 75,992 POSTS
The computer might not be giving a command because a shaft speed sensor could be going out but not enough to trigger a code. You can try checking live data on a test drive or replace both the input and output shaft speed sensors
Sep 11, 2020 at 4:00 PM (Merged)
Avatar
DBAKER761
  • MEMBER
  • 6 POSTS
It's my understanding that on this model the shift solenoids are both activated in 2nd gear. If so doesn't this mean they are both good?
Sep 11, 2020 at 4:00 PM (Merged)
Avatar
TWO LANE
  • EXPERT
  • 34 POSTS
If they see that the computer is sending the signal to shift into 4th gear have they checked at the trans is the trans solenoid receiving that signal if so the would eliminate the wiring to the trans and at the trans what controls 4th.I would go more towards electrical but poss. internal trans problem. I will look up the control circuit and see what controls 4th.and will get back to you.
Sep 11, 2020 at 4:00 PM (Merged)
Avatar
DBAKER761
  • MEMBER
  • 6 POSTS
That would be a great help. Thank you
Sep 11, 2020 at 4:00 PM (Merged)
Avatar
TWO LANE
  • EXPERT
  • 34 POSTS
There is a TSB for your car but it doesn't help our situation
Ref num 00-07-30-022D
Affected models 1993-2005 GM Passenger cars and light duty trucks
no rev,second gear or fourth gear
replace reaction sun shell with more robust heat treated parts
Sep 11, 2020 at 4:00 PM (Merged)
Avatar
DBAKER761
  • MEMBER
  • 6 POSTS
I thought about that but if the sun shell busted I would have metal in the pan but it was clean. Thinking about bringing it home from the tranny shop and taking a look at the wiring. How would I test to see if the transmission is getting the shift command from the computer. Do I need the Tech 2 for that?
Sep 11, 2020 at 4:00 PM (Merged)
Avatar
TWO LANE
  • EXPERT
  • 34 POSTS
Yes you need it to accurate the sensors and see what is going on.That why you can actuate that sensor and check it see if in specs also you can check the pressures in the valve body so you can see if it is electrical or pressure problem.
Sep 11, 2020 at 4:00 PM (Merged)
Avatar
TRACY WHITE MARTIN
  • MEMBER
  • 11 POSTS
Removed transmission and had it rebuilt about two years ago. Never an issue but lately I have noticed that when it is cold, when first started up and placed in drive, it will change gears from low to second and will not shift on up through the gears into third and so on. After a couple or so miles when engine is good and warmed up, then it will change flawlessly in any gear. There is never any slipping. I thought maybe transmission filter so I bought that and the fluid required and put that in myself. It seemed to make really no difference. I did not notice any metal whatsoever in the pan. Beautifully clean. I am at a loss. Can anyone offer any advise? Governor pressure solenoid?
Sep 11, 2020 at 4:00 PM (Merged)
Avatar
DBAKER761
  • MEMBER
  • 6 POSTS
I appreciate all of your help. It did end up being an internal problem and the transmission was rebuilt. Thanks again
Sep 11, 2020 at 4:00 PM (Merged)
Avatar
HMAC300
  • CERTIFIED EXPERT
  • 48,601 POSTS
it is in limp mode when it does that if it shifts governor is okay maybe a sticky valve, have a transmission professional look at it.
Sep 11, 2020 at 4:00 PM (Merged)
Avatar
WOOD614
  • MEMBER
  • 2 POSTS
it starts and runs but when I drive it it shifts the first two gears but when it will not shift into third . I was told this might a PCM problem. I also checked the fluid it is not low. I just want to know for sure so I can get it fixed. Thanks
Sep 11, 2020 at 4:00 PM (Merged)
Avatar
MHPAUTOS
  • CERTIFIED EXPERT
  • 31,937 POSTS
So many things can be at fault here, it really need to be diagnoses first hand. it is sounding like an internal problem.i would get a transmission tech to do a road test and ask for an opinion. they may be able to do some basic tests quickly and cheaply to give you a better idea, but with out actually being able to see this problem first hand it is very hard to make an accurate diagnosis. if you can get a live data read, you may see if the second to third shift solenoid is working, this can often be a problem that can be fixed fairly easily.
Sep 11, 2020 at 4:00 PM (Merged)
Avatar
WOOD614
  • MEMBER
  • 2 POSTS
That is a good place to start. thanks.
Sep 11, 2020 at 4:00 PM (Merged)
Avatar
BREEZEYBYE
  • MEMBER
  • 1 POST
I have a 2004 Chevy Trailblazer 4 wheel drive w/ 98,000. I had a problem with it when I go to take off, around 20 mph, my RPM's goes up real high to about 4, but my car doesn't seem to want to go. But it will eventually shift into gear at the 30 mph mark. It's like it won't shift into that first gear. Other than that it runs great. And I noticed that if I slowly take off and let my foot off the break it will shift and the RPM's don't go high. I had a mechanic use a hand held computer device to check the tranmission and he didn't see anything. He also put a transmission filter in. Could this be my transmission or something to do with the 4 wheel drive switch?
Sep 11, 2020 at 4:01 PM (Merged)
Avatar
JIMMY48
  • MEMBER
  • 1 POST
Have you ever received an answer to your question ? I have 2004 Trailblazer with exactly the same issue you described......please reply if you found (or didn;t) a solution.
Sep 11, 2020 at 4:01 PM (Merged)
Avatar
STRAILER
  • CERTIFIED EXPERT
  • 53,854 POSTS
Hello,

Lets start by checking for codes.

https://www.2carpros.com/articles/checking-a-service-engine-soon-or-check-engine-light-on-or-flashing

Please run this test and get back to us so we can continue helping you.

Cheers, Ken
Sep 11, 2020 at 4:01 PM (Merged)
Avatar
TRACY WHITE MARTIN
  • MEMBER
  • 11 POSTS
Ok. Check engine light is not on but i will have it checked and respond back asap.
Sep 11, 2020 at 4:01 PM (Merged)
Avatar
STRAILER
  • CERTIFIED EXPERT
  • 53,854 POSTS
Please let us know what happens.

Cheers, Ken
Sep 11, 2020 at 4:01 PM (Merged)
Avatar
TRACY WHITE MARTIN
  • MEMBER
  • 11 POSTS
Ok had car scanned, came up with a code indicating bad torque convertor solenoid. So I bought that as well as 1 other round solenoid directly next to the torque converter that the parts store stated was also a torque converter solenoid. I also bought 1 of the shift solenoid. Dropped the pan and installed all 3 of those. Topped off with fluid, and test drive it. No difference. Except that now, when I take off it shifts so smooth from 1st to 2nd, but that's it. When it got up to speed when it should change on into 3rd, it seemed almost like you pushed it up into neutral. It felt like it was changing, but the rpm's, climbed but it was basically in neutral. As soon as I let off the gas and lightly stepped back on the gas it was still in 2nd,. While the pan was off earlier I noticed there was one other what looked a shift solenoid and one other round in shape solenoid. I have no idea if they have anything to do with my issue or not but I'm desperate. Now up until a couple days ago it would shift into 3rd, after the engine warmed up and fine the rest of the day, but now it acts like it only has first and second and goes into neutral after that. I have never felt the transmission slip at anytime during all of this. The pan was the cleanest, lack of any metal shavings, I've ever seen. I'm betting for help and a direction. Please.
Sep 11, 2020 at 4:01 PM (Merged)
Avatar
STRAILER
  • CERTIFIED EXPERT
  • 53,854 POSTS
Nice work getting the shift solenoids replaced. After you replace them did you clear the codes? If so it sounds like the servo seal that is bad which will require some disassembly. Here is some guides to show you how to check the seals.

Please let us know what happens.

Cheers, Ken

Sep 11, 2020 at 4:01 PM (Merged)
Avatar
TRACY WHITE MARTIN
  • MEMBER
  • 11 POSTS
Ok thank you. Will this require removal of the transmission or can this be done simply by dropping the pan? I'm just praying the entire transmission isn't gone and requiring a complete rebuild. What do you think sir?
Sep 11, 2020 at 4:01 PM (Merged)
Avatar
STRAILER
  • CERTIFIED EXPERT
  • 53,854 POSTS
You should be able to do this repair without removing the transmission. If the seals are okay then the transmission will need to be rebuilt.

Please let us know what happens.

Cheers, Ken
Sep 11, 2020 at 4:01 PM (Merged)
Avatar
TMJJ5866
  • MEMBER
  • 4 POSTS
My 2004 trailblazer will not go beyond 50 mph without hesistating and will not change out in low gear.
Sep 11, 2020 at 4:01 PM (Merged)
Avatar
DOCHAGERTY
  • CERTIFIED EXPERT
  • 9,603 POSTS
Have you scanned for fault codes yet, if not, please do so and then repost.
Sep 11, 2020 at 4:01 PM (Merged)
Avatar
TMJJ5866
  • MEMBER
  • 4 POSTS
Yes. Where is the transmission speed control sensor located?
Sep 11, 2020 at 4:01 PM (Merged)
Avatar
DOCHAGERTY
  • CERTIFIED EXPERT
  • 9,603 POSTS


Vehicle Speed Sensor is located in the tailshaft housing
Sep 11, 2020 at 4:01 PM (Merged)
Avatar
LYAGER
  • MEMBER
  • 1 POST
2003 Chevrolet Trailblazer - yesterday for no apparent reason the trasmission would no shift automatically - only would shift manually and the engine seems to be over reving. We first thought the transmission was the problem now we are wondering about some type of sensor.
Sep 11, 2020 at 4:01 PM (Merged)
Avatar
JACOBANDNICKOLAS
  • CERTIFIED EXPERT
  • 110,175 POSTS
Chances are it is a sensor, but one in the transmission and not the engine. IT could be a throttle position sensor.
Sep 11, 2020 at 4:01 PM (Merged)
Avatar
NICKB275
  • MEMBER
  • 24 POSTS
If the check engine light is lit, you may have shift solenoid codes involved, I have seen many connectors at the tranny which had corrosion. Circular plug on the right side of the transmission. Pull the codes and see what you have.
Sep 11, 2020 at 4:01 PM (Merged)
Avatar
RYANLESS
  • MEMBER
  • 2 POSTS
Good morning,

I have a 2003 trailblazer and trying to figure out if i have a transmission issue or not. i have taken my vehicle to two shops and they have found nothing. I was wondering if you could guide me in the right direction with what might be wrong or what i can ask the mechanic to look for.

Problem:
1) Lost about 2-4 mpg
2) When I am going about 50 mph on a slight incline with the throttle being steady:
the rpm's jump up and down until i step on the gas or let off
the car seems to bog down
3) When i have the cruise set or just footing the pedal going 70 mph'ish on an incline
The car bogs way down and then decides to shift down which then revs the engine way up.
This doesn't happen all time and the engine light does not go on. Could this be a transmission issue? electrical? etc.
Sep 11, 2020 at 4:02 PM (Merged)
Avatar
KHLOW2008
  • CERTIFIED EXPERT
  • 41,814 POSTS
Symptoms don't indicate a transmission problem. You are losing performance that is affecting the mileage and it could be fuel, EGR or ignition related.

It could also be due to a dirty MAF. Have it cleaned and retest.
Sep 11, 2020 at 4:02 PM (Merged)
Avatar
RYANLESS
  • MEMBER
  • 2 POSTS
Throttle body was cleaned, from what i get trailblazers dont have egr
Sep 11, 2020 at 4:02 PM (Merged)
Avatar
KHLOW2008
  • CERTIFIED EXPERT
  • 41,814 POSTS
Not throttle body, that does not affect the performance, only idling. The MAF and TPS would affect the performance.
Sep 11, 2020 at 4:02 PM (Merged)
Avatar
MARIA ALLEN-HAYES
  • MEMBER
  • 2 POSTS
A. Was shifting fine when I bought it month ago. Okay recently notices driving cpl times that while after already shifted while being in D that the rpm hand stopped being normal at 1.5 to 2.5 rpm's. Went to 3 or 4 at times back down instantly to normal.

B. Gave no warnings since that happened only few times every other time shifted normally.

C. Notices shifting into shifter gears began be a bit more pressure needed 2 move shifter like into P R D . So chkd fluid was full. Okay then after shifted every shifter gear PR N D 1 2 3 the pressure stopped as manual says before check fluid shift every 2 secs into next shifters gears.

D. Headed out yesterday all sudden I shifted 1 time while in D and then bam heard whining out as if I wasn't into D fully so I looked but on dash said I was in D and touch gas couldn't go faster than the gear of its 1st shift being in D normally shifts 4 or 5 times in D but now only did 1 time I try accelerate made it whine out as rpm hand went up to 4rpm down to 3 then bk 2 normal so I had try coast bk home luckily wasn't far away.

E. What else am I missing to say? I bought auto from a guy less than a month ago and I noticed since I've owned it that turning it off has an thump sound my bf recorded underneath see what was shaking and was oil pan and transmission . The sound would silent where thump wasn't happening for awhile turning it off now since did the whining out like it wasn't into gear was the sound when shifted only once in D. But since yesterday afterwards when I could not accelerate past 10 or 15 mph when I got back the thump was way louder turning SUV off like something was loose or slamming. Now also I heard an noise 1 night rpm's stayed correct but sounded like an loud vibration sound accelerating made noise louder. Has not done such since but that same night while idling I heard an loud noise like thump under my hood my bro said was my lifter I'm wondering if was my transmission. Guy I bought SUV from said transmission was replaced 20,000 miles ago . I'm wondering if transmission was bolted in placement fully or if not can transmission slide around to where my linkage messed up as to where D gear is maybe now is second gear on shifter?

F. I'm told can be an clogged transmission filter or they say screen or an bad shifting solenoid or even an torque converter. However, does torque converter be what shifts the auto in between gears or it is the pump that pushes transmission fluid? Please help me! I paid enough for that trailblazer in fact the most ever paid for auto for me was this trailblazer. It's the LTZ trim. Yes they hooked up an stereo Jensen vx7020 so DVD would play while driving down the road I do not know because that's wired against manufacturer instructions cause any harm ? My blower motor and heat started acting up first before slipping had begun I do not know if that's anything do with it also I read online that an coil could cause trailblazer to not shift.My bf says starts out in 1st D shift when put it into D and because it shifts normal 1 time for me means it shifts into 2nd D shift gear but then whines out. If guy put different transmission in 20,000 miles ago seems I wouldn't be having no bad transmission problems. I hope doesn't need a different transmission. Can an clogged transmission screen do this or any sensors are there any sensors plugs or fuses could make this happen? Out of blues after yes the hand a few times went up to 3 and 4 rpm's if went back to normal and I shifted fine the times the hand was wacky but that only happened few times and I don't think was like few days in an row I think was so many days in between the few times it shown rpm hand going whacked. So went all of an sudden to where now just cannot drive it past 10 or 15 mph. Because touch gas it whines out with noise like it would if shifter was to be knocked backwards or downwards in to shifter number 2 but shifter said was in D although sounded like it was in wrong gear. Please tell me that my transmission is okay and is something simple to fix. The guy I know who's going to change transmission screen for me. I watched YouTube it is like tops 20 minutes job wants 75 bucks which is expensive especially if it is not my screen. There may be more stuff I'm lacking to inform you of if you have any questions please ask because so far this is all I can recall of for info that I'm aware of. No check engine light is on back alerts lit up nothing so being in line of traffic and all sudden can't shift touching gas to go faster to get up to speed limit. I almost got rear ended and it is very scary to feel stuck where you cant move your auto. so I'm told don't whine it out and don't drive it or else can ruin my transmission. Do you think the thump noise turning it off with an vibration or shake feeling is maybe transmission not bolted in correctly !? Also in cold weather I was taught warm autos up before leaving or else can ruin lifters in the motor. So yes was warmed up before I left. And to try it cold my friend says try it while is cold but I'm too scared of would ruin mg transmission being it whines out after it shifts 1 time in the drive gear aka D.
Sep 11, 2020 at 4:02 PM (Merged)
Avatar
ASEMASTER6371
  • CERTIFIED EXPERT
  • 52,796 POSTS
Good morning,

I would start by changing the fluid and filter. It could be a clogged screen in the filter.

https://www.2carpros.com/articles/automatic-transmission-problems

https://www.2carpros.com/articles/how-to-service-an-automatic-transmission

Are there any codes set?

Roy
Sep 11, 2020 at 4:02 PM (Merged)