Welcome to 2CarPros.
The first thing that comes to mind is low fluid. Have you checked it? IF it is clean and full, my next suspect is the transmission clutch pressure control solenoid. Here are directions to test it. The attached pictures correlate with these directions.
______________________________________
A/T CLUTCH PRESSURE CONTROL SOLENOID VALVES A AND B TEST
Test
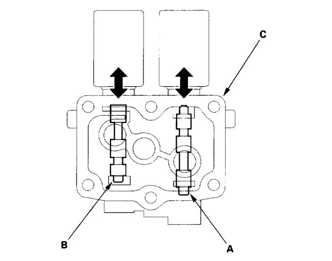
picture 1
1. Disconnect the A/T clutch pressure control solenoid valves A and B 2P connectors.
2. Measure the resistance of the A/T clutch pressure control solenoid valves A and B between the No. 1 and No. 2 terminals of each connector.
STANDARD: About 5.0 ohms
3. If the resistance of either A/T clutch pressure control solenoid is out of standard, replace the A/T clutch pressure control solenoid valves A and B.
4. Connect the No. 1 terminal of the A/T clutch pressure control solenoid valve A (and B) to the battery positive terminal, and connect the No. 2 terminal to the battery negative terminal. A clicking sound should be heard.
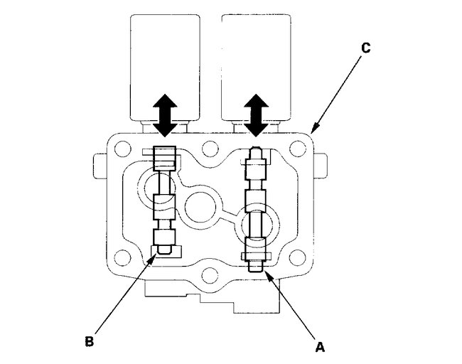
5. If not, remove the A/T clutch pressure control solenoid valves A and B.
6. Check the fluid passage of the A/T clutch pressure control solenoid valves for dust and dirt.
picture 2
7. Connect the No. 1 terminal of the A/T clutch pressure control solenoid valves A and B to the battery positive terminal, and connect the No. 2 terminal to the battery negative terminal. Make sure the A/T clutch pressure control solenoid valves A (A) and B (B) move.
8. Disconnect one of the battery terminals and check valve movement.
NOTE: You can see the valve movement through the fluid passage in the mounting surface of the A/T clutch pressure control solenoid valves A and B body (C).
9. If either valve binds, or moves sluggishly, or if the A/T clutch pressure control solenoid does not operate, replace the A/T clutch pressure control solenoid valves A and B.
__________________________________________
Here are a few links you may find helpful when testing:
https://www.2carpros.com/articles/how-to-use-a-test-light-circuit-tester
https://www.2carpros.com/articles/how-to-use-a-voltmeter
https://www.2carpros.com/articles/how-to-check-wiring
________________________________________
If you find that is the problem, here are the directions for replacement. Picture 3 correlates with these directions.
A/T CLUTCH PRESSURE CONTROL SOLENOID VALVES A AND B TEST
Replacement
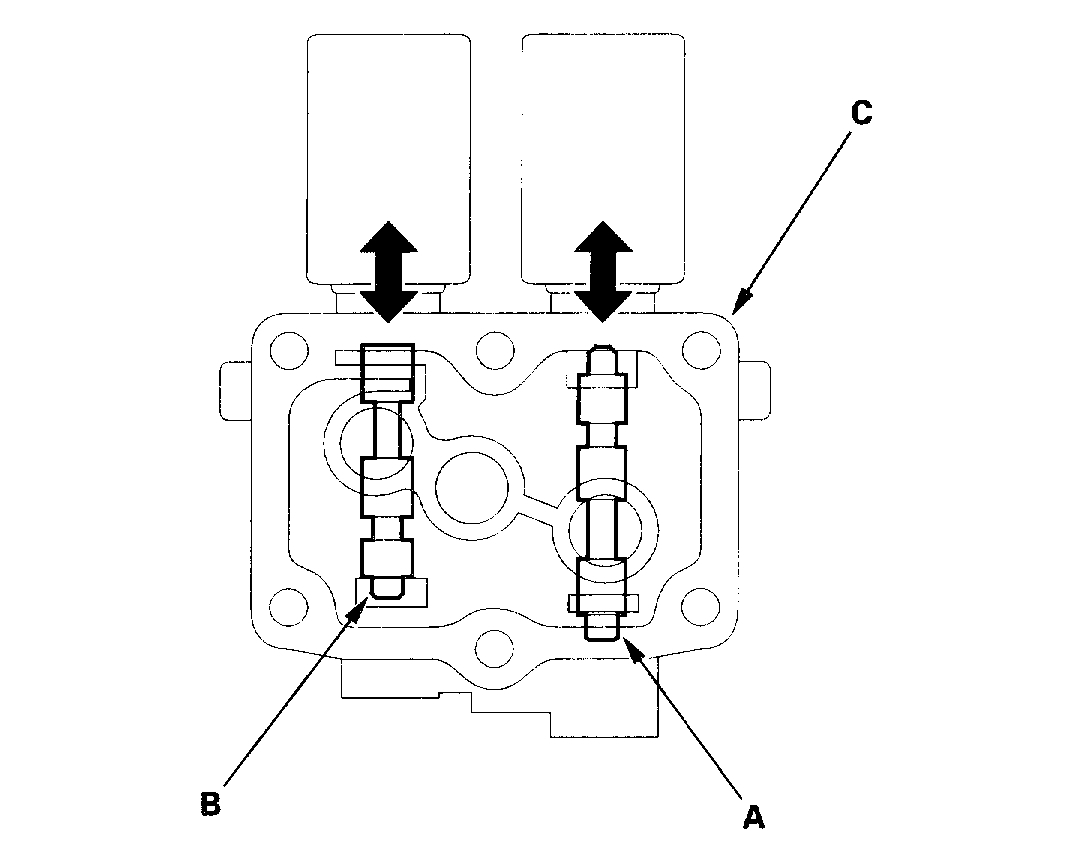
picture 3
1. Remove the mounting bolts and the A/T clutch pressure control solenoid valves A and B (A).
2. Clean the mounting surface and fluid passage of the A/T clutch pressure control solenoid valves A and B and the transmission housing.
3. Install a new A/T clutch pressure control solenoid valves A and B with a new gasket (B), new O-rings (C), ATF feed pipes (D), and harness clamp bracket (E).
NOTE: Install the filter side of the ATF feed pipes in the transmission housing.
4. Check the A/T clutch pressure control solenoid valve connectors for rust, dirt, or oil, then connect them securely.
______________________________________
Also, here are the directions for testing shift solenoids.
See picture 4 and 5
1. Disconnect the shift solenoid valve B or C 2P
2. Measure the resistance between the No. 1 and No. 2 terminals of the shift solenoid valve B or C.
STANDARD: 12 - 25 ohms
3. Replace the shift solenoid valve B or C if the resistance is out of standard.
4. If the resistance is within the standard, connect the No. 2 terminal of the shift solenoid valve B or C connector to the battery positive terminal, and connect the No. 1 terminal to the battery negative terminal. A clicking sound should be heard. Replace the shift solenoid valve B or C if no clicking sound is heard.
________________________________________
Check these things and let me know what you find. Also, let me know if you have questions.
Take care,
Joe
Images (Click to enlarge)
Sep 26, 2020 at 11:25 AM
(Merged)