Hi,
The Dexron 3 was what was original in this vehicle. Dex 6 is what has replaced all the others. Thus, that is fine to use.
Based on your description, it sounds like a line pressure issue. Has the transmission ever been serviced (pan, gasket, new fluid)? I realize you plan on filter replacement, but am wondering if this is the first time.
Here are directions for servicing it. The attached pics correlate with the directions.
_________________________
2005 Buick LaCrosse V6-3.8L VIN 2
Oil Filter and Seal Replacement
Vehicle Transmission and Drivetrain Automatic Transmission/Transaxle Service and Repair Removal and Replacement 4T60-E/4T65-E Automatic Transaxle On-Vehicle Service Oil Filter and Seal Replacement
OIL FILTER AND SEAL REPLACEMENT
Oil Filter and Seal Replacement
Removal Procedure
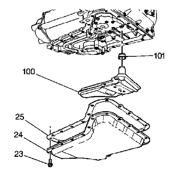
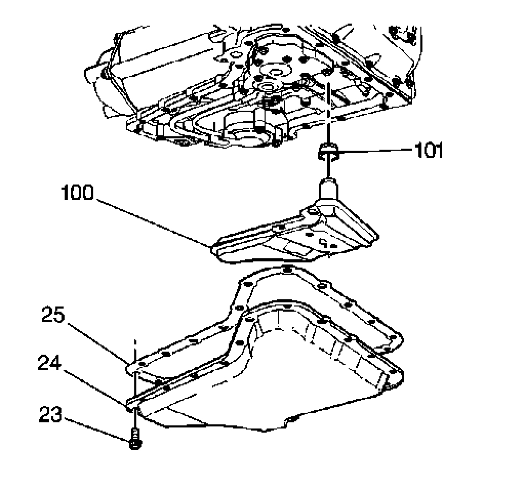
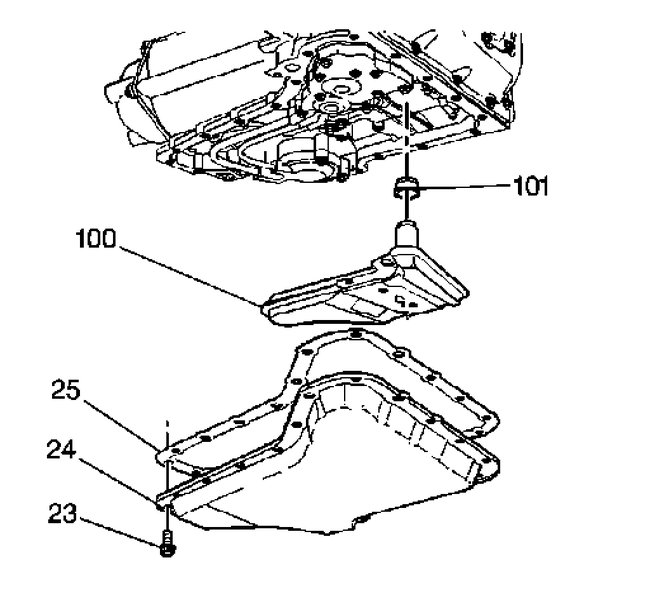
pic 2
1. Remove the oil pan (24) and the gasket (25).
2. Remove the filter (100). Remove the lip ring seal (101) pressed into the case only if replacement is necessary.
3. Inspect the oil pan and the filter for this foreign material:
^ metal particles
^ clutch facing material
^ rubber particles
^ engine coolant
4. Determine the source of the contamination if foreign material is evident.
5. Correct the source of the contamination.
Installation Procedure
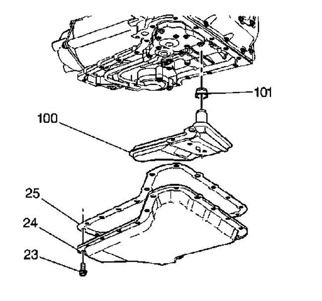
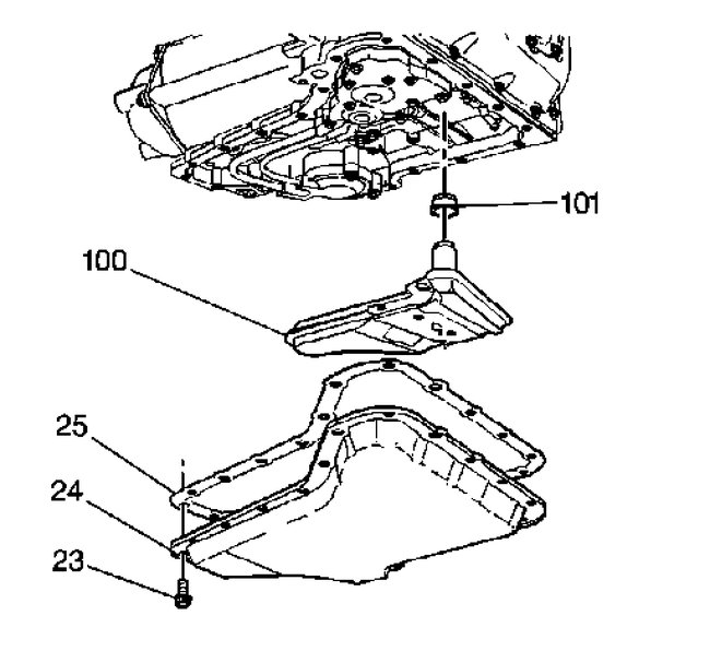
pic 3
1. If removed, install a new seal (101).
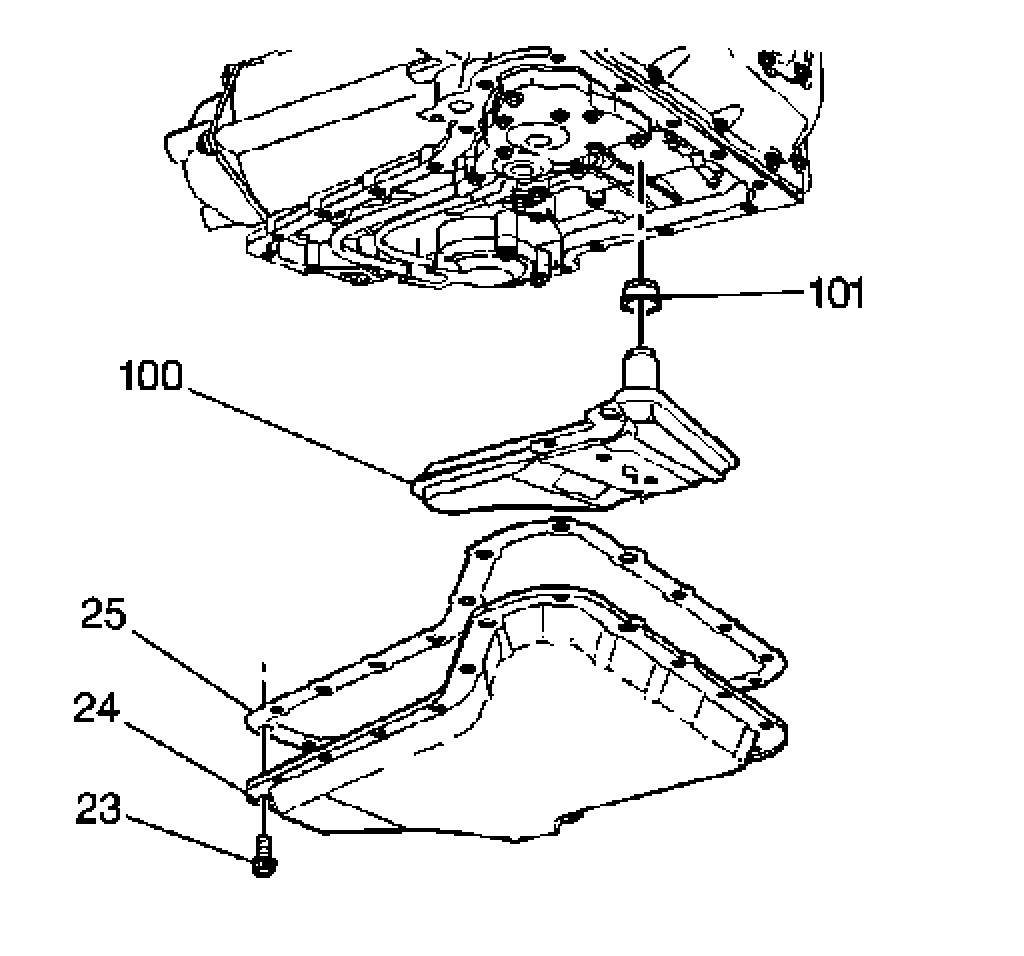
pic 4
2. Install the filter (100).
3. Install the gasket (25) and the oil pan (24).
___________________________________
Do me a favor, I have seen the filters on these vehicles get dirty enough to prevent the flow of fluid. You said the fluid is clean. Is it full and does it have a burnt odor to it?
There is also a transmission pressure switch in the trans. It may be going bad. However, that should set a diagnostic trouble code. I attached a pic below showing it's location. See pic 1.
Let me know.
Joe
Images (Click to enlarge)
Dec 14, 2020 at 4:14 PM