Transfer case shift motor swap

2003 CHEVROLET SILVERADO
150,000 MILES • 5.3L • V8 • 4WD • AUTOMATIC
Avatar
A3T
  • MEMBER
  • 1 POST
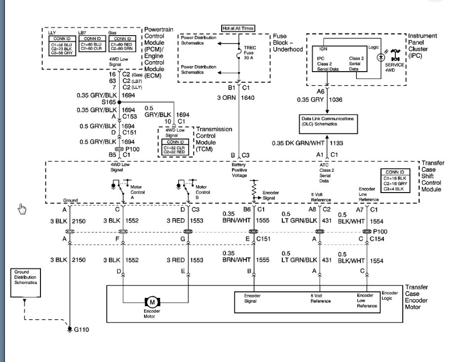
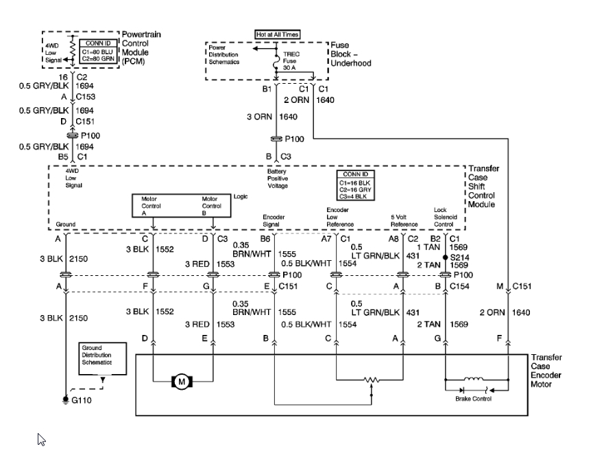
I have the truck listed above that needs transfer case replaced. I have a transfer case that came out of a 2004 Silverado, but the electrical plug for the shift motor has 8 contacts and my transfer case has 6 contact plug. Can I put shift motor on my 2003 transfer case with 6 contact electrical plug on 2004 transfer case with 8 contact electrical plug to make 2004 Silverado t case compatible to put in 2003 Silverado?
Jan 6, 2020 at 9:37 AM
Advertisement
Avatar
KASEKENNY
  • CERTIFIED EXPERT
  • 18,907 POSTS
Unfortunately it probably will not work because the motors are out of two different transfer cases. The 6 pin is out of a NVG 263 NP1 and the 8 is out of an NVG 246 NP8.

This means the operation of the motor will be different. You are going to have to find one with the part number of 88962312 which says it fits an 03-09. You just need the 263 NP1 actuator if you have the fewer wires.
Jan 7, 2020 at 4:56 PM