It continues to move even as I push the brakes

2007 TOYOTA CAMRY
Avatar
MARKRAPPAPORT
  • MEMBER
  • 1 POST
When I put the car in park, it seems to want to continue to go. It continues to move even as I push the brakes, I need a new master cylinder please help.
Dec 21, 2007 at 8:54 AM
Advertisement
Avatar
DANNY L
  • CERTIFIED EXPERT
  • 5,648 POSTS
Hello, I'm Danny.

Here is the information you requested. Here are 2 tutorials showing how to replace the master cylinder and properly bleed the system after replacement:

https://www.2carpros.com/articles/how-to-replace-a-brake-master-cylinder

https://www.2carpros.com/articles/how-to-bleed-or-flush-a-car-brake-system

It is suggested to bench bleed your new master cylinder before installation. Here is a YouTube video from our site showing how to do so:

https://youtu.be/WDxvEQrMkBg

I've attached picture steps below on how to remove and replace the master cylinder on your car. Hope this helps and thanks for using 2CarPros.
Feb 28, 2021 at 5:54 PM
Avatar
JACOBANDNICKOLAS
  • CERTIFIED EXPERT
  • 110,175 POSTS
Hi,

Replacing the brake master cylinder isn't too hard of a job. In most cases, the master cylinder will last a long time. However, I recommend getting a lifetime replacement part in the event it fails again.

First, here is a link that shows in general how it's done. You can use this as a guide:

https://www.2carpros.com/articles/how-to-replace-a-brake-master-cylinder

Here are the directions specific to your vehicle. The attached pics correlate with these directions.

____________________________

2007 Toyota Camry L4-2.4L (2AZ-FE)
Removal and Replacement
Vehicle Brakes and Traction Control Hydraulic System Brake Master Cylinder Service and Repair Removal and Replacement
REMOVAL AND REPLACEMENT
BRAKE MASTER CYLINDER

COMPONENTS (Part 1)

pic 1

COMPONENTS (Part 2)

pic 2

COMPONENTS (Part 3)

pic 3

COMPONENTS (Part 4)

pic 4


REMOVAL

NOTICE: The structure of the master cylinder allows the piston to pop out, so observe the following:

(a) for TMC made:
(1) The master cylinder requires careful handling. Do not allow the master cylinder to receive any impact, such as from being dropped. Do not reuse a master cylinder that has been dropped.
(2) Do not scratch or damage the circumference of the piston. For the seal to function correctly, all sliding surfaces must not have any damage.
(3) Do not pull out the master cylinder piston.
(4) Make sure to release the vacuum from the brake booster (by removing a vacuum hose, etc.) before removing the master cylinder from the brake booster.
(5) When installing the master cylinder, remove the protectors for the piston and the discharge port.
(6) Apply the supplied grease to the outer diameter of the piston and the inner diameter of the brake booster.
(b) for TMMK made:
(1) Do not hold the master cylinder by the piston. (Hold the master cylinder by its body or its reservoir while transporting it.)
(2) Do not pull out the master cylinder piston.
(3) Do not strike or pinch the master cylinder piston, and do not cause any damage to the master cylinder piston by any other means.
(4) Make sure to release the vacuum from the brake booster before removing the master cylinder from the brake booster.
(5) When installing the master cylinder to the brake booster, or when removing the master cylinder from the brake booster, make sure that the master cylinder is kept horizontal or its tip faces downward (the piston faces upward) to prevent the master cylinder piston from falling off.
(6) Do not allow any foreign objects to contaminate the master cylinder piston. If a foreign object gets on the piston, remove it by using a shop rag or a piece of cloth and then apply an even layer of lithium soap based glycol grease around the circumference (sliding part) of the piston
(7) Do not use any other type of grease.

1. DRAIN BRAKE FLUID

NOTICE:
- Stop the engine and depress the brake pedal several times until no vacuum is left in the brake booster.
- If the brake fluid leaks onto any painted surface, wash off or remove the brake fluid completely.

2. Remove air cleaner cap sub-assembly.
3. Remove air cleaner filter element sub-assembly.
4. Remove front wiper arm and blade assembly lh.
5. Remove front wiper arm and blade assembly rh.
6. Remove front fender to cowl side seal lh.
7. Remove front fender to cowl side seal rh.
8. Remove cowl top ventilator louver sub-assembly.
9. Remove windshield wiper motor and link assembly.



pic 5


10. REMOVE COWL TOP OUTER FRONT PANEL SUB-ASSEMBLY
(a) Disengage the clamp.
(b) Remove the 4 nuts, the 4 bolts and the cowl top outer front panel sub-assembly.
11. DISCONNECT CLUTCH RESERVOIR TUBE (for Manual Transaxle)
(a) Move the clip and disconnect the clutch reservoir tube from the brake master cylinder sub-assembly.


pic 6


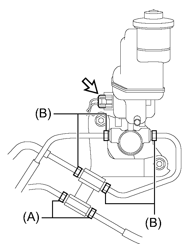
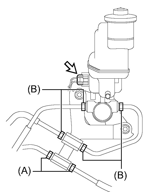
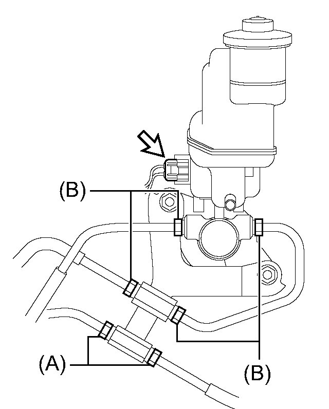
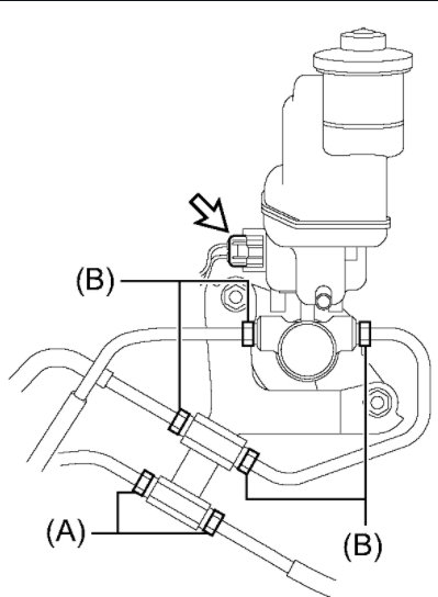
12. REMOVE BRAKE MASTER CYLINDER SUB-ASSEMBLY (for TMC Made)
(a) Disconnect the connector.


pic 7


(b) Using SST, disconnect the 6 brake lines and remove the brake master cylinder to way tube.
SST 09023-00101


pic 8


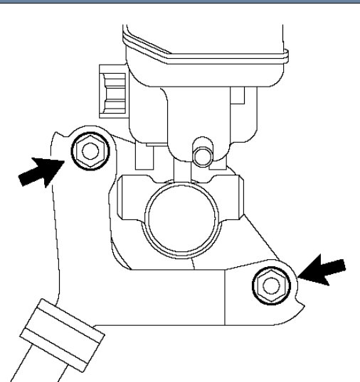
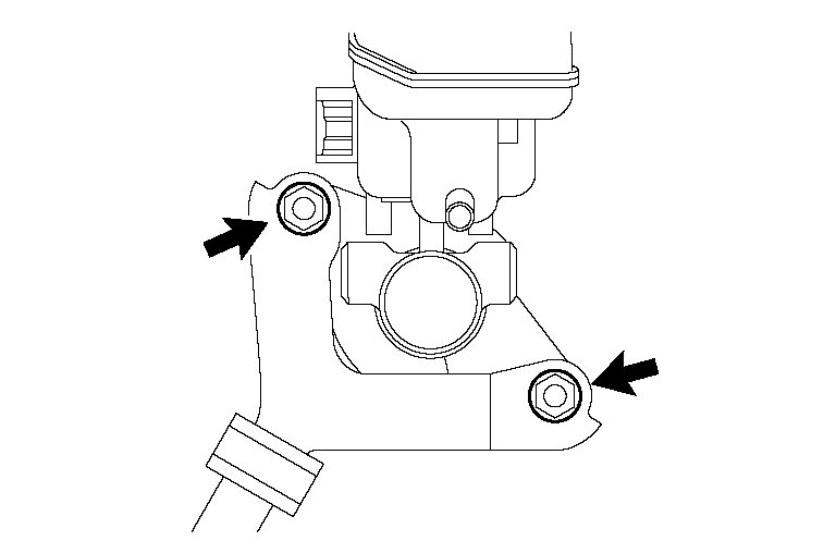
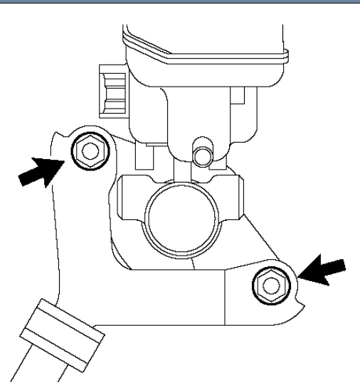
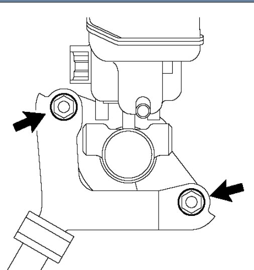
(c) Remove the 2 nuts, the front brake tube way, the O-ring and the brake master cylinder sub-assembly.


pic 9


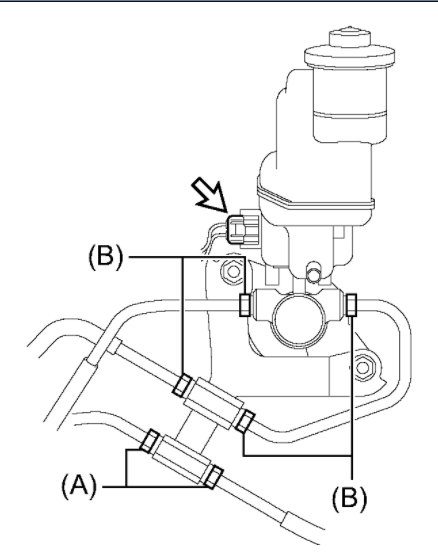
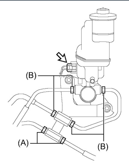
13. REMOVE BRAKE MASTER CYLINDER SUB-ASSEMBLY (for TMMK Made without VSC)
(a) Disconnect the connector.


pic 10


(b) Using SST, disconnect the 6 brake lines and remove the brake master cylinder to way tube.
SST 09023-00101


pic 11


(c) Remove the 2 nuts, the front brake tube way, the O-ring and the brake master cylinder sub-assembly.


pic 12


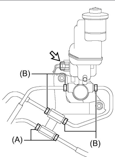
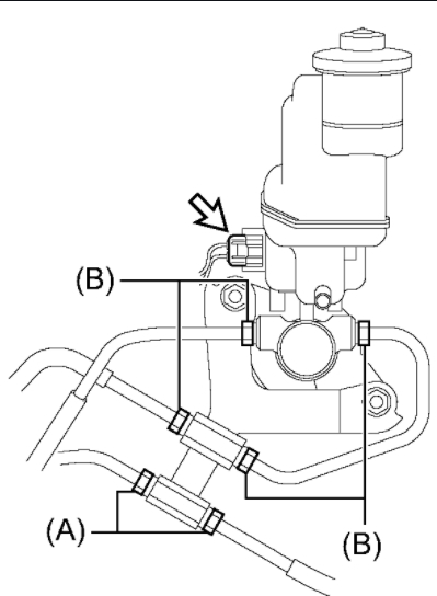
14. REMOVE BRAKE MASTER CYLINDER SUB-ASSEMBLY (for TMMK Made with VSC)
(a) Disconnect the connector.


pic 13


(b) Using SST, disconnect the 6 brake lines and remove the brake master cylinder to way tube.
SST 09023-38200, 09023-00101


pic 14


(c) Remove the 2 nuts, the front brake tube way, the O-ring and the brake master cylinder sub-assembly.

INSTALLATION


pic 15


1. INSTALL BRAKE MASTER CYLINDER SUB-ASSEMBLY (for TMC Made)
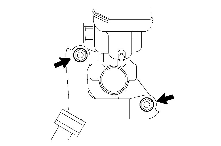
(a) Install the O-ring, the brake master cylinder sub-assembly and the front brake tube way with the 2 nuts.
Torque: 13 Nm (133 kgf-cm, 10 ft. lbs.)


pic 16


(b) Connect the connector.
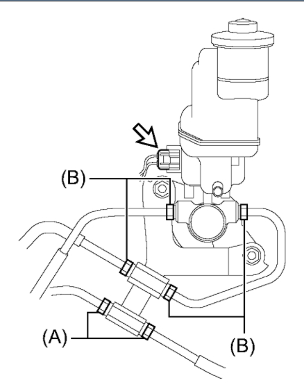
(c) Install the brake master cylinder to way tube and temporarily tighten the 6 brake lines.

pic 17


(d) Using the SST, fully tighten the 6 brake lines.
SST 09023-00101
Torque:
without SST 15 Nm (155 kgf-cm, 11 ft. lbs.)
with SST 14 Nm (143 kgf-cm, 10 ft. lbs.)

NOTICE:
- Use a torque wrench with a fulcrum length of 300 mm (11.81 inch).
- This torque value is effective when SST is parallel to a torque wrench.


pic 18


2. INSTALL BRAKE MASTER CYLINDER SUB-ASSEMBLY (for TMMK Made without VSC)
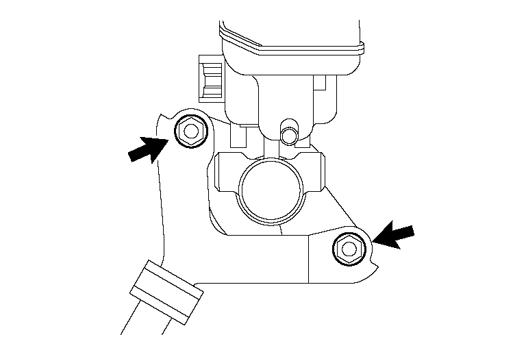
(a) Install the O-ring, the brake master cylinder sub-assembly and the front brake tube way with the 2 nuts.
Torque: 13 Nm (133 kgf-cm, 10 ft. lbs.)


pic 19


(b) Connect the connector.
(c) Install the brake master cylinder to way tube and temporarily tighten the 6 brake lines.


pic 20


(d) Using the SST, fully tighten the 6 brake lines.
SST 09023-00101
Torque:
without SST 15 Nm (155 kgf-cm, 11 ft. lbs.)
with SST 14 Nm (143 kgf-cm, 10 ft. lbs.)

NOTICE:
- Use a torque wrench with a fulcrum length of 300 mm (11.81 inch).
- This torque value is effective when SST is parallel to a torque wrench.


pic 21


3. INSTALL BRAKE MASTER CYLINDER SUB-ASSEMBLY (for TMMK Made with VSC)
(a) Install the O-ring, the brake master cylinder sub-assembly and the front brake tube way with the 2 nuts.
Torque: 13 Nm (133 kgf-cm, 10 ft. lbs.)


pic 22


(b) Connect the connector.
(c) Install the brake master cylinder to way tube and temporarily tighten the 6 brake lines.


pic 23


(d) Using the SST, fully tighten the 6 brake lines.
SST 09023-00101, 09023-38200
Torque:
(A) without SST 15 Nm (155 kgf-cm, 11 ft. lbs.)
(A) with SST 14 Nm (143 kgf-cm, 10 ft. lbs.)
(B) without SST 19 Nm (194 kgf-cm, 14 ft. lbs.)
(B) with SST 17 Nm (173 kgf-cm, 13 ft. lbs.)

NOTICE:
- Use a torque wrench with a fulcrum length of 300 mm (11.81 inch).
- This torque value is effective when SST is parallel to a torque wrench.

4. Connect clutch reservoir tube (for manual transaxle)
(a) connect the clutch reservoir tube to the brake master cylinder sub-assembly and move the clip.
5. Fill reservoir with brake fluid
6. Bleed clutch pipe line (for manual transaxle)
7. Bleed master cylinder
8. Bleed brake line
9. Bleed brake actuator assembly (w/ vsc)
10. Inspect fluid level in reservoir
11. Inspect for brake fluid leakage



pic 24


12. Install cowl top outer front panel sub-assembly
(a) install the cowl top outer front panel sub-assembly with the 4 nuts, the 4 bolts and the clamp.
torque:
nut 85 nm (867 kgf-cm, 63 ft. Lbs.)
bolt 5.0 nm (51 kgf-cm, 44 inch lbs.)
13. Install windshield wiper motor and link assembly
14. Install cowl top ventilator louver sub-assembly
15. Install front fender to cowl side seal lh
16. Install front fender to cowl side seal rh
17. Install front wiper arm and blade assembly lh
18. Install front wiper arm and blade assembly rh
19. Install air cleaner filter element sub-assembly
20. Install air cleaner cap sub-assembly


_________________________

I hope this helps. Let me know if you have other questions.

Take care and God Bless,

Joe
Feb 28, 2021 at 6:01 PM
Advertisement
Avatar
NICKOLAOSF
  • CERTIFIED EXPERT
  • 69 POSTS
Hi MARKRAPPAPORT,

We can help you with this information.
when you put it in park the vehicle should engage and not move.
more information is required to help, when diving and applying the brakes do they feel spongy and does the brake pedal when applying brakes moves down, does your foot emergency brake work?

https://www.2carpros.com/articles/brake-system-warning-light-on

Let us know what happens and please upload pictures or videos of the problem.
Cheers, Nick
Feb 28, 2021 at 6:03 PM
Avatar
2CP-ARCHIVES
  • MEMBER
  • 4,540 POSTS
I have had the master cylinder replaced 3 times within 3 weeks. The brakes have been bled. The pedal now goes almost to floor. I am being told this is normal. However,this was not how the pedal was prior to the replacement. Also, there is leaking from each of the new master cylinders. What needs to done to correct the pedal and the leaking?
Mar 5, 2021 at 11:18 AM (Merged)
Avatar
CARADIODOC
  • CERTIFIED EXPERT
  • 34,306 POSTS
You can't have leakage and expect the pedal to remain high and firm, and you're right, a sinking or low pedal is definitely not normal. Where is that leakage occurring from? Do you have power brakes? If you do, and the leakage is from the rear of the master cylinder, the fluid would go into the booster and there's a real good chance you wouldn't see it. That implies it's leaking from one of the ports. The first suspect would be the line nut is loose or the flare on the end of the steel line is cracked.
Mar 5, 2021 at 11:18 AM (Merged)