☰
Login
Join
×
Home
Answered Questions
Repair Topics
Repair & Service Guides
Popular Questions
Warning Lights
Trouble Codes
How It Works
Testing / Diagnostics
Symptoms
Videos
Login
Become a Member
Home
Mazda
323
Engine
Cylinder Head
Torque
Torque setting for cylinder head specs
1987 MAZDA 323
2,241,120 MILES • 1.5L • 4 CYL • 2WD • MANUAL
KNOWLEDGE GWAMURE
MEMBER
11 POSTS
FOLLOW
I need to know torque sitting of cylinder head specs and big end specs.
Aug 29, 2020 at 11:23 PM
Advertisement
ASEMASTER6371
CERTIFIED EXPERT
52,796 POSTS
Good morning,
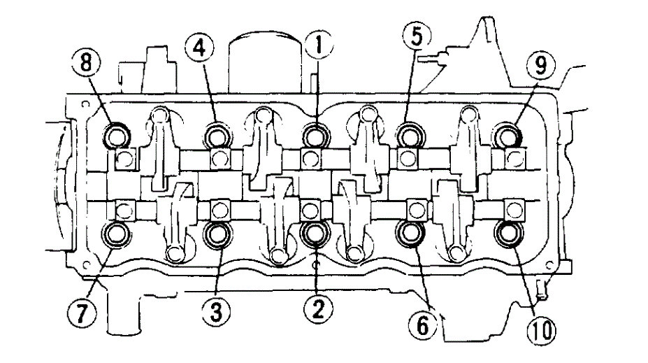
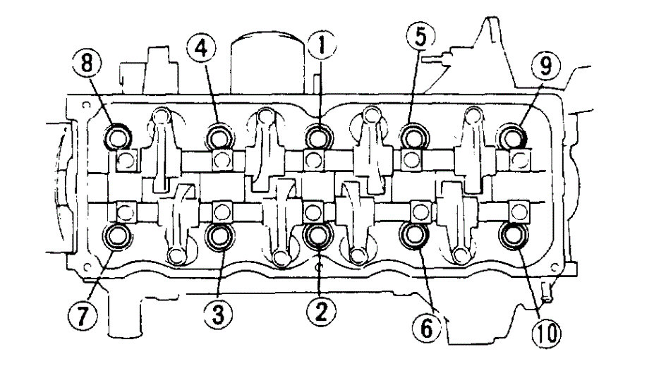
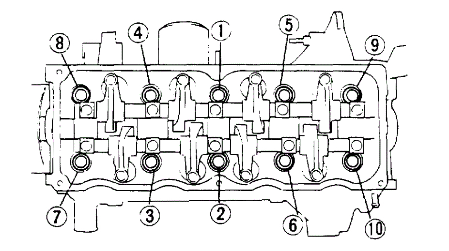
I attached the toque and sequence for you for tightening the head bolts.
Roy
Images (Click to enlarge)
Aug 30, 2020 at 3:53 AM
KNOWLEDGE GWAMURE
MEMBER
11 POSTS
Thank you for your answer. Now i need to know the timing marks on crankshaft and camshaft. does timing chain have marks? E 3 engine.
Aug 30, 2020 at 4:41 PM
Advertisement
ASEMASTER6371
CERTIFIED EXPERT
52,796 POSTS
Okay.
Images (Click to enlarge)
Aug 31, 2020 at 3:29 AM
KNOWLEDGE GWAMURE
MEMBER
11 POSTS
Images you send is for belt driven mine is a chain driven with 1 mark on the camshaft pulley.On crankshaft cover written for TDC and 10 degrees.
Aug 31, 2020 at 6:30 AM
ASEMASTER6371
CERTIFIED EXPERT
52,796 POSTS
Can I have the complete VIN number for the car?
Roy
Aug 31, 2020 at 6:34 AM
KNOWLEDGE GWAMURE
MEMBER
11 POSTS
I replace the window screen i think they cover that number, but let me send the data card.
Image (Click to enlarge)
Aug 31, 2020 at 11:37 PM
ASEMASTER6371
CERTIFIED EXPERT
52,796 POSTS
I am sorry, that is not the VIN number.
Look on the drivers door for the number.
Roy
Sep 1, 2020 at 4:11 AM
KNOWLEDGE GWAMURE
MEMBER
11 POSTS
No number on drivers door.
Sep 1, 2020 at 6:43 AM
ASEMASTER6371
CERTIFIED EXPERT
52,796 POSTS
Was this manufactured in the USA?
Roy
Sep 1, 2020 at 7:40 AM
KNOWLEDGE GWAMURE
MEMBER
11 POSTS
I don't know. what i know is that it assembled in Zimbabwe.
Sep 1, 2020 at 3:45 PM
ASEMASTER6371
CERTIFIED EXPERT
52,796 POSTS
Thank you.
Let me check.
Roy
Sep 1, 2020 at 4:00 PM
ASEMASTER6371
CERTIFIED EXPERT
52,796 POSTS
Okay, I just checked with the Mazda web site and the marks are the same as what I sent you.
The difference was your used a chain and the one I sent you used a belt.
Roy
Sep 1, 2020 at 4:35 PM
KNOWLEDGE GWAMURE
MEMBER
11 POSTS
Okay, thanks. i will give feedback when i'm done with it.
Sep 1, 2020 at 4:42 PM
ASEMASTER6371
CERTIFIED EXPERT
52,796 POSTS
You are welcome.
Always glad to help.
Roy
Sep 1, 2020 at 4:44 PM