Timing chain replacement

2002 TOYOTA COROLLA
204,408 MILES • 1.8L • 4 CYL • FWD • AUTOMATIC
Avatar
MITCH80
  • MEMBER
  • 6 POSTS
I recently bought a 2002 Toyota corolla with 204,408 miles the guy I bought from ran used oil in it and low on oil cause there was a valve cover gasket leak,now I am wondering should I replace the timing chain on car,it is not a belt. Thank you
Feb 21, 2016 at 7:13 AM
Advertisement
Avatar
SATURNTECH9
  • CERTIFIED EXPERT
  • 30,869 POSTS
Timing chains don't have a change interval like a timing belt. There usually changed when they become noisy. Here are the instructions on how to replace the timing chain in the diagram below. Check out the diagrams (Below). Please let us know if you need anything else to get the problem fixed.



Aug 11, 2020 at 4:23 PM
Avatar
KEVINJ1987
  • MEMBER
  • 2 POSTS
Here is the deal,

September 2007 I purchased my Corolla from a less than upstanding used car dealership (apparently not a smart decision. live and learn) I purchased an extended warranty (not a dealership, but rather a private warranty)

February of 2008 It starts to make a high pitch banging noise in the engine. (I drive on it for about 2 weeks) I take it into a Toyota Dealership that.. I won't be returning to. They tell me that my engine was "essentially torn apart and reconstructed" and that it was the cause of my timing chain slippage. A month later, they were still fighting with the engine as they eventually found out that some gasket had lost a piece and it floated into the oil line (which took time for them to figure out). They instruct me not to tell the warranty company about this update, as it may jeopardize what coverage I was getting from them (about 400 dollars) I paid for the remaining 1300 dollars. My car was out of commission for over 3 months.

March 2009 Around a year after I got my car back (and about 1200 miles out of the warranty the dealership applied to the parts that they replaced) The engine began making the sound again. Well, 20 minutes later as I was driving down the highway the timing chain gets snapped by a bolt that had fallen into that area, sending it through a cascading effect essentially tearing my engine apart. Well, I decide to let the towing company take a look at it (as I didn't really want that dealership touching it) and the conclusion they came to was that some bolts had been stripped, others hadn't been tightened down enough, and others were just missing.

Well, I managed to skate out of a 3k repair bill by the skin of my teeth. The original warranty I purchased sent someone to take a look at the engine and determine if it was something they should cover. They decided it was the fault of the Toyota Dealership (as they were the last people to touch the engine aside from those doing oil changes for me) and refuse to cover it. Well, after talking to the manager at the Toyota Dealership, he grudgingly agrees to take care of it, as it sounded like something that was the fault of someone there. They re manufacture the bent valves, the stripped bolts, replace the ones that are missing, and replaced the timing chain and various other parts that the renegade bolt destroyed. This took about another 2 months to get fixed.

I don't have any documentation from them to prove that they touched my engine this time (as I didn't pay for any of it, they were unwilling to give it to me) so I am not even going to consider calling them, as I can't afford to live without my car for that kind of time again. When I picked the car up, the engine sounded fine for about a week, but then it started to run a little choppier (but not making a terrible noise, or a similar one to the last 2 times)

3 months later, I think my car is starting to sound like its going to happen again soon. (Its a high pitched metal on metal clang, but I can't tell for sure when it is in park, and I haven't had an opportunity for someone to get in and put it in drive to be 100% sure)

I'm about ready to consider replacing the whole engine and be done with it. I won't be recieving any financial aid from the warranty company to do so. (that would be too easy, right?) So I'm trying to put it off for as long as possible. I was also considering taking it to another Toyota Dealership and getting it looked at again. However I'm a bit reluctant to do so, as I am afraid that when I tell them what has happened they will be mildly uncooperative, or at least cover up something the other dealership screwed up.

My questions are: What could possibly be so wrong with the engine to cause it to consistently happen? If it is a problem with the engine, would replacing it be an effective option? Or perhaps would I be better off getting rid of the darn thing and letting it be someone else's problem?
Dec 15, 2020 at 8:32 AM (Merged)
Advertisement
Avatar
MHPAUTOS
  • CERTIFIED EXPERT
  • 31,937 POSTS
Hi there,

Well this is a tale of woe..... Frankly i would be replacing the engine , for my money this should have been done in the first instance,the less said about these used car warranty's the better, but thats another story, why this has failed again is a bit hard to tell, you really need to be able to inspect the engine first hand, but when an engine is damaged so severely, the stresses set up with in the engine is considerable, with stripped and damaged threads, you only need one of these repaired threads to not take the required torque and they will quickly loosen and, well you know the rest, if you want to keep the car, fit a re-co long engine and be done with that bucket of bolts under the bonnet.....

Mark (mhpautos)
Dec 15, 2020 at 8:32 AM (Merged)
Avatar
KEVINJ1987
  • MEMBER
  • 2 POSTS
Thank you for your timely response,

I'm having difficulty finding remanufactured engines that have a price tag on them... what kind of cost would be "reasonable" and do you have any suggestions as to a good location/website to get one?

I won't be replacing the engine immediately, however I'd rather not be scrambling to find a new one after the car has ceased functioning.
Dec 15, 2020 at 8:32 AM (Merged)
Avatar
MMPRINCE4000
  • CERTIFIED EXPERT
  • 8,548 POSTS
Check the sticker on the front of hood area.

If engine says VVT-i it is a 1ZZFE Toyota engine.

Look at sticker for confirmation and when buying a used engine, always have the VIN of the car.

Check with local junkyards for cost, but I would think $1,000-2000.

You usually get these from wrecked cars (rear ended).

Sorry you had so much trouble, but generally these are very reliable engines.
Dec 15, 2020 at 8:32 AM (Merged)
Avatar
NATEROHMAN
  • MEMBER
  • 6 POSTS
okay, well i have had trouble with my car trying to get it to run. i have been on this now for almost 3 weeks and to no avail. my problem was as i thought low compression because of out of spec cylinder bores, but now i'm wondering what the true issue is because i bought a short block from the wrecking yard because it had good compression and it checked out as in spec with my repair manuals specifications that's why i bought it because it passed the spec check. anyway i get home and install the cylinder head while the engine is on a stand and i take my time with this because i want to make sure it's right the timing that is and i finish and everything looks good. so i turn the motor over using a ratchet by hand about 6 times or so and recheck my timing marks and they are as i set them and i can feel some compression as i turn it over after i installed the spark plugs, but it doesn't feel as strong as it did when this short block was in the car at the wrecking yard. just as reference the cylinder head i also purchased out of the wrecking yard and it is in good shape too all valves had that grayish carbon coat on them that is telltale of a good running engine. i did however want to make sure that the valves were going to be reliable for me so i lapped them just to ensure that they would continue to operate properly down the road. now i'm beginning to wonder if my timing is incorrectly set though because each one of these short blocks that i had in this car over the last three weeks has come back with the same compression reading just over 100 psi per give or take 5 psi. although the first two measured out of spec but just barely out of spec the one i'm working with now should be compressing like it's supposed to these Toyota's wont run unless at least 145 psi is present and its supposed to be at like 215 or something if new or rebuilt. i thought i set the timing right still think i have but is there something anything i did wrong here maybe something to do with the intake VVTI cam gear? please help because i'm about to throw a flare inside this car and be done with it.
Dec 15, 2020 at 8:32 AM (Merged)
Avatar
ASEMASTER6371
  • CERTIFIED EXPERT
  • 52,796 POSTS
Hello again,

I know we discussed this before with the timing as the issue.

I attached the gear alignment for the cams and the crank.

Is this the way you set it?

The compression should be 140-160 I do not what manual you are referring to but this is reality and a lot of times, the reality is different than the book.

Roy
Dec 15, 2020 at 8:32 AM (Merged)
Avatar
NATEROHMAN
  • MEMBER
  • 6 POSTS
yes, that is the way i set it. The manual i'm using is a Haynes and it says that 218 psi is standard and 145 is minimum.
Dec 15, 2020 at 8:32 AM (Merged)
Avatar
ASEMASTER6371
  • CERTIFIED EXPERT
  • 52,796 POSTS
The 218 is for a new car, not a car with tons of miles.

As I stated before 140-160 is the figure.

Did you air test the cylinders as I suggested before?

Roy
Dec 15, 2020 at 8:32 AM (Merged)
Avatar
NATEROHMAN
  • MEMBER
  • 6 POSTS
i actually can't because i live in a community that is noise sensitive and i don't have a compressor here, but i'm going to get an air tank and do that next for the checking of any leaks anywhere. but if i crank the engine over for like a 15 count the compression will go up to 120 -125. but it should be stronger than that i used to get good readings on cars. i have previously worked on after a three count. just out of curiosity what is your opinion on that? and thank you for the help by the way.
Dec 15, 2020 at 8:32 AM (Merged)
Avatar
ASEMASTER6371
  • CERTIFIED EXPERT
  • 52,796 POSTS
You should have about 140. 100 is too low. You have to find the issue.

Roy
Dec 15, 2020 at 8:32 AM (Merged)
Avatar
WILSAAW
  • MEMBER
  • 2 POSTS
Hi I had a strong slapping noise coming from the timing chain, so I took off the tensioner and the timing cover. Chain was loose(even b4 taking off tensioner), and I can move the tensioner pretty easily. Sounds like I needs the chain and the tensioner to be safe, but could you tell me how to re-time it, as far as the marks on the cams/crank/chain. Thanx.
Dec 15, 2020 at 8:32 AM (Merged)
Avatar
MATHIASO
  • CERTIFIED EXPERT
  • 1,209 POSTS
Hello wilsaaw



What is your engine?

1NZ-FE Engines
1ZZ-FE Engines
2zz-Ge And 2zz-FE Engines
Dec 15, 2020 at 8:32 AM (Merged)
Avatar
WILSAAW
  • MEMBER
  • 2 POSTS
It has the 1zz-fe engine.
Dec 15, 2020 at 8:32 AM (Merged)
Avatar
MATHIASO
  • CERTIFIED EXPERT
  • 1,209 POSTS
Hello wilsaaw 1ZZ-FE Engines Remove or disconnect the following: Negative battery cable Right engine cover Accessory drive belt and generator Power steering pump, without disconnecting the hoses Right engine mount Cylinder head cover Turn the crankshaft so the No. 1 piston is at TDC on the compression stroke Crankshaft pulley Crankshaft position sensor from the timing chain cover Accessory drive belt tensioner Right engine mounting bracket Chain tensioner Water pump Timing chain cover Crankshaft angle sensor plate Timing chain tensioner slipper Timing chain and crankshaft timing sprocket To install: Crankshaft sprocket with timing chain. Be sure to align the No. 1 mark link with the mark on the sprocket


https://www.2carpros.com/forum/automotive_pictures/46384_0996b43f8022f83c_2.jpg

Timing chain on the camshaft sprockets. Align the Nos. 53 and 67 mark links with the marks on the camshaft sprockets


https://www.2carpros.com/forum/automotive_pictures/46384_0996b43f8022f83c_3.jpg

Chain tensioner slipper. Bolt: 14 ft. lbs. (18.5 Nm). Crankshaft angle sensor plate New seal in the front cover Silicone sealant to the timing chain cover as illustrated Timing chain cover Water pump. Tighten the bolts marked -C- to 80 inch lbs. (9 Nm) and tighten the remaining bolts to 14 ft. lbs. (18.5 Nm). Be sure to install the bolts in their original locations. Bolt lengths: 1. A: 1.77 in. (45mm) 2. B: 1.38 in. (35mm) 3. C: 1.18 in. (30mm) 4. D: 0.98 in. (25mm)


https://www.2carpros.com/forum/automotive_pictures/46384_0996b43f8022f83c_4.jpg

Install or connect the following: Right engine mounting bracket. Bolts, with sealant applied: 35 ft. lbs. (47 Nm). Drive belt tensioner. Bolt: 51 ft. lbs. (69 Nm). Nut: 21 ft. lbs. (29 Nm). Crankshaft position sensor. Tighten to 80 inch lbs. (9 Nm). Crankshaft pulley. Bolt: 102 ft. lbs. (138 Nm). Release the ratchet pawl and compress the chain tensioner. Place the hook on the pin to keep the tensioner compressed.


https://www.2carpros.com/forum/automotive_pictures/46384_0996b43f8022f83c_5.jpg

# Install the tensioner, using a new O-ring. Torque the bolts to 80 inch lbs. (9 Nm). # Turn the crankshaft counterclockwise and remove the hook from the pin. Turn the crankshaft clockwise and be sure the slipper is pushed by the plunger. # Check the valve timing by turning the crankshaft clockwise until the mark of the pulley is aligned with the mark on the timing chain cover. The marks on the camshaft sprockets should be facing each other as shown. # Install or connect the following: Silicone sealant to the 2 areas where the timing chain cover meets the cylinder head. Cylinder head cover. Bolts with washers in the sequence shown: 80 inch lbs. (9 Nm). Bolts without washers: 96 inch lbs. (11 Nm). Right engine mount. Bolts: Marked A : 47 ft. lbs. (64 Nm). Marked B : 19 ft. lbs. (26 Nm). Nut: 38 ft. lbs. (52 Nm). Power steering pump Alternator and drive belt Right engine undercover Negative battery cable Washer tank # Fill the cooling system to the proper level. # Start the vehicle, check for leaks and repair if necessary. hope this help.
Dec 15, 2020 at 8:32 AM (Merged)
Avatar
SL7RIPS
  • MEMBER
  • 1 POST
could a loose timing chain or other timing parts cause the 1zzfe to sound like a diesel truck when running. also it will barely go over 20MPH
Dec 15, 2020 at 8:32 AM (Merged)
Avatar
MMPRINCE4000
  • CERTIFIED EXPERT
  • 8,548 POSTS
You can remove the valve cover and look at the chain with a light source. Look for broken teeth on the cam cogs.

Chains will generally last the life of the car, but they can go bad.

Do you have a check engine light? If so, what codes?
Dec 15, 2020 at 8:32 AM (Merged)
Avatar
ALEXANDER58
  • MEMBER
  • 1 POST
1998 Toyota Corolla 4 cyl Automatic 114000 miles

My timing cover is leaking. The gasket has to be replaced. How do i do it..?
Dec 15, 2020 at 8:33 AM (Merged)
Avatar
BLUELIGHTNIN6
  • CERTIFIED EXPERT
  • 16,542 POSTS
REMOVAL:
Disconnect the negative battery cable. Wait at least 90 seconds once the cable is disconnected to hinder air bad deployment.
Remove the right front wheel and engine under covers.
Slightly jack up the engine on the right side to remove the RH engine mount. Inspect the mount and replace if necessary.
Remove all drive belts.
Remove the valve cover.
While retaining the crankshaft pulley, remove the pulley bolt. Extract the crankshaft pulley using a puller.
Unbolt all three timing belt covers from the engine.



INSTALLATION:
Check that the timing belt gasket has no cracks or peeling. If the gasket is not reusable do the following:
Using a flat-bladed tool and gasket scraper, remove the old gasket material from the cover and mating area.
Thoroughly clean all components to remove all the loose material. Remove the backing paper from the new gasket and install the gasket evenly to the part of the cover shaded black in the illustration.
After installing the gasket, press down on it so it seats and the adhesive firmly sticks.
Install all three timing belt covers and tighten the bolts to 62 inch lbs. (7 Nm).
Install the new valve cover gasket and seal washers to the cylinder head cover.
Install the cylinder head cover to the cylinder head; secure with four cap nuts to 53 inch lbs. (6 Nm).
Install two PCV hoses to the valve cover; secure with hose clamps.
Attach the engine wiring harness to the valve cover, then install the engine wiring harness cover and secure to 53 inch lbs. (6 Nm).
Connect the wire and clamp to the alternator.
Install and adjust all the drive belts.
Install engine mount to body and secure but do not tighten fully. Tighten the following:
Mounting bracket-to-engine mount bolt to 47 ft. lbs. (64 Nm)
Mounting bracket-to-engine mount nuts to 38 ft. lbs. (52 Nm)
Engine mount-to-body bolt A to 19 ft. lbs. (25 Nm)
Engine mount-to-body bolts B to 19 ft. lbs. (25 Nm)
Engine mount-to-body bolt C to 19 ft. lbs. (25 Nm), if equipped with cruise control.
Install the right engine undercover.
Install the right front wheel and lower the vehicle.
Connect the negative battery cable.
Start the engine and check the ignition timing. Inspect for leaks and check vehicle operation.



Thanks for using 2CarPros.com!
Dec 15, 2020 at 8:33 AM (Merged)
Avatar
DAVIDSCHAFFER
  • MEMBER
  • 7 POSTS
So we received a car from a guy for doing some work for him and the car sat in his driveway for almost 5 years. Upon putting a new battery in and trying to start it. It cranked but would not start. We put a little fuel in the throttle body and it fired up. So we assumed we had a fuel problem. We towed it home and started to work on it and clean it up. We replaced the fuel filter and we found a blown EFI fuse. We replaced but still would only crank but we still weren't getting fuel so we pulled the tank and removed the fuel pump and it did not work so we replaced it and cleaned the tank and flushed and cleaned the lines. Now we have plenty of fuel up to the front with still no start. Checking the ignition we had spark on four cylinders. But after watching some videos we thought maybe it wasn't strong enough so we replaced the ignition coil. Still no change in starting. We are at a loss. We also checked compression which was the same all across the board. So we have compression, we have spark, and the plugs are wet so we definitely have fuel. At a loss of what else it could possibly be. Please help.
Dec 15, 2020 at 8:33 AM (Merged)
Avatar
JACOBANDNICKOLAS
  • CERTIFIED EXPERT
  • 110,175 POSTS
Hi,

There is a chance the fuel injectors are not getting a signal to inject fuel or they are clogged from old fuel. If it starts when you feed it fuel, then it isn't an ignition problem. At this point, I suggest two things. First, I need you to check for diagnostic trouble codes. This vehicle has an OBD1 system and you don't need a scanner to get codes. Take a look through this link. It explains how to get codes from the computer.

https://www.2carpros.com/articles/toyota-trouble-code-definitions-and-code-gathering-method-1990-1995

Do that first and let me know what codes are found.

Next, I need you to check for an injector pulse. Here is a link that will explain how to check for a pulse. If there is one, you will need to remove the injectors and check their condition. If you continue through this link, it will show you how to test the injector one it's out of the vehicle.

https://www.2carpros.com/articles/how-to-test-a-fuel-injector

Okay, that will get us started. Here are a few links you may find helpful when testing:

https://www.2carpros.com/articles/how-to-use-a-test-light-circuit-tester

https://www.2carpros.com/articles/how-to-use-a-voltmeter

https://www.2carpros.com/articles/how-to-check-wiring

Let me know what you find or if you have questions. Also, see if you use starting fluid to get it started if it will stay running. If it does, there could be an issue with the cold start injector.

I will watch for your reply.

Joe
Dec 15, 2020 at 8:33 AM (Merged)
Avatar
DAVIDSCHAFFER
  • MEMBER
  • 7 POSTS
When we first tried it with regular fuel in the throttle body it tried to start but then it suddenly stopped trying to fire. We did find a blown EFI fuse but it was replaced. We definitely have fuel in the cylinder now after changing the fuel pump, the fuel filter, and flushing the lines. The plugs are wet with fuel when we pull them out now so I know there is fuel getting into the cylinder. We also checked the spark by pulling the plug out and grounding it and they all seem to have good spark. It's odd it has spark, fuel, and compression but no fire.
Dec 15, 2020 at 8:33 AM (Merged)
Avatar
JACOBANDNICKOLAS
  • CERTIFIED EXPERT
  • 110,175 POSTS
Hi,

Okay, if you have spark and fuel it should run unless one of the following is an issue.

Low engine compression

Engine timing off (which usually will make it sound differently when cranked)

Fuel pressure is too high and flooding the vehicle.

If all of the above checks good, the engine has no choice but to run, so we are missing something. Do me a favor. Record the engine when you are trying to start it so I can hear what it sounds like. If to you it sounds normal, then I need you to perform a compression check. I would also confirm fuel pump pressure isn't too high.

_______________________

Here is a link that shows how to perform a compression test. You will need a compression gauge, but most parts stores will lend or rent one to you.

https://www.2carpros.com/articles/how-to-test-engine-compression

I would also just confirm that fuel pressure isn't too high. There could be an issue with the regulator.

I can usually tell if there is a timing issue just by hearing it. So, if you could record it, I may be able to tell. If that isn't an option, then the compression test is necessary. If timing is off, compression will be low. Please understand there are other things that can cause low compression such as a head gasket, but in most cases, that would not affect all cylinders.

One more thought. When you checked spark at the plugs, was it a hot blue snapping spark or was it more orange or white in color?

If the timing belt jumped or has broken, it will need replaced. I have all the directions step by step, so let me know if that is an issue. You may need to remove the timing belt cover to inspect it. I do have good news in all of this. If it is the timing belt, it really isn't that big of a concern. These engines are non-interference engines which means there won't be internal damage. So many cars today are the opposite.

Let me know what you find. I will watch for your reply. Don't worry, we'll get it running.

Joe

Dec 15, 2020 at 8:33 AM (Merged)
Avatar
DAVIDSCHAFFER
  • MEMBER
  • 7 POSTS
Thank you for your help. We really do appreciate it. The compression check showed 110 in all cylinders after about 3 cycles. We did try disconnecting the injectors and it still would not start with the fuel that was in the cylinder. I will try to get a video of it tomorrow but it does sound like it cranks for a few seconds and then chokes. We try again and same thing. We open up the oil fill and see the cam spinning so we know at least the timing belt is not broken. Thank you again for your help and I look forward to hearing what you have to say.
Dec 15, 2020 at 8:33 AM (Merged)
Avatar
JACOBANDNICKOLAS
  • CERTIFIED EXPERT
  • 110,175 POSTS
The choke sound could be related to timing if it is firing at the wrong time. I will wait to hear it. With that much compression, fuel, and spark, it should start. I have a feeling that we jumped time. Please reconfirm the spark. Make sure it is a hot blue spark.

Joe
Dec 15, 2020 at 8:33 AM (Merged)
Avatar
DAVIDSCHAFFER
  • MEMBER
  • 7 POSTS
Here are the two videos you requested:
Dec 15, 2020 at 8:33 AM (Merged)
Avatar
DAVIDSCHAFFER
  • MEMBER
  • 7 POSTS
I dont think I had the spark plug grounded well for that video I apologize but it normally is bright and white.
Dec 15, 2020 at 8:33 AM (Merged)
Avatar
JACOBANDNICKOLAS
  • CERTIFIED EXPERT
  • 110,175 POSTS
Hi,

It sound normal cranking except at the very start. By any chance, did you turn the distributor? Does it always act the same way?

At the start of your video, it sounded like there was a timing issue, but it went away. To me, it sounded like it was firing at the wrong time. After that, I didn't hear any firing.

Let me know,

Joe
Dec 15, 2020 at 8:33 AM (Merged)
Avatar
DAVIDSCHAFFER
  • MEMBER
  • 7 POSTS
It normally will sound like it's trying to crank then bogs out. Then you try again and then it bogs out. We did remove the cover from the timing belt and when the crank was at TDC the dot on the cam pulley was at about 2 o'clock and I think that is suppose to be straight up. Not sure on that if you can confirm. We ordered a new timing belt and are going to try that. No we did not remove the distributor just changed the coil in the distributor and checking the cap and rotor. Thank you again for your help.
Dec 15, 2020 at 8:33 AM (Merged)
Avatar
JACOBANDNICKOLAS
  • CERTIFIED EXPERT
  • 110,175 POSTS
Hi,

If you look at the first picture below, it shows the timing marks. If you are replacing the belt, here are the directions for removal and replacement. All pics correlate with the directions.

___________________________
1992 Toyota Corolla Sedan L4-96.8 1587cc 1.6L DOHC (4A-FE)
Timing Belt Removal
Vehicle Engine, Cooling and Exhaust Engine Timing Components Timing Belt Service and Repair Procedures Timing Belt Replace Timing Belt Removal
TIMING BELT REMOVAL

pic 2

REMOVAL OF TIMING BELT

1. Remove RH front wheel.
2. Remove RH engine under cover.
3. Remove washer tank.
4. Loosen water pump pulley bolts and remove alternator drive belt.

Pic 3

(a)Stretch the belt tight and loosen the water pump pulley bolts.

Pic 4

(b)Loosen the pivot nut and adjusting bolt, and remove drive belt.

Pic 5

5. On vehicles with A/C, remove A/C compressor drive belt.
(a)Loosen the idler pulley mounting bolt A.
(b)Loosen the adjusting bolt B and remove the drive belt

pic 6

6. On vehicles with PS, remove PS pump drive belt.
(a)Loosen the pivot and lock bolts.
(b)Swing PS pump toward the engine and remove the drive belt.

Pic 7

7. Disconnect engine wire from No.3 timing belt cover.
(a)Disconnect the following connectors and wire:
- Alternator connector
- Alternator wire Oil pressure switch connector
- (with A/C) Compressor connector
(b)Remove the bolt.
(c)Disconnect the wire clamp from the wire bracket, and disconnect the engine wire from the timing belt cover.

Pic 8

8. Remove spark plug.
(a)Disconnect the high-tension cord from spark plug.
(b)Using a plug wrench (16 mm), remove the spark plugs.

Pic 9

9. Remove cylinder head cover.
(a)Disconnect the PCV hoses from the cylinder head cover.
(b)Remove the three cap nuts, grommet and cylinder head cover with the gasket.

Pic 10

10. Set No.1 cylinder at TDC/Compression.
(a)Turn the crankshaft pulley and align its groove with the No.1 timing belt cover.
(b)Check that the valve lifters on the No.1 cylinder are loose If not, turn the crankshaft pulley one complete revolution (360 ).

11. Remove RH engine mounting insulator.

Pic 11

(a)Set the jack to the engine.

HINT: Place a wooden block between the jack and engine.

Pic 12

(b)Remove the three bolts and mounting stay.

Pic 13

(c)Remove the bolt, two nuts, through bolt and RH mounting.

12. Remove water pump pulley.
13. Remove crankshaft pulley.

Pic 14

(a)Using SST 09213-14010 and 09330-00021 to hold the crankshaft pulley, remove the pulley bolt.

Pic 15

(b)Using SST 09213-31021, remove the pulley.

Pic 16

14. Remove timing belt covers.
Remove the nine bolts engine wire bracket and timing belt covers.
15. Remove timing belt guide.
16. Remove timing belt and idler pulley.

Pic 17

HINT: If reusing the timing belt, draw a direction arrow on the belt (in direction of engine revolution), and place matchmarks on the pulleys and belt as shown in the Illustration.

Pic 18

(a)Remove the bolt, idler pulley and tension spring.
(b)Remove the timing belt.

17. Remove crankshaft timing pulley.

Pic 19

18. Remove camshaft timing pulley.
Hold the hexagonal head wrench portion of the camshaft with a wrench, and remove the bolt and timing pulley.

NOTICE: Be careful not to damage the cylinder head with the wrench.
_______________________________________________________________________________________

Install

1992 Toyota Corolla Sedan L4-96.8 1587cc 1.6L DOHC (4A-FE)
Timing Belt Installation
Vehicle Engine, Cooling and Exhaust Engine Timing Components Timing Belt Service and Repair Procedures Timing Belt Replace Timing Belt Installation
TIMING BELT INSTALLATION

pic 20

INSTALLATION OF TIMING BELT

1. Install camshaft timing pulley.
(a)Align the camshaft knock pin with the knock pin groove of the pulley, and slide on the pulley.
(b)Temporarily install the timing pulley bolt.

Pic 21

(c)Hold the hexagonal wrench head portion of the camshaft with a wrench, and tighten the timing pulley bolt.

Torque: 59 N.M (600 kgf. Cm, 43 ft. Lbf)

pic 22

(d)Turn the hexagonal wrench head portion of the camshaft, and align the hole of the camshaft timing pulley with the timing mark of the bearing cap.

Pic 23

2. Install crankshaft timing pulley.
(a)Align the pulley set key with the key groove of the pulley.
(b)Slide on the timing pulley, facing the flange side inward.
(c)Using the crankshaft pulley bolt, turn the crankshaft and align the timing marks of the crankshaft timing pulley and oil pump body.

Pic 24

3. Temporarily install idler pulley and tension spring.
(a)Install the idler pulley with the bolt. Do not tighten the bolt yet.
(b)Install the tension spring.
(c)Push the pulley toward the left as far as it will go and tighten the bolt.

4. Install timing belt.

NOTICE: The engine should be cold.

Pic 25

HINT: If reusing the timing belt, align the points marked during removal, and install the belt with the arrow pointing in the direction of engine revolution.

5. Check valve timing and timing belt tension.

Pic 26

(a)Loosen the timing belt idler pulley mounting bolt.

Pic 27

(b)Temporarily install the crank pulley bolt and turn the crankshaft two revolutions from TDC to TDC.

HINT: Always turn the crankshaft clockwise.

Pic 28

(c)Check the valve timing.
Check that each pulley aligns with the marks as shown in the illustration.

Pic 29

(d)Tighten the timing belt idler pulley mounting bolt.

Torque: 37 N.M (375 kgf. Cm 27 ft. Lbf)

(e)Remove the temporarily installed crank pulley bolt.

Pic 30

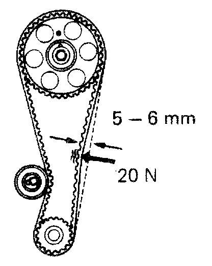
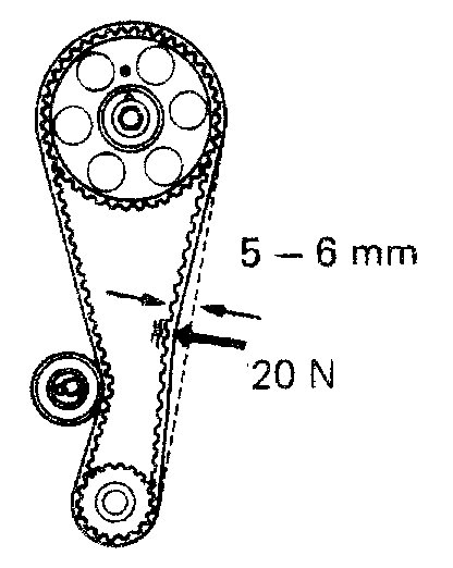
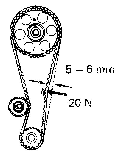
(f)(Reference) Measure the timing belt deflection as shown in the illustration.

Timing belt deflection: 5 - 6 mm (0.20-0.24 in.) At 20 N (2 kgf, 4.4 lbf)

pic 31

(g)If the measured value is not within standard, readjust with the idler pulley.

Pic 32

6. Install timing belt guide.
Install the guide, facing the cup side outward.

Pic 33

7. Install the timing belt covers.
(a)Install the timing belt cover with the three bolts.
(b)Install the No.2, No.3 timing belt covers and engine wire bracket with the six bolts.

Torque: 7.4 N.M (75 kgf. Cm, 65 in. Lbf)

pic 34

8. Install crankshaft pulley.
(a)Align the pulley set key with the key groove of the pulley and slide on the pulley.
(b)Temporarily install the pulley bolt.
(C)Using SST 09213-14010 and 09330-00021, install the pulley bolt.

Torque: 118 N.M (1,200 kgf. Cm, 87 ft. Lbf)

9. Temporarily install water pump pulley.
10. Install RH engine mounting insulator.

Pic 35

(a)Install the RH mounting insulator to the engine mounting bracket with the two nuts and bolt. Align the RH mounting insulator with the body bracket and install the mounting through bolt and nut.

Torque:
Bolt 64 N.M (650 kgf. Cm, 47 ft. Lbf)
Nut 52 N.M (530 kgf. Cm, 38 ft. Lbf)
Through bolt 87 N.M (890 kgf. Cm, 69 ft. Lbf)

pic 36

(b)Install the RH mounting stay with the three bolts, remove the jack.

Torque: 42 N.M (430 kgf. Cm 31 ft. Lbf)

11. Install cylinder head cover.

Pic 37

(a)Apply seal packing as shown in the illustration.

Seal packing: Part No. 08826-00080 or equivalent

HINT: Clean the indicated portions by removing the original sealant before recoating.

Pic 38

(b)Install the cylinder head cover with the three grommets and bolts.
(c)Install the PCV hoses.

Pic 39

12. Install spark plugs.
(a)Using a plug wrench (16 mm) install the spark plugs.

Torque: 18 N.M (180 kgf. Cm, 13 ft. Lbf)

(b)Connect the high tension cords to spark plugs.

Pic 40

13. Connect engine wire to No.3 timing belt cover.
(a)Connect the engine wire to the timing belt cover, and connect the wire clamp to the wire bracket.
(b)Install the bolt.
(c)Connect the following connectors and wire:
- Alternator connector Alternator wire
- Oil pressure switch connector
- (with A/C) Compressor connector

14. On vehicles with PS, install PS pump drive belt.
15. On vehicles with A/C, Install A/C compressor drive belt.
16. Install alternator drive belt.
17. Adjust drive belts.
Using a belt tension gauge, check and adjust the drive belt tension.

Drive belt tension:
Alternator Belt
New belt 160 20 lbf
Used belt 130 20 lbf

PS Belt
New belt 100 25 lbf
Used belt 55 20 lbf

A/C Belt
New belt 160 20 lbf
Used belt 100 20 lbf

18. Tighten water pump pulley bolts.
19. Install washer tank.
20. Install RH engine under cover.
21. Install RH front wheel.

_____________________________________________

I hope this helps. Let me know if you have questions or need help. Also, if you have a chance, let me know how things turn out for you.

Take care,
Joe
Dec 15, 2020 at 8:33 AM (Merged)
Avatar
DAVIDSCHAFFER
  • MEMBER
  • 7 POSTS
Thank you very much for your help. we changed out the timing belt yesterday and it started right up. The timing belt ended up jumping almost 5 teeth. Thank you for pointing us in the right direction and checking the alignment of it. We assumed that since it was turning the cam that the belt was good but didn't realize about it jumping teeth. Now it just appears that the alternator is not charging at all so on to the next thing, lol...
Dec 15, 2020 at 8:33 AM (Merged)
Avatar
JACOBANDNICKOLAS
  • CERTIFIED EXPERT
  • 110,175 POSTS
You are very welcome. If you need help with anything, let me know.

Take care,
Joe
Dec 15, 2020 at 8:33 AM (Merged)