Timing chain removal

1997 SAAB 900
320,356 MILES • 2.3L • 4 CYL • AUTOMATIC
Avatar
TOBY2020
  • MEMBER
  • 2 POSTS
Do I have to pull the head off to reset the timing chain?
Oct 5, 2020 at 6:44 AM
Advertisement
Avatar
STEVE W.
  • CERTIFIED EXPERT
  • 15,113 POSTS
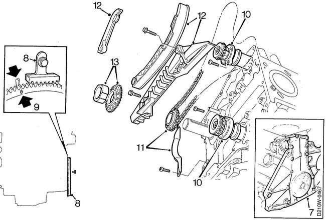
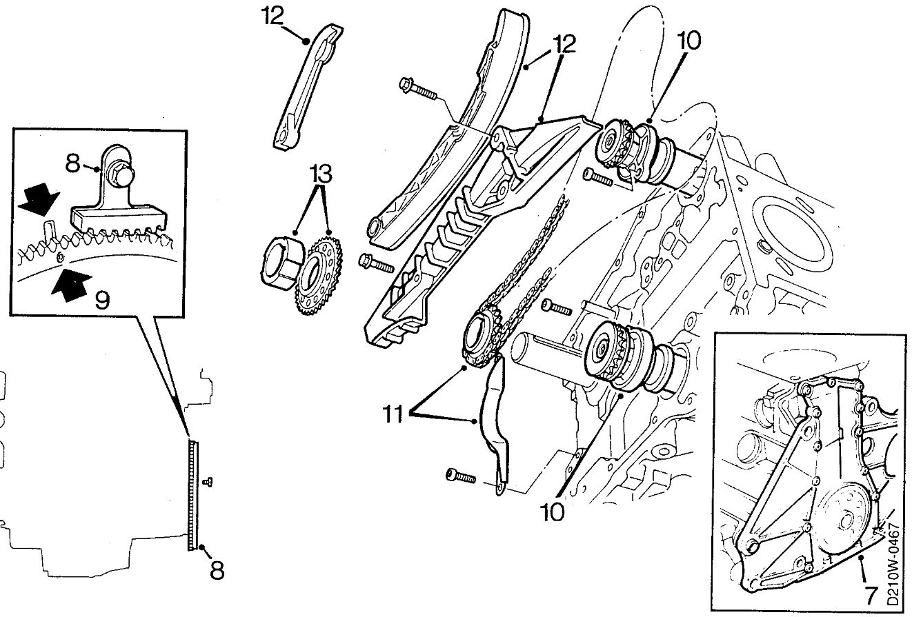
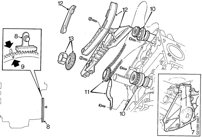
If you are replacing the chain or tensioners you leave the head in place. You need to remove the timing cover from the front of the engine though because the chain has to go through the front section of the head and down to the crankshaft and it is behind the balance shaft chain. That will need to come off as well if you are replacing the timing chain as the fixed tensioner at the top is shared by both chains.
Oct 5, 2020 at 7:35 AM
Avatar
TOBY2020
  • MEMBER
  • 2 POSTS
Okay, thank you.
Oct 5, 2020 at 10:17 AM
Advertisement
Avatar
STEVE W.
  • CERTIFIED EXPERT
  • 15,113 POSTS
You're welcome. Might I ask why you are working on the timing chain? If it is because it failed or jumped time you may have more problems than just the chain. That engine tends to bend valves if the chain fails or jumps more than a tooth or so.
Oct 5, 2020 at 1:29 PM