Timing belt cam seal replacement

2013 CHEVROLET CRUZE
100,511 MILES • 1.8L • 4 CYL • 2WD • MANUAL
Avatar
ANTHONY BROOKS
  • MEMBER
  • 3 POSTS
I need to know the torque spec for the crank shaft pulley the idler pulley, tensioner pulley cam gear bolts the one in the center. Also the piece that bolts to the head over the ends of the cams. any advice or recommendations are welcome. thanks in advance.
Jun 24, 2020 at 7:43 PM
Advertisement
Avatar
BMDOUBLE
  • CERTIFIED EXPERT
  • 1,139 POSTS
I added the entire timing procedure, just right click on it then click on open new page and it will be full size.
Jun 24, 2020 at 8:01 PM
Avatar
ANTHONY BROOKS
  • MEMBER
  • 3 POSTS
I cannot see the diagram at all.
Jun 25, 2020 at 8:47 AM
Advertisement
Avatar
STRAILER
  • CERTIFIED EXPERT
  • 53,855 POSTS
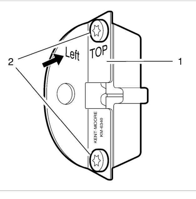
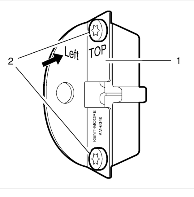
Here is the diagrams so you can read them on replacing the camshaft seal and timing belt. It includes the instruction of the camshaft actuators so you will need some special tools. If we missed anything please get back to us. Check out the diagrams (below). Please let us know if you need anything else to get the problem fixed.

Jun 25, 2020 at 4:56 PM
Avatar
ANTHONY BROOKS
  • MEMBER
  • 3 POSTS
Torque spec for the valve cover, crank bolt and idler pulley and tensioner pulleys ?
Jun 26, 2020 at 3:02 PM
Avatar
BMDOUBLE
  • CERTIFIED EXPERT
  • 1,139 POSTS
Here is some info that should help. Sorry about my micro sized pic!
Jun 26, 2020 at 5:55 PM