Fuel injectors (TBI) not spraying after engine swap

1991 CHEVROLET 1500
300,000 MILES • 5.0L • V8 • 4WD • MANUAL
Avatar
JAY TACKETT
  • MEMBER
  • 5 POSTS
Injectors not getting pulse signal from ECM. What tells the ECM to send the signal to the Injectors?
Dec 14, 2020 at 9:13 PM
Advertisement
Avatar
KASEKENNY
  • CERTIFIED EXPERT
  • 18,907 POSTS
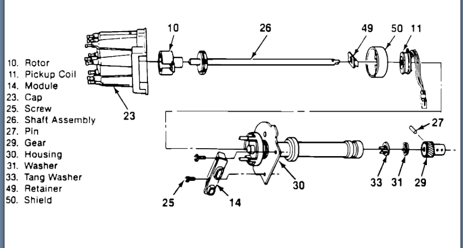
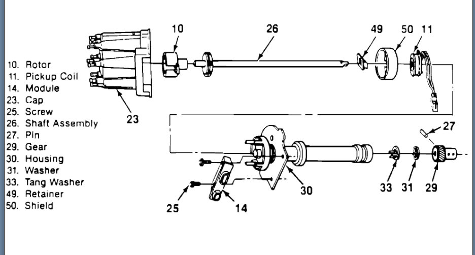
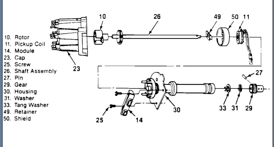
You are correct that the ECM controls the fuel pulse and when it is not pulsing the injectors, it is in what is called fuel cut off mode. I attached the specifics about this but basically it is not seeing the reference pulse from the distributor.

Take a look at this material and let's go through the testing that I attached for a crank no start.

Once we run through this, I am sure something will turn up that we need to address or even figure out what the issue is.
Dec 15, 2020 at 4:09 PM
Avatar
JAY TACKETT
  • MEMBER
  • 5 POSTS
Thanks for the reply. I have traced the problem to the ignition pulse.
Dec 15, 2020 at 4:20 PM
Advertisement
Avatar
KASEKENNY
  • CERTIFIED EXPERT
  • 18,907 POSTS
Awesome. Thanks for the update. Please come back in the future. Thanks for using 2CarPros.
Dec 16, 2020 at 4:53 PM
Avatar
JAY TACKETT
  • MEMBER
  • 5 POSTS
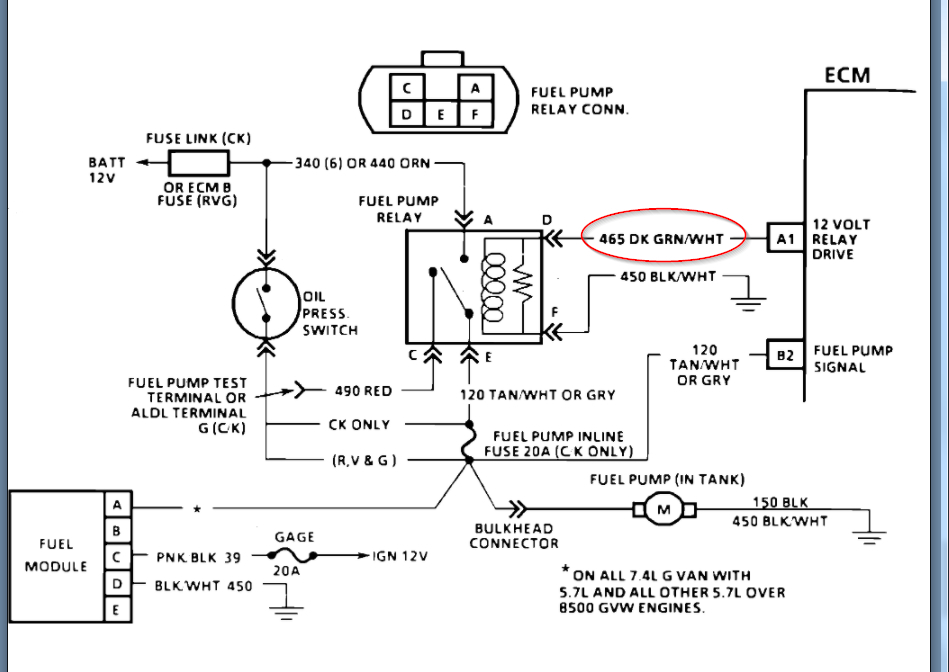
Okay, I have traced it a little further and figured out the fuel pump relay isn’t getting a signal through the green wire.
Dec 16, 2020 at 5:44 PM
Avatar
KASEKENNY
  • CERTIFIED EXPERT
  • 18,907 POSTS
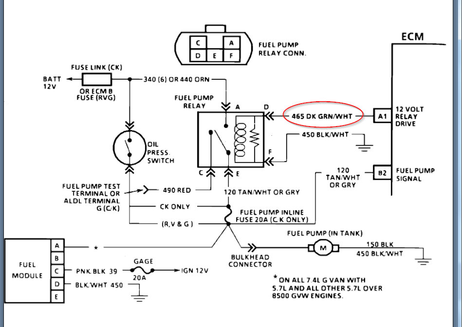
I am attaching the wiring diagram. You mean the wire from the ECM that signals to close the relay from the ECM? If so, that is either an ECM issue if you have proper ignition signal or the ECM is not getting the ignition signal. I think this would be an ECM issue because I don't think the ECM de-energizes this relay if there is no ignition signal. The way I understand it is the ECM will not energize the injectors if there is no ignition pulse.

Did you find that the ECM is getting an ignition pulse? If so, it needs an ECM.
Dec 17, 2020 at 5:09 PM
Avatar
JAY TACKETT
  • MEMBER
  • 5 POSTS
Figured out someone has cut the pink and black wire from Fuse Block to the ECM.
Dec 17, 2020 at 5:14 PM
Avatar
KASEKENNY
  • CERTIFIED EXPERT
  • 18,907 POSTS
Well, that will do it. Thanks for the reply. That is great info for others that may have similar issues. Clearly I don't expect them to have the exact cause as you did but at least we have a resolution so they can follow it through. Thanks again and glad you got it resolved.
Dec 17, 2020 at 5:45 PM