2005 Suzuki Forenza 4 cyl Front Wheel Drive Automatic
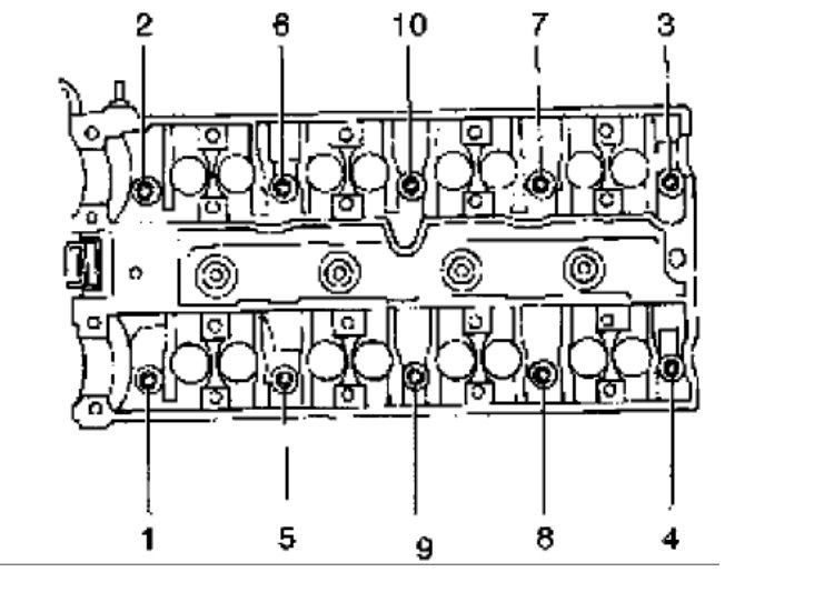
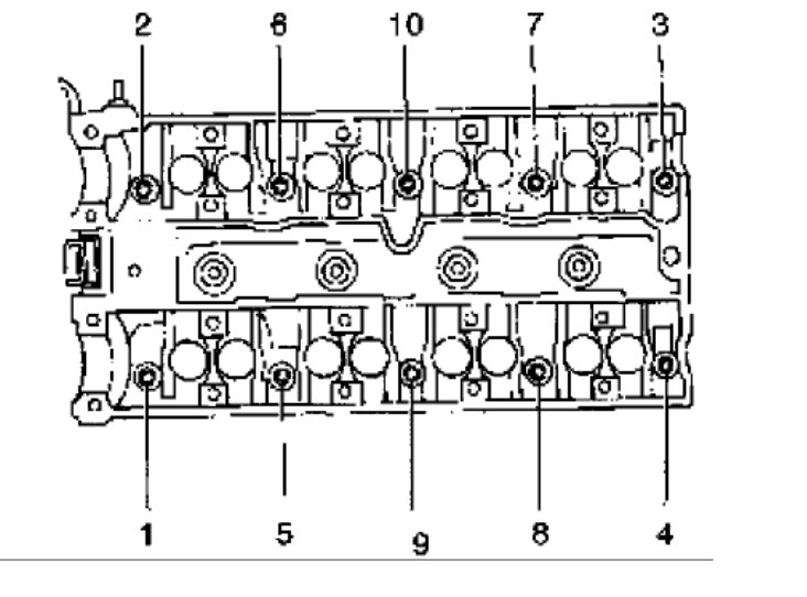
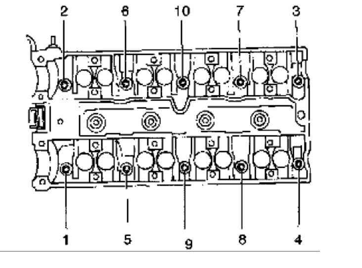
what is the torque spec for the head bolds and cam cap bolts on suzuki forenza 2005
what is the torque spec for the head bolds and cam cap bolts on suzuki forenza 2005
Feb 27, 2010 at 8:29 PM












