This is more likely a factor of the alignment. An alignment is required when replacing the front struts because one of the three man angles is adjusted by means of the two lower mounting holes. That angle is "camber". That's the inward or outward tilt of the wheel, as viewed from in front of the vehicle. Camber on each wheel must be within specs for good tire wear on the edges of the tread, and it must be equal on both sides. A tire wants to roll in the direction it's leaning. Both must lean an equal amount to cancel out their tendencies to pull to one side, then we tilt the left wheel slightly more outward on top to offset "road crown". That's the slant in the road so water runs off.
The third of the main alignment angles is "toe". That refers to the direction the wheels are steering when the steering wheel is straight ahead. Due to the geometric relationship of the steering and suspension parts, changing camber causes a change in toe, but making a change in toe has almost no effect on camber. For that reason, camber is always adjusted first, and toe is always adjusted last.
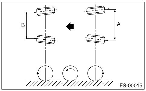
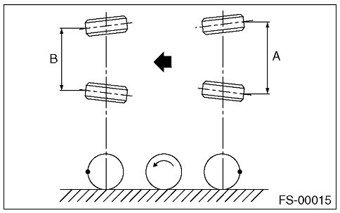
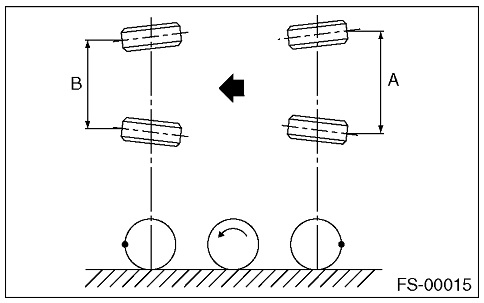
Toe is usually specified as slightly "toe-in", as shown in this drawing from Subaru. Road forces pull the wheels back to make them perfectly parallel to each other while driving.
Besides toe changing from the change in camber when replacing the strut, toe can also be accidentally misadjusted during the alignment due to a number of factors not limited to operator error. If "total toe", meaning the two wheels taken together, is 'toed -out", the wheels will be steering away from the center of the car. In minor cases that only results in a little steering wander that is often ignored or possibly not even noticed. With excessive toe-out, the car can only follow one tire. That's the one with the most weight on it, and is usually the right one since roads lean to the right. There will be accelerated tire wear on the inner edges of both front tires.
In extreme cases of excessive toe-out, when wind blows from the left to the right, it pushes the car over and puts more weight on the right tire. The car will follow that tire and you have to counter that with the steering wheel by turning it slightly left. Now, when the wind stops blowing, or it blows the other way, it will shift the weight onto the left tire, then the car will start to follow that one, which is turned slightly to the left. All vehicles have a tendency to go in the direction wind is blowing, but toe-out accentuates that tendency.
Excessive toe-in has the opposite effect. With both front wheels steering toward the center of the vehicle, when wind blows the body over and puts more weight on the right tire, the car will follow it to the left. That can feel like it has real good stability when driving in windy conditions, but to achieve that, the excessive toe-in will cause rapid tire wear on the outer edges of both tires. The vehicle will also over-react to steering changes. By turning left, more weight transfers to the right tire, and by being toed-in too much, it will turn the car left even more than was expected.
You should get a printout of the alignment that shows the "Before" readings that were taken automatically before any adjustments were made, and the "After" readings when the alignment was completed. You can use the second chart to compare to factory specs. Note that they show a negative sign with the camber specs. That means those wheels are tipped in on top slightly.
Images (Click to enlarge)
May 2, 2021 at 3:08 PM