Sunroof stuck in tilt position?

2012 FORD F-350
103,000 MILES • 6.7L • V8 • TURBO • 4WD • AUTOMATIC
Avatar
RYAN MURRAY
  • MEMBER
  • 1 POST
I can hear the slide moving back and forth, but glass just bounces a bit and doesn’t go down. Thinking maybe linkage came undone.
Mar 7, 2023 at 3:54 AM
Advertisement
Avatar
STRAILER
  • CERTIFIED EXPERT
  • 53,854 POSTS
I would try to spray wd40 on the sunroof slides first, then here is the bounce back override procedure.

Bounce-Back Override

To override a bounce-back condition (to overcome the resistance of ice on the roof opening panel seal for example), within 2 seconds of a bounce-back event, pull and hold the Slide or Tilt control switch. The closing force begins to increase each time the roof opening panel is closed for the first 3 closing cycles (bounce-back is still enabled).

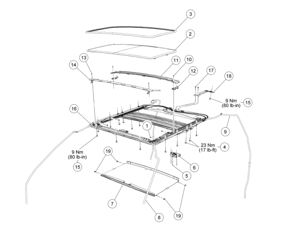
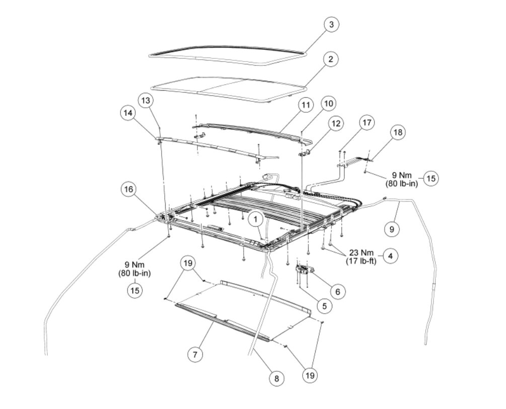
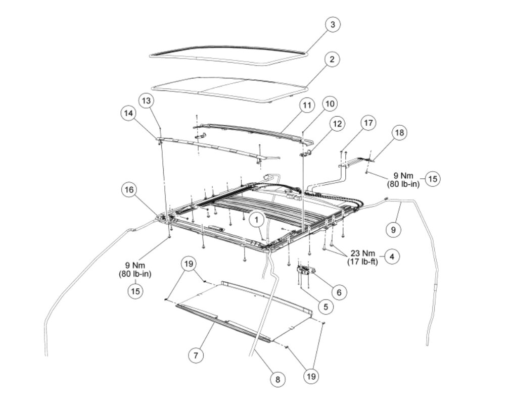
If that doesn't work, then we must disable the unit to see what broke. Here is how to disable the sunroof and how to remove the headliner to get at it. Check out the images (below). Let us know what happens and please upload pictures or videos of the problem.
Mar 8, 2023 at 10:32 AM