Suddenly loses power

2001 SATURN L300
120,000 MILES • 3.0L • V6 • 2WD • AUTOMATIC
Avatar
THESATURN
  • MEMBER
  • 1 POST
Was running rough. Had misfire earlier on 1-3 cylinder replaced 1-3-5 plugs and run fine a few days.

Now car starts, moves, but won't accelerate. Exhaust air at tailpipe is low. odor like gasoline present at cabin.
Old plugs had a lot of buildup.
Bought car used and have not replaced fuel filter or fuel pump. Where are they located?
Can someone help on this? I appreciate this.
Dec 9, 2020 at 3:12 AM
Advertisement
Avatar
DANNY L
  • CERTIFIED EXPERT
  • 5,648 POSTS
Hello, I'm Danny.

Yes, it's possible you can have a plugged fuel filter and a weak or failing fuel pump. If you decide to go ahead a change the fuel filter then the first thing I would do after is perform a fuel pressure test. Here are tutorials showing how to change a fuel filter and perform a fuel pressure test:

https://www.2carpros.com/articles/how-to-change-a-fuel-filter

https://www.2carpros.com/articles/how-to-check-fuel-system-pressure-and-regulator

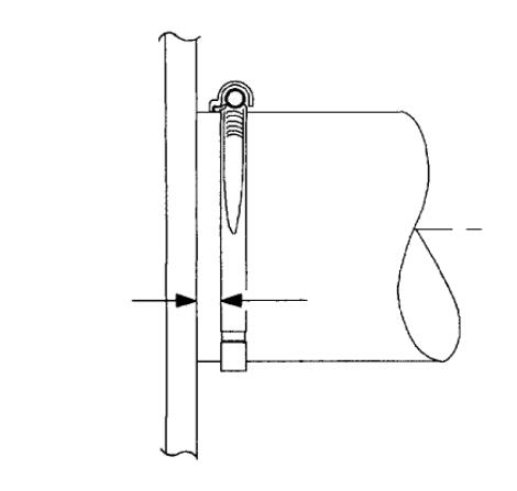
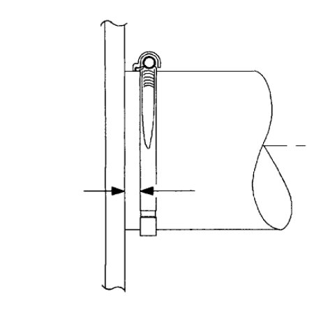
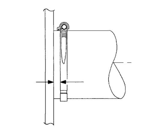
I've attached picture steps below on replacement of the fuel filter and fuel pump below. Due to the large amount of picture steps I will continue after this on a second post on how to remove and replace the fuel tank. You will have to do that first to gain access to the fuel pump. Hope this helps and thanks for using 2CarPros.
Dec 9, 2020 at 6:37 PM
Avatar
DANNY L
  • CERTIFIED EXPERT
  • 5,648 POSTS
Hello again.

This is the follow up post on how to remove and replace the fuel tank to gain access to the fuel pump. Let us know if you have any further questions on these issues. Hope this helps and thanks again for using 2CarPros
Dec 9, 2020 at 6:44 PM
Advertisement