steering torque sensor replacement

2006 PONTIAC G6
141,000 MILES • 2.4L • V6 • 2WD • AUTOMATIC
Avatar
KITMS7
  • MEMBER
  • 48 POSTS
I just had my steering torque sensor replaced because the power steering light was flashing and my steering wheel would lock up. Now after the mechanic put the new sensor on the airbag service light and flashing and the steering wheel stays locked. The mechanic told me I did not need the sensor. He says that i need a new gear box but my car is doing something totally different when i start it. Before he worked on it i could restart it and my steering wheel would unlock if the power steering light was on. Now it just stays locked but my check engine light has gone off and the steering wheel is no longing shaking like it was before. It feels like a different problem all together. Could he have put the sensor on wrong when he replaced the sensor?
Mar 31, 2019 at 2:04 PM
Advertisement
Avatar
STRAILER
  • CERTIFIED EXPERT
  • 53,854 POSTS
Yes, it sounds like the clock spring got damaged in the repair which is common. To confirm the issue lets run the codes and then scan the CAN. Here are two videos to show what we need to do:

https://youtu.be/b2IJGfImVvw

and

https://youtu.be/InIlnsjOVFA

Please run down these guides and report back. Auto parts store does it for free
Apr 2, 2019 at 11:43 AM
Avatar
KITMS7
  • MEMBER
  • 48 POSTS
I believe that the sensor was put on wrong. The wheel is unlocked while the car is off but gets tight while it is on. It shakes heavy while turning. My boyfriend unplugged the torque sensor and it stopped. Maybe the mechanic did not align it correctly?
Apr 2, 2019 at 12:28 PM
Advertisement
Avatar
STRAILER
  • CERTIFIED EXPERT
  • 53,854 POSTS
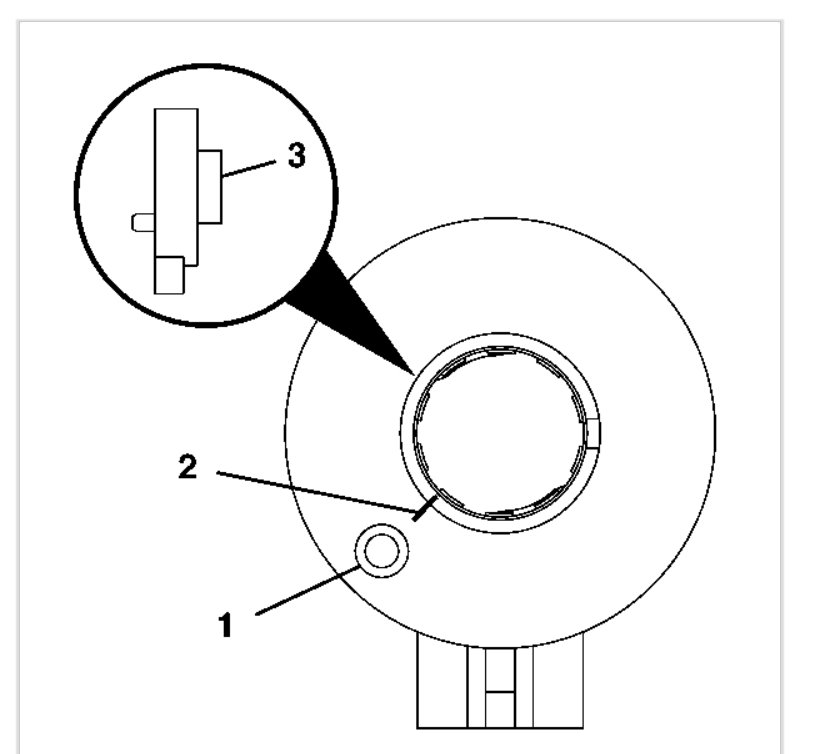
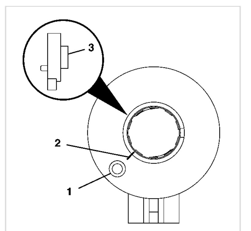
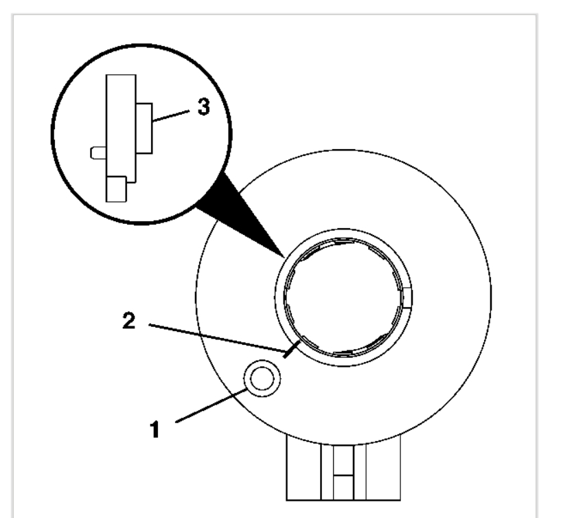
Yes that is exactly what it sounds like here are instructions on how to do the job correctly below. It sounds like he did not center the sensor. Check out the diagrams (Below). Please let us know what you find. We are interested to see what it is.

Apr 3, 2019 at 10:04 AM