steering rack replacement?

2003 FORD EXPLORER
124,000 MILES • 5.3L • V8 • 4WD • AUTOMATIC
Avatar
ROBERT LOUDERMILK SR.
  • MEMBER
  • 12 POSTS
Hard to steer, play in steering wheel.
Jan 16, 2021 at 10:14 AM
Advertisement
Avatar
STRAILER
  • CERTIFIED EXPERT
  • 53,854 POSTS
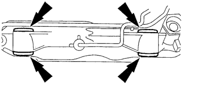
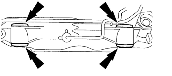
This is common when the steering pump or steering box goes out. Can I ask if the system makes any noise when you are trying to steer it. Also remove the steering fluid cap and start the engine do you see fluid moving around? If so it sounds like the steering rack went out. step by step with instructions in the diagrams below to show you how on your car. Check out the diagrams (below). Let us know what happens and please upload pictures or videos of the problem.


Jan 18, 2021 at 6:54 PM
Avatar
MOAIRCO2002
  • MEMBER
  • 1 POST
Steering problem
2000 Ford Explorer V8 Two Wheel Drive Automatic

While trying to remove the rack and pinion it wont rotate enough to clear the oil pan. One site said to lift the engine by unbolting the top motor mounts.
First question: Is there a way to remove the rack and pinion without lifting the engine.
If not where are the top motor mounts located?
Jan 20, 2021 at 1:05 PM (Merged)
Advertisement
Avatar
JACOBANDNICKOLAS
  • CERTIFIED EXPERT
  • 110,175 POSTS
First, the engine needs to be lifted. Second, there is no upper motor mount. THere are only 2 and the are mounted on the frame. You need to safely secure the engine and remove the mounts and lift the engine. Make sure not to go too far because you could cause damage to the transmission bell housing.
Jan 20, 2021 at 1:05 PM (Merged)
Avatar
FORD123ABC
  • MEMBER
  • 1 POST
I am working on a 2000 ford explorer 5.0 instead of moving engine why not remove oil pan? Moving the whole engine makes me worry about the transmission.
Jan 20, 2021 at 1:05 PM (Merged)
Avatar
MCAT7
  • MEMBER
  • 3 POSTS
Wife told me that the power steering in her Ford Explorer was getting stiff. She checked and added a small amount of power steering fluid to top off the reservoir.
The problem was still there. Seemed that the steering was stiff when turning sharply out of the driveway at low engine RPM.
I purchased some belt dressing and got some on the serpentine belt as the engine was running. I took the Explorer to Huntington (about 40 miles, mostly two lane highway and ten to fifteen minutes city driving) for a doctors appointment and the steering was some better but still was stiff when turning sharply at city street corners and in parking lots.
When I returned home I had my wife start and stop the engine to completely coat the inside of the serpentine belt with spray-on belt dressing.
The next day I had to return to the doctors office for a follow-up appointment (cataract surgery) and discovered the steering was not any better.
When I left the doctors office I heard a rattle sound either in the dash or under the hood. I had just had my eyes dialated and it was late dusk. I had to use my headlights and heater (it was cold out). I was concerned about driving with the glare of the other cars on the road headlights. When I was a short mile from the freeway across town when I noticed that the red battery warning light was on. The steering was quite stiff but manageable on fairly straight roads. I drove the 40 or so miles home with no heat and was happy the lights stayed brightly on.
This morning I drove across the small towns I live in, about 3 miles of city streets, to the Auto Zone store and purchased a new serpentine belt and a lifetime guaranteed rebuilt power steering pump. Returned to close to home a garage/filling station to have the mechanic replace the power steering pump and serpentine belt.
The mechanic just called and said the pump wasn't any good as the steering was still very stiff. He suggested the rack and pinion unit might be bad. He called Auto Zone and they didn't have another power steering pump but would have one in the morning.
My main question is: Could I have hurt the rack and pinion unit, or any valves in the rack and pinion unit by driving the Explorer as much as I did?
Any advice will be greatly appreciated.
Thank you in advance,
Bruce
Jan 20, 2021 at 1:05 PM (Merged)
Avatar
SATURNTECH9
  • CERTIFIED EXPERT
  • 30,869 POSTS
More then likely you just had a bad rack and pion and not a bad power steering pump.If they had a power steering pressure tester they could have tested the pressure of the power steering pump to see if it was good.
Jan 20, 2021 at 1:05 PM (Merged)
Avatar
MCAT7
  • MEMBER
  • 3 POSTS
Thank you Saturntech9!

Auto Zone delivered a new rebuilt power steering pump to the garage/filling station this morning as the one put on yesterday did not fix the power steering problem. We were 'shooting in the dark' supposing the first rebuilt pump was bad. This happened before I got your email reply to my question.

The mechanic from the garage/filling station just called and said the new power steering pump had corrected the steering problem. Obviously the first Auto Zone Lifetime Guarantee Rebuilt Power Steering Pump was defective.

Thank goodness that the rack and pinion was not the problem! Just before Christmas is not a good time to have the extra expense of a broke down vehicle.
Your statement about the power steering pressure tester hit the nail right on the head.

As the chief electrician/mechanic in a Coal Washer Plant I should have remembered that good trouble shooting is the key to proper mechanical repair. My 69 year old mind was slipping.

Your assistance and knowledge is greatly appreciated. I am remembering all the times that I had to teach new electricians the proper way to trouble shoot. If I would have thought that there must be a way to check the function of a power steering pump (I did not know there was a pressure tester for power steering pumps) I would have saved all of us involved in the power steering problem a lot of time and effort.

Again I thank you for reminding me of using proper trouble shooting techniques.
Bruce
Jan 20, 2021 at 1:05 PM (Merged)
Avatar
SATURNTECH9
  • CERTIFIED EXPERT
  • 30,869 POSTS
Your welcome glad to hear it was a easy fix everyone needs help sometime in there life thats what were here for.Hope you and your family have a very merry Christmas.
Jan 20, 2021 at 1:05 PM (Merged)
Avatar
MCAT7
  • MEMBER
  • 3 POSTS
Saturntech9, Merry Christmas to you and yours!
Again, thank you.
Bruce
Jan 20, 2021 at 1:05 PM (Merged)
Avatar
TOTALPERFEKTION
  • MEMBER
  • 1 POST
Steering problem V8 All Wheel Drive Automatic 244,00 miles

We are trying to remove the old rack and pinion. The Haynes manual says it needs to be rotated to the front in order to be removed. I have disconnected everything the book instructs, but the rack will not rotate to the front. Is there something that I am missing or a step the manual does not list?
Jan 20, 2021 at 1:05 PM (Merged)
Avatar
STRAILER
  • CERTIFIED EXPERT
  • 53,854 POSTS
Yep those can be tricky, use must do kind of a dance to get it out of there. Here are some guides to help you get the job done.

https://www.2carpros.com/articles/tie-rod-end-replacement

and if jacking the car up is needed.

https://www.2carpros.com/articles/jack-up-and-lift-your-car-safely

Here is what the book says how the job is done you can see you need to pull the input shaft housing forward.

Please let us know what happens.

Cheers, Ken
Jan 20, 2021 at 1:05 PM (Merged)
Avatar
SHAYS
  • MEMBER
  • 2 POSTS
Whenever I have the steering wheel in the center and turn slightly to the left and sometimes right the wheel sticks for a moment then releases with a slight jerk. I hear a clunking sound around wheel the steering shaft meets the steering motor. I cant see any visible damage to anything besides the rubber boot that covers that section being torn. It is very hard to get to and remove. I have been told its the rack and pinion going bad and my power steering pump or motor (don't know which) makes noise when turning (as well as the power steering fluid smelling burnt). Do you think it is the rack and pinion or may there be an easier/cheaper method of repairing this issue?
Jan 20, 2021 at 1:05 PM (Merged)
Avatar
JACOBANDNICKOLAS
  • CERTIFIED EXPERT
  • 110,175 POSTS
Is there any fluid leaking from the rack? Also, is the noise coming from the PS pump when you turn?
Jan 20, 2021 at 1:05 PM (Merged)
Avatar
SHAYS
  • MEMBER
  • 2 POSTS
Theres no fluid leaking from rack and yes there is sound coming from the power steering when I turn but the sound varies. Its usually louder when the car is sitting in park and I turn the wheel.
Jan 20, 2021 at 1:05 PM (Merged)
Avatar
JACOBANDNICKOLAS
  • CERTIFIED EXPERT
  • 110,175 POSTS
If the PS fluid is full, I have to say Ford has had more than than their share of problems with pumps. What makes it worse is the remanufacturered ones they sell at parts stores usually make as much noise or more. At this point, that would be my first guess.
Jan 20, 2021 at 1:05 PM (Merged)