Hi, Dane, and thanks for using 2CarPros.com.
Based on your description, it could be a few different things causing this. First, if the check engine light has come on and stayed on when the engine is running, you need to scan the computer for codes. If you have a scanner, great. If you do not, often times parts stores will lend you one.
Here is a quick video that shows how to use one:
https://youtu.be/YV3TRZwer8k
Now, there are a couple other things which could be checked. Both a weak fuel pump (low pressure) or an ignition problem (such as a bad crankshaft position sensor) can be an issue.
Here is a link which describes how to check fuel pressure:
https://www.2carpros.com/articles/how-to-check-fuel-system-pressure-and-regulator
The first picture below contains the fuel pressure specifications required by the manufacturer. The second is where the pressure gauge is connected.
Next, a bad crankshaft position sensor can act similar to what you described and never set an engine code. (the check engine light never comes on). Read through this link which describes symptoms of a bad sensor.
https://www.2carpros.com/articles/symptoms-of-a-bad-crankshaft-sensor
If you find the sensor is the issue, here is a general guide for replacement
https://www.2carpros.com/articles/crankshaft-angle-sensor-replacement
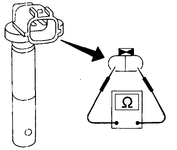
If you feel the sensor should be checked, here are the specific directions from alldata specific to your vehicle. Pictures three and four correlate with these directions.
CRANKSHAFT POSITION SENSOR (OBD)
1. Disconnect crankshaft position sensor (OBD) harness connector.
2. Loosen the fixing bolt of the sensor.
3. Remove the sensor.
4. Visually check the sensor for chipping.
5. Check resistance as shown in the figure.
Resistance: Approximately 166.5 - 203.5 Ohms [at 20°C (68°F)]
If NG, replace crankshaft position sensor (OBD).
Picture five is the location of the sensor.
I hope this helps. Let me know if you have other questions or need additional help.
Joe
Images (Click to enlarge)
Jul 24, 2018 at 7:28 PM