Spider injectors testing?

2000 GMC JIMMY
200,000 MILES • 4.3L • 6 CYL • 4WD • AUTOMATIC
Avatar
KERRBEAR9180
  • MEMBER
  • 4 POSTS
I have a spiders injectors that were taken out of my Jimmy I want to test them to see if they're good. I only have the injectors, no wires or any plugs that go into them. I wantbto test them with a 12v battery and I need to know, out of the 12 pins, which ones are positive and which ones are the ground. All 12 pins are silver.
Apr 20, 2026 at 12:43 PM
Advertisement
Avatar
STEVE W.
  • CERTIFIED EXPERT
  • 15,113 POSTS
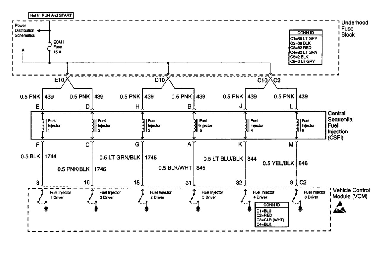
These are the pin connections. Basically each 2 pin set fires one injector. BUT you have to be careful, they are normally pulsed open very rapidly and have fuel going through them to keep them cool. Without the fuel they will get heated very quick and can burn out.
Apr 20, 2026 at 8:28 PM
Avatar
KERRBEAR9180
  • MEMBER
  • 4 POSTS
Thank you so much!! The second image is exactly what ive been looking for for days!! Is there any way to keep them from burning out when I test them? Again, they are not in the vehicle anymore and I will be testing them with a 12V battery. I dont have a multimeter, nor access to one. Or is there any other way I can test them?
Apr 20, 2026 at 11:09 PM
Advertisement
Avatar
STEVE W.
  • CERTIFIED EXPERT
  • 15,113 POSTS
Depends on what you are testing them for. Normally you would use a meter and check that they all have the same resistance. If they do then they should be OK. If you want to test operation, the proper way would be to use a flow bench and test them using that. Just touching 12 volts to them won't really tell you much, they just click. You might try using a simple test lamp and comparing how bright the lamp is and if the injector fires. As for a meter, you can buy them very cheap and they are very useful for testing items on a vehicle.
Apr 21, 2026 at 5:00 AM
Avatar
KERRBEAR9180
  • MEMBER
  • 4 POSTS
I want to see if they are any good. What happened is a couple years ago I took my Jimmy to a mechanic, injectors where the first thing he checked. In the end, the engine was replaced. He gave me these injectors, said they were the ones he bought to see if that was the problem. Didn't give them a second thought. I decided to pull them out to sell them and see they are covered in oil, grease, etc. Definitely NOT the new ones I paid for! Now, besides wanting to sell them, I'm wondering if I just got taken by this mechanic and that was the original problem. So, by lamp test do you mean simply taking a lamp and putting the wires on each set of injector pins and see if it lights up?
Apr 21, 2026 at 5:39 AM
Avatar
STEVE W.
  • CERTIFIED EXPERT
  • 15,113 POSTS
No, you would take a test light, connect the clamp to the positive battery post, then take a wire and connect it to the negative post. When you touch the tip of the test light to the wire it should light up. Now take the spider and touch the wire to the ground side of one of the injector pins and the test light tip to the positive pin on that same injector. If the wiring in the injector is OK the light should come on and the injector should click. This might give you a bit of help. You are creating a circuit so the power goes from the battery through the light and the injector and back to the battery.
https://www.2carpros.com/articles/how-to-use-a-test-light-circuit-tester
FYI, the spider injectors were a very common failure item in those engines. It's why the original design was replaced with the later individual injectors over the poppet style.
Apr 21, 2026 at 7:12 AM
Avatar
KERRBEAR9180
  • MEMBER
  • 4 POSTS
Thank you again. That was easy enough to do. What does it mean if the light comes on but no click? Unless it's really quiet and I just couldn't hear it? Is that possible? And is there anything else on it that should be tested to make sure it's good to be installed in a vehicle?
Apr 22, 2026 at 2:26 AM
Avatar
STEVE W.
  • CERTIFIED EXPERT
  • 15,113 POSTS
The light comes on because it's a complete circuit. The injector is basically an electromagnet with a coil of wire around the core. The test you did shows the coil is still complete. However it doesn't really tell you if the injector itself is good. To do that you need a flow bench or at least a way to send pressurized solvent through it while triggering it with a pulsed voltage to see if it is flowing properly. Not a tool many people have laying around. However, if you are selling the spider anyway, just list that you tested the coils for continuity and that it came from a running engine. FYI these are the two designs GM used, the early one uses poppet injectors, the other is the later replacement, and what is available as a conversion assembly these days.
Apr 22, 2026 at 10:37 AM