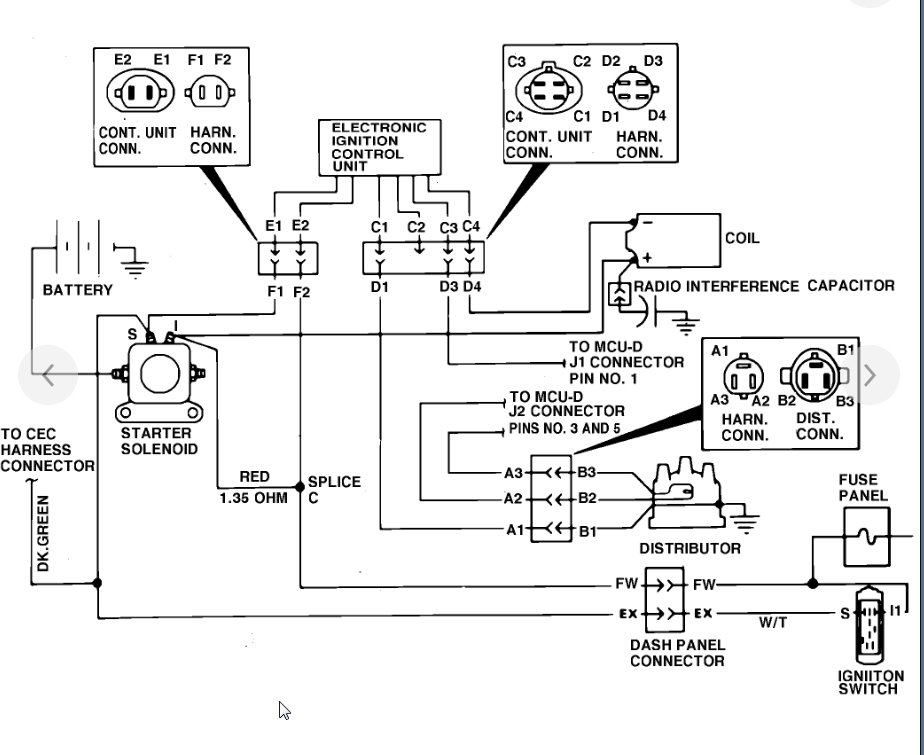
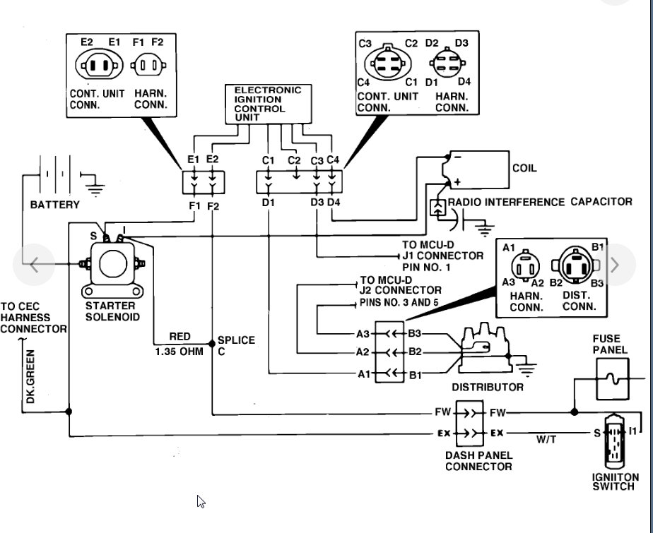
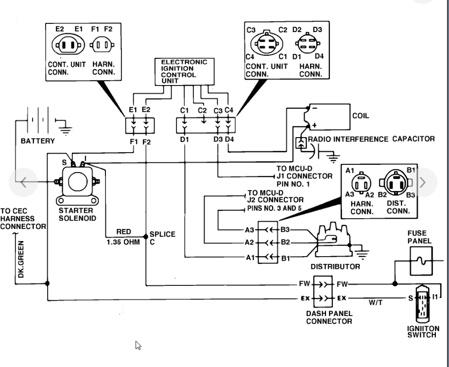
I had it park for close to a year I got it running and everything is restored new working. so as I was saying I got it running and it started up fine. I was using it for a week then it’s just shut off on me. so I have spark coming out of the coil but not out off the distributor there is no spark. I tested the spark plug, I grounded it and nothing. well, I did see a little spark but then after that nothing. I already replaced the ignition control module since this was not the first time something like this happen. now I’m a little confused hope you could help. my next step is possible replacing the distributor.
Aug 26, 2019 at 8:27 PM

