I am trying to put my spark plug wires back on and do not know exactly which wire goes to which.
Aug 12, 2019 at 8:24 AM
Advertisement
BMDOUBLE
CERTIFIED EXPERT
1,139 POSTS
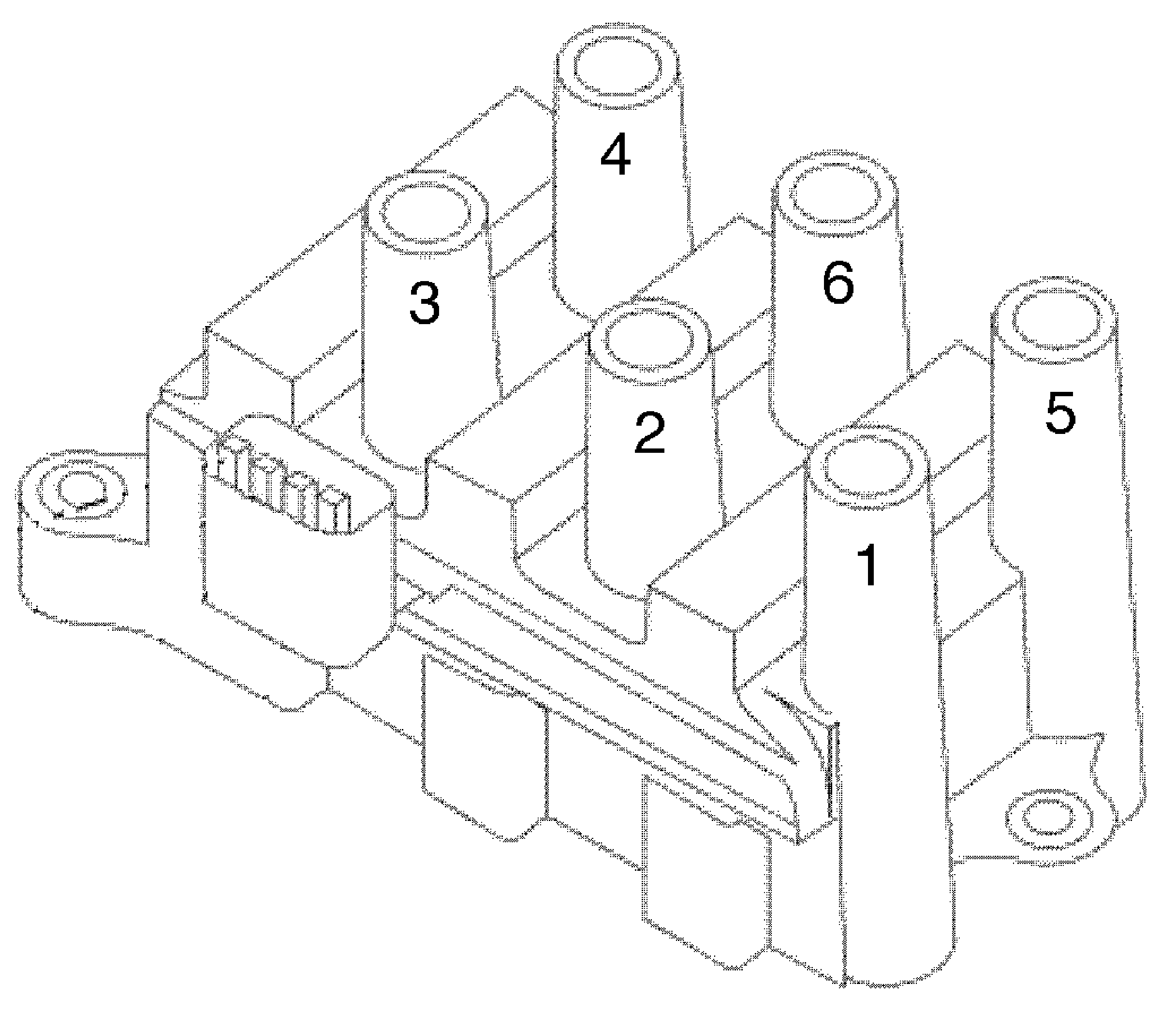
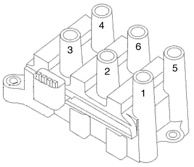
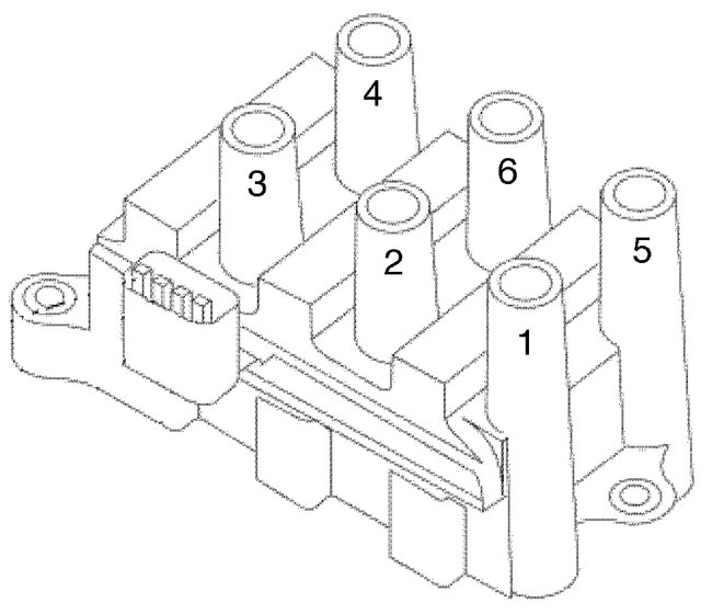
I included the firing order and a picture of the coil with cylinder numbers on it. Check out the diagrams (Below). Please let us know if you need anything else to get the problem fixed.Hope this helps!