Shift solenoid 1-2 2-3

2010 CHEVROLET COBALT
181,000 MILES • 2.2L • 4 CYL • 2WD • AUTOMATIC
Avatar
DUWHOP31
  • MEMBER
  • 151 POSTS
What are the steps to replace the shift solenoid A 1-2 and 2-3? What parts do you have to remove to get to the shift solenoids?
Jul 3, 2019 at 7:14 PM
Advertisement
Avatar
JACOBANDNICKOLAS
  • CERTIFIED EXPERT
  • 110,175 POSTS
Welcome to 2CarPros.

Here are the directions specific to your vehicle regarding the shift solenoids. The directions are broken into two sections, the 1-2 solenoid and 2-3. All attached pics correlate with the directions. Also, to access the solenoids, you have to remove the side cover from the transmission. Those directions are first. Note: The cover removal directions are for cover replacement. You will not be replacing the cover, just following the directions for removal and install.

________________________________________________________

Control Valve Body Cover Replacement

Special Tools

J 36850 - Transjel Lubricant

Removal Procedure

1. Remove the air cleaner housing assembly. Refer to Air Cleaner Assembly Replacement (See: Air Cleaner Housing > Removal and Replacement > Air Cleaner Assembly Replacement).


pic 1

2. Remove the underhood electrical center from the bracket.
3. Remove the underhood electrical center bracket.


pic 2

4. Disconnect the shift cable from the PNP switch.
5. Remove the shift cable bracket.


pic 3

6. Remove the PNP switch lever nut and lever.


pic 4

7. Remove the PNP switch. Refer to Park/Neutral Position Switch Replacement (See: Transmission Position Sensor/Switch, A/T > Removal and Replacement > Park/Neutral Position Switch Replacement).
8. Remove the transmission upper side cover bolts.
9. Install the engine support fixture. Refer to Engine Support Fixture (See: Engine > Removal and Replacement > Engine Support Fixture).
10. Raise the vehicle. Refer to Lifting and Jacking the Vehicle (See: Vehicle Lifting > Procedures > Lifting and Jacking the Vehicle).
11. Remove the left front tire and wheel. Refer to Tire and Wheel Removal and Installation (See: Wheels and Tires > Removal and Replacement).
12. Remove the left inner fender liner. Refer to Front Fender Liner Replacement (See: Front Fender Liner > Removal and Replacement).
13. Remove the wheel drive shaft from the transmission. Refer to Wheel Drive Shaft Replacement (See: Axle Shaft Assembly > Removal and Replacement).
14. Remove the power steering gear mounting bolts. Refer to Steering Gear Replacement (See: Steering Gear > Removal and Replacement > Steering Gear Replacement).
15. Remove the frame. Refer to Frame Replacement ().
16. Remove the transmission mount. Refer to Transmission Front Mount Replacement (See: Transmission Mount, A/T > Removal and Replacement > Transmission Front Mount Replacement) or Transmission Rear Mount Replacement (See: Transmission Mount, A/T > Removal and Replacement > Transmission Rear Mount Replacement).
17. Lower the vehicle.
18. Lower the engine with the engine support fixture.
19. Raise the vehicle.


pic 5

20. Remove the 11 transmission side cover bolts (3) or Studs (4) (model dependant).

Caution: Pry on the corner of the case side cover near the locating dowel pins (45), to prevent damage to the sealing surfaces.

21. Remove the transmission side cover (1).
22. Remove the two side cover gaskets (5 and 6) and the side cover to driven support thrust washer (7). They may remain with the side cover. Only replace if necessary.

Installation Procedure


pic 6

1. If the seals were removed, thoroughly clean and dry the side cover seal grooves and the side cover seals.
2. Install the side cover gaskets (5 and 6) into the grooves on the side cover (1).
3. Retain the seals with J 36850 or equivalent.
4. Install the side cover to drive sprocket thrust washer (7) onto the side cover.
5. Retain the thrust washer with J 36850 or equivalent.


pic 7

6. Install the side cover assembly onto the transmission case.
7. Install the 11 side cover bolts (3) or studs (4) (model dependent).


pic 8

8. Refer to the graphic in order to find the correct installation points of the bolts and the stud.


pic 9


Caution: Refer to Fastener Caution (See: Vehicle > Vehicle Damage Warnings > Fastener Caution).

9. Hand start the bolts (3) and tighten the side cover bolts and stud to 28 Nm (22 lb ft).
10. Lower the vehicle.
11. Raise the engine with the engine support fixture.
12. Raise the vehicle.
13. Install the transmission mount. Refer to Transmission Front Mount Replacement (See: Transmission Mount, A/T > Removal and Replacement > Transmission Front Mount Replacement) or Transmission Rear Mount Replacement (See: Transmission Mount, A/T > Removal and Replacement > Transmission Rear Mount Replacement).
14. Install the frame. Refer to Frame Replacement ().
15. Install the power steering gear mounting bolts. Refer to Steering Gear Replacement (See: Steering Gear > Removal and Replacement > Steering Gear Replacement).
16. Install the wheel drive shaft to the transmission. Refer to Wheel Drive Shaft Replacement (See: Axle Shaft Assembly > Removal and Replacement).
17. Connect the left ball joint to the steering knuckle. Refer to Lower Control Arm Ball Joint Replacement (with FE1 Only) (See: Ball Joint > Removal and Replacement > Lower Control Arm Ball Joint Replacement (With FE1 Only)).
18. Install the left inner fender liner. Refer to Front Fender Liner Replacement (See: Front Fender Liner > Removal and Replacement).
19. Install the left front tire and wheel. Refer to Tire and Wheel Removal and Installation (See: Wheels and Tires > Removal and Replacement).
20. Lower the vehicle.
21. Remove the engine support fixture. Refer to Engine Support Fixture (See: Engine > Removal and Replacement > Engine Support Fixture).


pic 10

22. Install the PNP switch. Refer to Park/Neutral Position Switch Replacement (See: Transmission Position Sensor/Switch, A/T > Removal and Replacement > Park/Neutral Position Switch Replacement).


pic 11

23. Install the PNP switch lever and nut and tighten to 35 Nm (26 lb ft).


pic 12

24. Install the shift cable bracket.
25. Connect the shift cable from the PNP switch.


pic 13

26. Install the underhood electrical center bracket.
27. Install the underhood electrical center to the bracket.

28. Install the air cleaner housing assembly. Refer to Air Cleaner Assembly Replacement (See: Air Cleaner Housing > Removal and Replacement > Air Cleaner Assembly Replacement).
29. Fill the transmission. Refer to Transmission Fluid Level and Condition Check (See: Automatic Transmission/Transaxle > Symptom Related Diagnostic Procedures > Transmission Fluid Level and Condition Check) and Fluid Capacity Specifications (See: Fluid - A/T > Capacities).


______________________________________

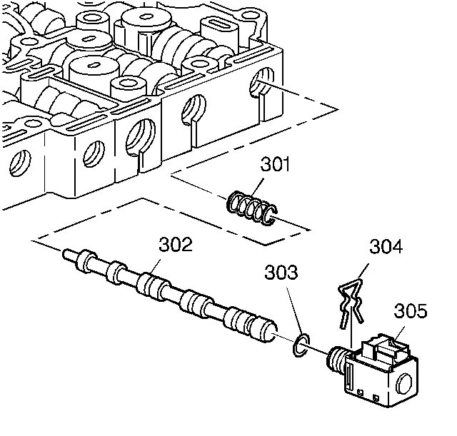
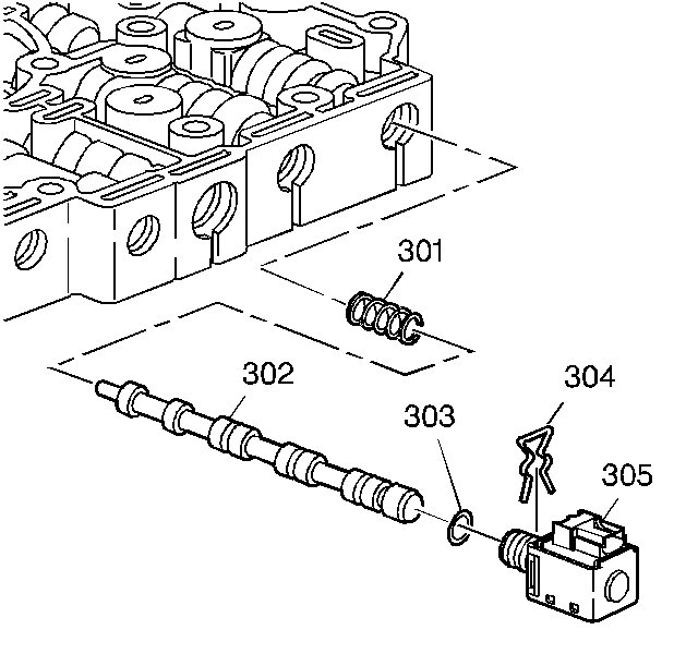
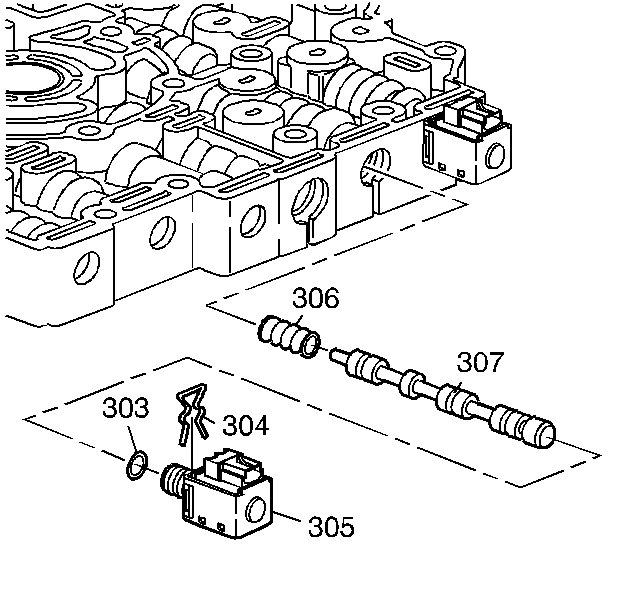
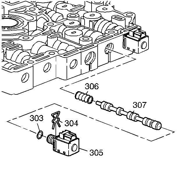
1-2 SHIFT SOLENOID VALVE REPLACEMENT
1-2 Shift Solenoid Valve Replacement

Removal Procedure

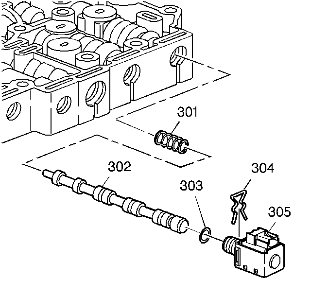
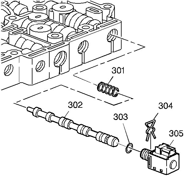
Important: Retainer clips hold in each of the valve line-ups. Use a small screwdriver in order to remove the retainer clips. Be careful not to score the valve body when removing the retainer clips and valves. Before removing the valve line-ups, inspect each valve line-up for freedom of movement.


See pic 14

1. Remove the transmission side cover. Refer to Control Valve Body Cover Replacement (See: Valve Body, A/T > Removal and Replacement > Control Valve Body Cover Replacement).
2. Remove the 1-2 shift solenoid retainer clip (304), the 1-2 shift solenoid (305) with O-ring (303), the 1-2 shift valve (302), and the 1-2 shift valve spring (301).

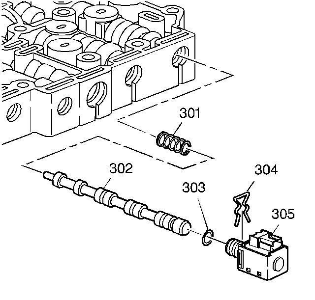
Installation Procedure


See Pic 15

1. Install the 1-2 shift valve spring (301), the 1-2 shift valve (302), the 1-2 shift solenoid (305) with O-ring (303) and the 1-2 shift solenoid retainer clip (304).
2. Install the transmission side cover. Refer to Control Valve Body Cover Replacement (See: Valve Body, A/T > Removal and Replacement > Control Valve Body Cover Replacement).

Important: It is recommended that transmission adaptive pressure (TAP) information be reset.


Resetting the TAP values using a scan tool will erase all learned values in all cells. As a result, The ECM, PCM or TCM will need to relearn TAP values. Transmission performance may be affected as new TAP values are learned.


3. Reset the TAP values. Refer to Transmission Adaptive Functions (See: Automatic Transmission/Transaxle > Components > Transmission Adaptive Functions).

______________________________________________________________________

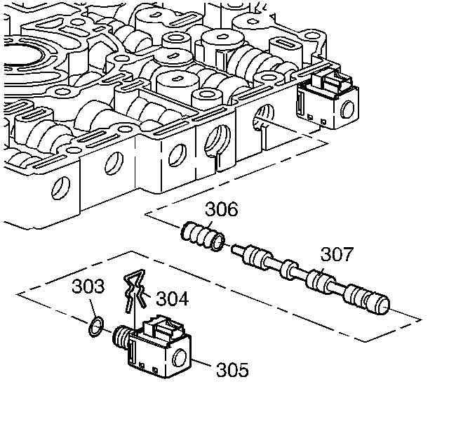
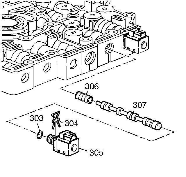
2-3 SHIFT SOLENOID VALVE REPLACEMENT
2-3 Shift Solenoid Valve Replacement

Removal Procedure

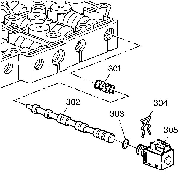
Important: Retainer clips hold in each of the valve line-ups. Use a small screwdriver in order to remove the retainer clips. Be careful not to score the valve body when removing the retainer clips and valves. Before removing the valve line-ups, inspect each valve line-up for freedom of movement.



pic 16

1. Remove the transmission side cover. Refer to Control Valve Body Cover Replacement (See: Valve Body, A/T > Removal and Replacement > Control Valve Body Cover Replacement).
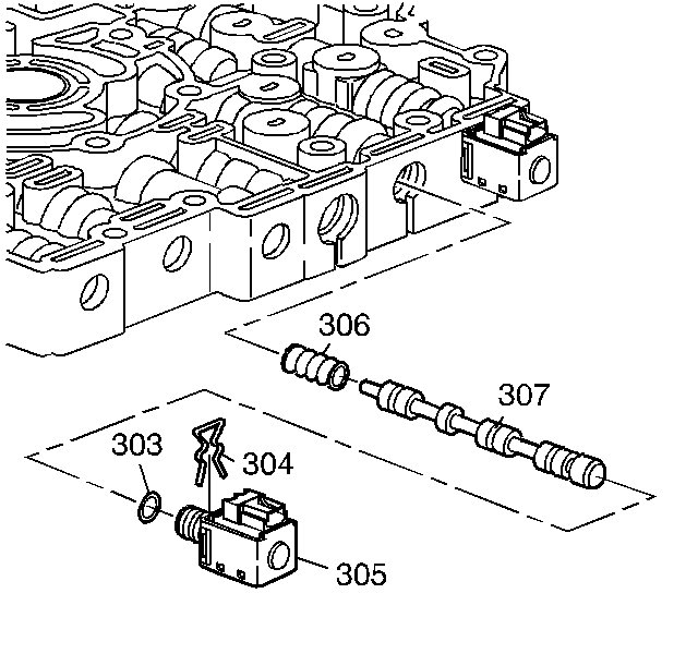
2. Remove the 2-3 shift solenoid retainer clip (304), the 2-3 shift solenoid (305) with O-ring (303), the 2-3 shift valve (307), and the 2-3 shift valve spring (306).

Installation Procedure


pic 17

1. Install the 2-3 shift valve spring (306), the 2-3 shift valve (307), the 2-3 shift solenoid (305) with O-ring (303) and the 2-3 shift solenoid retainer clip (304).
2. Install the transmission side cover. Refer to Control Valve Body Cover Replacement (See: Valve Body, A/T > Removal and Replacement > Control Valve Body Cover Replacement).

Important: It is recommended that transmission adaptive pressure (TAP) information be reset.


Resetting the TAP values using a scan tool will erase all learned values in all cells. As a result, The ECM, PCM or TCM will need to relearn TAP values. Transmission performance may be affected as new TAP values are learned.


3. Reset the TAP values. Refer to Transmission Adaptive Functions (See: Automatic Transmission/Transaxle > Components > Transmission Adaptive Functions).

______________________________

Let me know if this is what you needed or if you have other questions.

Take care,
Joe
Jul 3, 2019 at 9:03 PM
Avatar
DUWHOP31
  • MEMBER
  • 151 POSTS
Real quick. when I put the new solenoids in which way does the clip go? From the bottom pushed to the top, from the top pushed to bottom or from the sides?
Jul 11, 2019 at 7:26 AM
Advertisement
Avatar
DUWHOP31
  • MEMBER
  • 151 POSTS
These clips.
Jul 11, 2019 at 7:27 AM
Avatar
DUWHOP31
  • MEMBER
  • 151 POSTS
My bad these clips:
Jul 11, 2019 at 7:34 AM
Avatar
JACOBANDNICKOLAS
  • CERTIFIED EXPERT
  • 110,175 POSTS
Welcome back:

LOL they go from the top down. A very easy thing to miss. Take a look at the last picture I posted above.

Let me know if you have other questions and if this takes care of the problem.

Take care,
Joe
Jul 11, 2019 at 7:22 PM
Avatar
DUWHOP31
  • MEMBER
  • 151 POSTS
Do you know where the shift linkage and bracket go back on to?
Jul 13, 2019 at 9:05 AM
Avatar
JACOBANDNICKOLAS
  • CERTIFIED EXPERT
  • 110,175 POSTS
Welcome back:

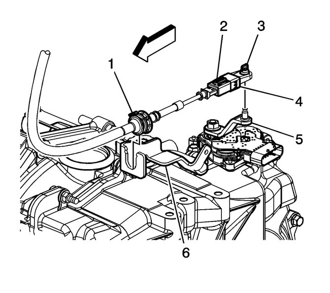
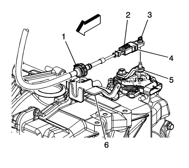
I believe that is near the heat shield on the exhaust. See if the attached picture helps.

Let me know.

Joe
Jul 13, 2019 at 7:29 PM
Avatar
DUWHOP31
  • MEMBER
  • 151 POSTS
When I put my car in reverse and neutral and press the gas it goes forward.
Jul 16, 2019 at 9:35 AM
Avatar
JACOBANDNICKOLAS
  • CERTIFIED EXPERT
  • 110,175 POSTS
Welcome back:

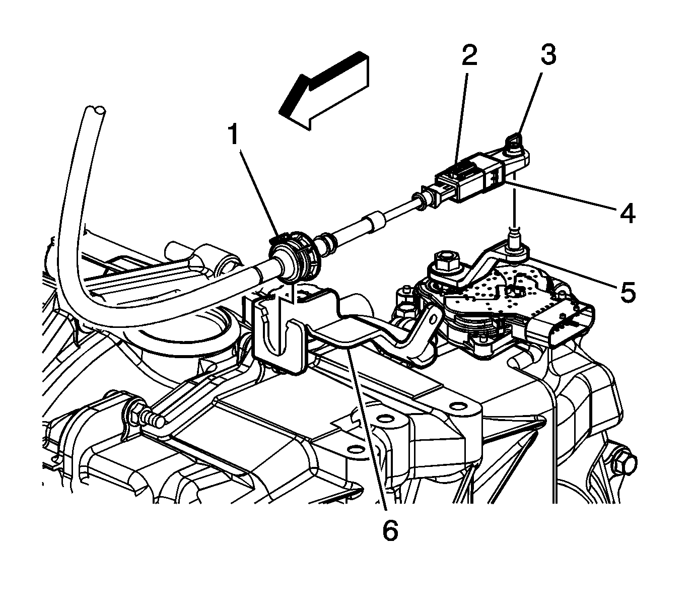
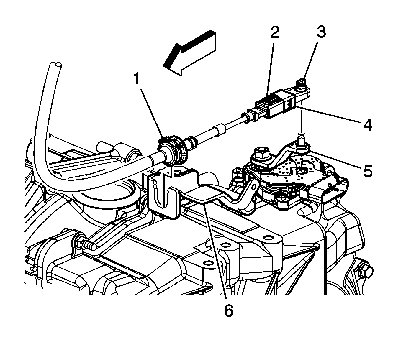
Interesting. Are you able to get reverse at all? Let me know. Also, I noted that you attached pics of the shift cable. Here are the directions for adjustment. The attached picture correlates with the directions.

_____________________________

4T45-E - AUTOMATIC TRANSMISSION
Shift Control Cable Adjustment

1. Place the shift control lever in the PARK position.


see pic 1

2. Carefully remove the shift cable end (3) from the transmission range select lever (5).
3. Release the shift cable retainer (3) from the shift cable bracket (6).
4. On the underside of the cable adjustment lock protective sleeve (4), release the retaining tab using a flat bladed tool.
5. Slide the cable adjustment lock protective sleeve (4) toward the end of the cable (3) to expose the cable adjustment lock (2).
6. Release the cable adjustment lock (2) to allow freedom of movement of the cable end (3).
7. Secure the shift cable retainer (3) to the shift cable bracket (6).
8. Secure the shift cable end (3) to the transmission range select lever (5).
9. Insure both the shift control lever and the transmission range select lever (5) are in the park position.
10. Depress the cable adjustment lock (2) to secure the adjustment of the shift cable end (3).
11. Slide the cable adjustment lock protective sleeve (4) over the cable adjustment lock (2).
12. Test the shift control lever in all positions for proper gear range selection.

_____________________

Let me know if that is what was needed or what exactly is happening as far as can you get reverse, park, and neutral in different shift positions.

Take care,
Joe
Jul 16, 2019 at 8:17 PM
Avatar
DUWHOP31
  • MEMBER
  • 151 POSTS
So today I messed around with the shift linkage then started the car and it went in reverse and felt like it was going to go in reverse so I got out the car and shut the hood and went to put it in reverse again and it didn't go anywhere.. does it matter if the bracket in the first picture isn't bolted on or does it have to be. When I have it in park does the neutral safety switch have to be all the way to the left like the second turpitude? Do I need to do anything with the adjuster or whatever it's called in the first picture I just uploaded?
Jul 16, 2019 at 9:15 PM
Avatar
DUWHOP31
  • MEMBER
  • 151 POSTS
So I don't need to mess with label (1) at all? And label (2) (3) and (4) are all together already.. I loosened the bolt and moved the Transmission range sensor all the way to my left. Is that right? Do the 2 bolts that hold the transmission range sensor on the transmission have to be all the way tightened? like if the back 1 isn't all the way tight would that make it not go in reverse?
Jul 16, 2019 at 9:24 PM
Avatar
JACOBANDNICKOLAS
  • CERTIFIED EXPERT
  • 110,175 POSTS
Welcome back:

The bracket is what enables the cable to move the shift lever. If that isn't bolted on, the transmission will not shift or at least not shift properly. Bolt that on and let me know what happens.

Joe
Jul 16, 2019 at 9:57 PM
Avatar
DUWHOP31
  • MEMBER
  • 151 POSTS
Is this not how it goes?
Jul 17, 2019 at 11:52 AM
Avatar
JACOBANDNICKOLAS
  • CERTIFIED EXPERT
  • 110,175 POSTS
Welcome back:

That looks correct. Is the bracket that holds the shift cable mounted?

Joe
Jul 17, 2019 at 6:00 PM
Avatar
DUWHOP31
  • MEMBER
  • 151 POSTS
No sir. okay, so mostly all of the transmission side cover bolts were 10mm but maybe 2 or 3 were 13mm so i need to know if the bracket goes on top of the transmission where the 1st 13mm bolt is on top closet to you if you were looking up under the hood (front of the car) and what else could I be doing wrong? Or not getting right? 1 more question so when I did take the side cover off a lot of transmission fluid leaked out. I do not know if all of it did or not so I only put a total of 5 quarts back in (my car manual says 7 qts) could the fluid be too low ?
Jul 18, 2019 at 4:29 PM
Avatar
JACOBANDNICKOLAS
  • CERTIFIED EXPERT
  • 110,175 POSTS
Welcome back:

Did that much come out? Have you checked the level? I think you may have too much fluid in it.

Let me know.
Jul 18, 2019 at 6:40 PM
Avatar
DUWHOP31
  • MEMBER
  • 151 POSTS
Its one of those no dipsticks.. but when I started taking the bolts of the transmission the fluid started coming out like for sure at least a gallon maybe more
Jul 18, 2019 at 9:15 PM
Avatar
DUWHOP31
  • MEMBER
  • 151 POSTS
The brake lights work I have the neutral safety switch bolted on the transmission with the lever and shift cable attached at what I think is the right position (shift linkage bracket bolted down too) when I didn't bolt the bracket down u barley had to press the gear shift meaning it was very easy to move from P to R,N,D and with bracket bolted on to transmission it feels like normal shift. It just doesn't go anywhere in R,N,D,etc.
Jul 19, 2019 at 10:20 AM
Avatar
DUWHOP31
  • MEMBER
  • 151 POSTS
Look at the pictures I honestly don't know what could possibly on wrong, or can having too much transmission fluid or not enough make it not go anywhere.
Jul 19, 2019 at 10:25 AM
Avatar
JACOBANDNICKOLAS
  • CERTIFIED EXPERT
  • 110,175 POSTS
Welcome back:

Not enough could cause it not to move, but if you put 5 quarts in it, it should move. Are you certain everything in the trans is plugged in?

Joe
Jul 19, 2019 at 6:51 PM
Avatar
DUWHOP31
  • MEMBER
  • 151 POSTS
Yes sir. It has to be that the Neutral safety switch or shift linkage is on wrong cause when I first got it started & put it in reverse it went foward.. and whn I didnt have the bolt in the bracket u could easily move the gear shift from P to R,N,D
Jul 21, 2019 at 7:41 AM
Avatar
STRAILER
  • CERTIFIED EXPERT
  • 53,854 POSTS
So if you remove the cable from the transmission can you move the cable or the gear selector lever?
Jul 23, 2019 at 2:46 PM