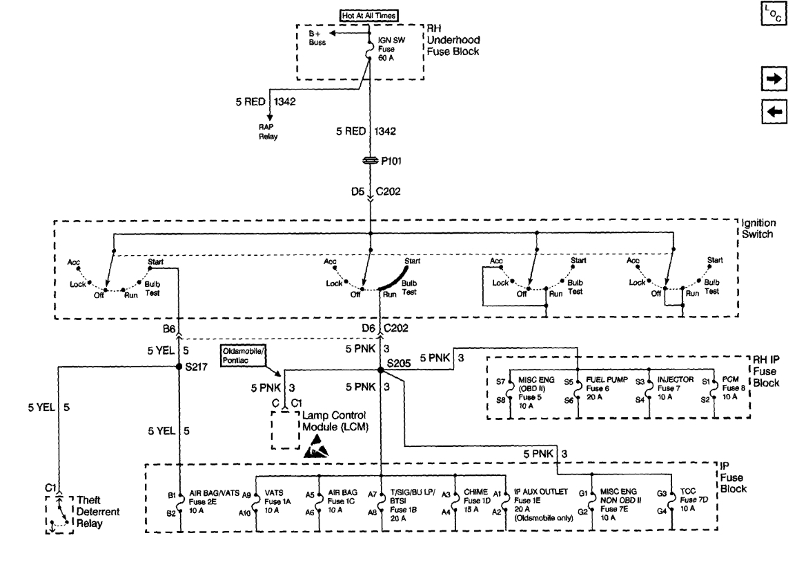
Lights on cluster all turn on when turning the key forward. I can hear the fuel pump whirring. When i turn the key to start, there's no crank at all, and the security light flashes. I connected the positive and negative terminals on the starter with the key forward and the little wheel does come out and spin. I've done the relearn procedure that i found on the internet, turning to key to "run" waiting 10 minutes for the security light to go out, waiting 5 seconds and repeat for a total of three cycles, and it still doesn't work. About a year ago, I replaced the ignition lock cylinder and got a new key programmed and it was working completely fine until now.
Jun 7, 2022 at 10:26 AM









