Runs badly and high fuel consumption?

1996 ISUZU HOMBRE
207,293 MILES • 2.2L • 4 CYL • 2WD • MANUAL
Avatar
ASWASCOM
  • MEMBER
  • 2 POSTS
When I first crank my truck it runs fine, say I go to the store and shut it off, and then crank it when I'm ready to leave it runs horribly and drinks a ton of gas. Any ideas?
Dec 9, 2023 at 8:20 AM
Advertisement
Avatar
STRAILER
  • CERTIFIED EXPERT
  • 53,854 POSTS
It sounds like one of the fuel injectors is sticking open, to find out which one lets remove the spark plugs and look for the one that is darker than the rest (black). I would then change the spark plugs and replace that injector, if you want to keep the vehicle I would change all of the injectors out because they can wear and you will have the same problem again soon.

Also we should run the codes to see if any are stored.

https://www.2carpros.com/articles/checking-a-service-engine-soon-or-check-engine-light-on-or-flashing

and

https://www.2carpros.com/articles/how-to-change-spark-plugs

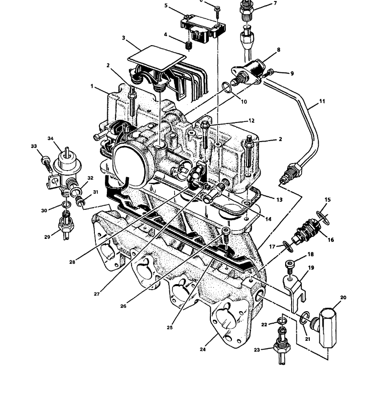
Check out the images (below). Please upload pictures or videos of the problem so we can see what's going on.
Dec 9, 2023 at 10:13 AM
Avatar
ASWASCOM
  • MEMBER
  • 2 POSTS
We've recently changed all 4 injectors plugs wires coils o2 sensors crank and cam sensor also the running temperature is staying under 140 if that.
Dec 9, 2023 at 12:08 PM
Advertisement
Avatar
STRAILER
  • CERTIFIED EXPERT
  • 53,854 POSTS
It sounds like the engine cooling system thermostat is stuck open; I would remove it to help confirm the failure. Did you run the codes? Also, you may have a defective fuel injector which leaks which can cause poor running for a short sit. I would remove the spark plug to see if there is a dark one which will be the cylinder that is having a problem. Here is how to change the thermostat.

1. On models equipped with airbag system, refer to Technician Safety Information for system disarming and arming procedures.
2. Disconnect battery ground cable.
3. Drain coolant from radiator.
4. Disconnect thermoswitch electrical connector, then the upper radiator hose from thermostat housing.
5. Remove thermostat housing and thermostat from engine assembly. Note installation position of jiggle valve before removing thermostat.
6. Reverse procedure to install, noting the following:
a. Ensure thermostat housing sealing surfaces are free of old gasket material.
b. Install thermostat with jiggle valve positioned at 12 o'clock.
c. Tighten thermostat housing retaining bolts to specification.
7. On models equipped with airbag system, refer to Technician Safety Information for system disarming and arming procedures.

https://www.2carpros.com/articles/how-an-engine-thermostat-works


Please go over this guide and get back to us.
Dec 11, 2023 at 9:28 AM