Rough idle and check engine light

2007 AUDI A4
124,000 MILES
Avatar
NASER NASER
  • MEMBER
  • 836 POSTS
Am a wholesaler, bought this car listed above 2wd, 2.0t . It has a rough idle when first started then smooths out and drives great. Codes were 8852 fuel pressure regulator 2 control circuit, 0051 turbo charger bypass valve control circuit.1092 evap purge valve cir open, misfire on random cylinders. another turbo code and an O2 codes all in the pictures below. if you rev the engine while sitting in park to 1,100 rpm's everything smooths out. checked on the cam follower looks good. spark plugs okay, maybe a bit rich. when you drive the car all good, but when in the morning and sitting very rough idle. i will send a video for the back part of the motor which i believe is the brake vacuum pump? It is making a lot of noise and i know that is a common issue. especially that once, the brakes went all hard and the EPC light came on, now while in front of my house the brake is all hard.clear the codes and all come back together. where is the turbo solenoid on this car i need to check the connections?
Oct 9, 2019 at 7:13 AM
Advertisement
Avatar
NASER NASER
  • MEMBER
  • 836 POSTS
Here are few readings after i cleared the codes, smooth after she is warm. With regard to the vacuum pump in back of motor, the hose that goes to it which connects to the little nipple has some free play, if i pull it out and in while car is running there is play and the motor quiets down because when cold she goes in and out few millimeters on its own making like a pinging sound, and this maybe why the brake pedal was once or twice hard as she connects to the booster i believe, the hose going to the booster also has a small crack so taped it for now to see.
Oct 9, 2019 at 1:29 PM
Avatar
JACOBANDNICKOLAS
  • CERTIFIED EXPERT
  • 110,175 POSTS
Since this only happens cold, have you checked the engine coolant temp sensor? If it is telling the computer the wrong temperature when cold, it could cause the air fuel mixture to be too lean or rich.

If you have a live data scanner, check it cold and see if the temperature is close to the ambient temp.

Let me know.

Joe
Oct 12, 2019 at 7:41 PM
Advertisement
Avatar
NASER NASER
  • MEMBER
  • 836 POSTS
checked it this morning which was around 57F on the scanner, pretty much inline with outside temperature since it was cold this morning.
Oct 14, 2019 at 5:23 PM
Avatar
JACOBANDNICKOLAS
  • CERTIFIED EXPERT
  • 110,175 POSTS
I'm starting to question if it is an issue with the intake runner intake position sensor. Not being there is making these test take long. I'm sorry for that. However, I need you to check the runner position sensor. Here are the directions. The attached pics correlate with the directions.

___________________________________

Intake Flap Motor/Intake Manifold Runner Position Sensor, Checking
Vehicle Powertrain Management Fuel Delivery and Air Induction Variable Induction System Variable Induction Control Valve Testing and Inspection Component Tests and General Diagnostics Intake Flap Motor/Intake Manifold Runner Position Sensor, Checking
INTAKE FLAP MOTOR/INTAKE MANIFOLD RUNNER POSITION SENSOR, CHECKING
Intake Flap Motor/Intake Manifold Runner Position Sensor, Checking

Use only gold-plated terminals when servicing terminals in the electrical harness connector of the Intake Flap Motor (V157)/Intake Manifold Runner Position Sensor (G336).

Special tools, testers and auxiliary items required

Multimeter.

Wiring diagram.

Test requirements

The Engine Control Module (ECM) ( J623) fuses OK.

Battery voltage at least 12.5 volts.

All electrical consumers such as, lights and rear window defroster, switched off.

Vehicles with automatic transmission, shift selector lever into position " P" or "N".

A/C switched off.

Ground (GND) connections between engine/transmission/chassis OK.

Ignition switched off.

Test procedure

- Perform a preliminary check to verify the customers complaint. Refer to => [ General Diagnosis ] See: Computers and Control Systems > Initial Inspection and Diagnostic Overview > General Diagnosis.

Start diagnosis

- Remove engine cover - arrows -.


pic 1


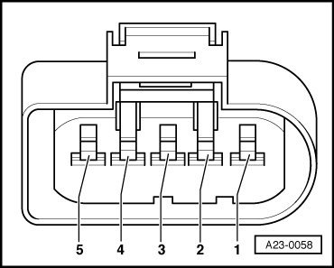
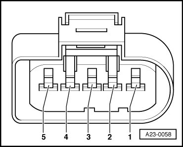
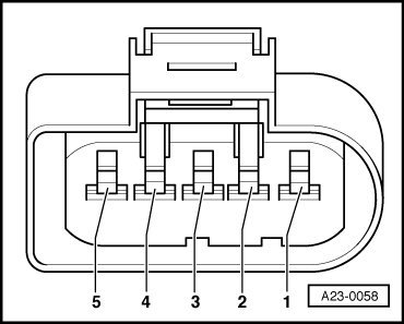
- Disconnect the Intake Flap Motor (V157)/Intake Manifold Runner Position Sensor (G336) electrical harness connector - arrow -.


pic 2


- Switch the ignition on.

- Using a multimeter, check the Intake Flap Motor (V157)/Intake Manifold Runner Position Sensor (G336) electrical harness connector terminals 1 to 3 for voltage.


pic 3


Specified value: about 5 V

- Switch ignition off.

If the specified value was obtained:

- Replace the Intake Flap Motor ( V157)/Intake Manifold Runner Position Sensor ( G336).

If the specified value was not obtained:

Checking wiring

If the manufacturers test box is being used. Perform the following step.

- Install the test box. Refer to Fuel Injection and Ignition Repair Information

If the manufacturers test box is not being used. Perform the following step.

- Remove the Engine Control Module (ECM) (J623). Refer to => [ Engine Control Module, Replacing ] See: Engine Control Module > Removal and Replacement > Engine Control Module, Replacing.

- Using a Multimeter, check the Intake Flap Motor ( V157)/Intake Manifold Runner Position Sensor ( G336) electrical harness connector terminals to the Engine Control Module (ECM) (J623) electrical harness connector T60 terminals for resistance.


pic 4


Specified value: 1.5 ohms Max.

If the specification was not obtained:

- Check the wiring for an open circuit, a short circuit to each other, Battery (+), and Ground (GND).

- Check the electrical harness connector for damage, corrosion, loose or broken terminals.

- If necessary, repair the faulty wiring connection.

If no malfunction is detected in the wiring:

- Erase the DTC memory. Refer to => [ Diagnostic Mode 04 - Erase DTC Memory ] See: Computers and Control Systems > Scan Tool Testing and Procedures > Diagnostic Mode 04 - Erase DTC Memory.

- Perform a road test to verify repair.

If the DTC does not return:

Repair complete, Generate readiness code. Refer to => [ Readiness Code ] See: Computers and Control Systems > Monitors, Trips, Drive Cycles and Readiness Codes > Readiness Code.

- End diagnosis.

If the DTC does return and no malfunction is detected in the wiring and the voltage supply was not OK:

- Replace the Engine Control Module (ECM) (J623 ). Refer to => [ Engine Control Module, Replacing ] See: Engine Control Module > Removal and Replacement > Engine Control Module, Replacing.

- Assembly is performed in the reverse of the removal.

Final procedures

After repair work, the following work steps must be performed in the mentioned sequence:

1. Check the DTC memory. => [ Diagnostic Mode 03 - Read DTC Memory ] See: Computers and Control Systems > Scan Tool Testing and Procedures > Diagnostic Mode 03 - Read DTC Memory.

2. If necessary, erase the DTC memory. => [ Diagnostic Mode 04 - Erase DTC Memory ] See: Computers and Control Systems > Scan Tool Testing and Procedures > Diagnostic Mode 04 - Erase DTC Memory.

3. If the DTC memory was erased, generate readiness code. => [ Readiness Code ] See: Computers and Control Systems > Monitors, Trips, Drive Cycles and Readiness Codes > Readiness Code.

End of diagnosis

_______________________________

Let me know.

Joe
Oct 14, 2019 at 5:40 PM
Avatar
NASER NASER
  • MEMBER
  • 836 POSTS
Checked the intake flap motor harness and it shows 4.95 volts, so is it possible the motor it self is bad? I moved the arm of the motor by hand and it moves, plus i don't see any codes for the intake flap runner, are you pretty certain this points to the motor?
Oct 16, 2019 at 10:11 AM
Avatar
JACOBANDNICKOLAS
  • CERTIFIED EXPERT
  • 110,175 POSTS
Welcome back:

Certain, no. Questioning, yes. The symptoms are common to specific things, but everything is checking good. Also, the voltage is actually good.

I'm starting to run out of thoughts. Have you checked fuel trims when it is first started and you experience the issue?

Oct 16, 2019 at 6:23 PM
Avatar
NASER NASER
  • MEMBER
  • 836 POSTS
i can send you the fuel trims tomorrow? because that is something i do not understand. car just had another high pressure fuel pump installed from another car.. also found one of the PCV hoses split so i taped it for one not to allow any vacuum. not sure if this is how it was or broke while replacing the pump.
Oct 16, 2019 at 6:25 PM
Avatar
JACOBANDNICKOLAS
  • CERTIFIED EXPERT
  • 110,175 POSTS
The broken hose can be your issue. As far as fuel trims, they need to be as close to 0 as possible. If the trim is in the positive range, the fuel mixture is lean and the comp is adding fuel to compensate. If the trims are in the negative range, the mixture is rich and the comp is trying to remove fuel from the engine. As you already know, a lean or rich fuel mixture can be only caused by so many different things. So, based on the readings, those are the things needing checked.

That is just a general idea of how it works. It can become much more involved, but I'm just trying to help you understand. Hope it helps.

Let me know what they are when the problem is happening. It has to be then because the engine is running in a closed loop before it reaches a specific temperature. It may be very helpful.

Take care,
Joe
Oct 16, 2019 at 6:41 PM
Avatar
NASER NASER
  • MEMBER
  • 836 POSTS
Take a while to start. but here is what i have first when i first started and foot on the gas so she wont stall.
Oct 17, 2019 at 6:24 AM
Avatar
NASER NASER
  • MEMBER
  • 836 POSTS
This is after a minute or so after the rom stabilized and engine can run without me stepping on the gas.
Oct 17, 2019 at 6:25 AM
Avatar
JACOBANDNICKOLAS
  • CERTIFIED EXPERT
  • 110,175 POSTS
Welcome back:

The STFT are not present on the scanner. Does it change when it warms up?

Joe
Oct 17, 2019 at 7:00 PM
Avatar
NASER NASER
  • MEMBER
  • 836 POSTS
I cannot seem to find any of the fuel trims on the scanner, it is no where to be found.
Oct 19, 2019 at 5:51 AM
Avatar
NASER NASER
  • MEMBER
  • 836 POSTS
Replaced that broken PCV hose, delete all the codes but 4 stay and never go away and the EPC light never goes off, hard to start about 3 times of turning over before it fires up. but did start today with no stalling. codes are in the picture. removed the sensor in the turno yesterday and it looks good and clean and clicks when i press the little nipple. There was oil though in the hose that is on the bottom of the turbo from bottom, about half quart or so not sure if normal. And starting to lean towards the turbo or carbon build up. what do you think?
Oct 19, 2019 at 4:12 PM
Avatar
JACOBANDNICKOLAS
  • CERTIFIED EXPERT
  • 110,175 POSTS
Looking at the codes, there are several things that can be causing the issue. The hard start really leads me to believe there is a fuel pressure issue and one of the codes indicates an issue with the regulator. Additionally, the EVAP code can be causing a rough idle.

At this point, I would pick one thing at a time and focus on it, specifically the fuel pressure concerns.

Let me know if I can help.
Joe
Oct 19, 2019 at 5:17 PM
Avatar
NASER NASER
  • MEMBER
  • 836 POSTS
But the high pressure fuel pump was replaced and still same issue, what else is there to check? where is the evap on this thing?
Oct 19, 2019 at 5:38 PM
Avatar
NASER NASER
  • MEMBER
  • 836 POSTS
And if the turbo has issues wont cause these codes?
Oct 19, 2019 at 5:41 PM
Avatar
JACOBANDNICKOLAS
  • CERTIFIED EXPERT
  • 110,175 POSTS
It will matter what is wrong with the turbo. However, I don't see how it can affect the electronics of the items indicated on the scanner. You have low voltage to them. That is usually an issue with a connection.
Oct 19, 2019 at 6:24 PM
Avatar
NASER NASER
  • MEMBER
  • 836 POSTS
These are some data from when the car is cold. When the gas pedal is pressed the intake flap arm moves. Again it is a long crank and for few seconds it is idling rough then stabilizes. Can you see if you can spot anything from these data when cold and I will send another set when warm. also in this picture here is before and after i press the gas to boost the turbo.
Oct 29, 2019 at 9:03 AM
Avatar
NASER NASER
  • MEMBER
  • 836 POSTS
These after she is warm. I checked the connections at the turbo, the evap, and hpfp and all are good.
Oct 29, 2019 at 9:05 AM
Avatar
NASER NASER
  • MEMBER
  • 836 POSTS
Is it possible the catalytic is clogged up?
Oct 29, 2019 at 1:24 PM
Avatar
NASER NASER
  • MEMBER
  • 836 POSTS
can you please tell me how much voltage i should be getting from the number 2 fuel sensor which is in the HPFP?
Oct 29, 2019 at 5:26 PM
Avatar
JACOBANDNICKOLAS
  • CERTIFIED EXPERT
  • 110,175 POSTS
Welcome back:

I believe I got what you are looking for. I attached 4 pictures below. Let me know if that is what was needed.

Joe
Oct 30, 2019 at 5:34 PM
Avatar
NASER NASER
  • MEMBER
  • 836 POSTS
I think so, thanks.
Oct 30, 2019 at 5:37 PM
Avatar
JACOBANDNICKOLAS
  • CERTIFIED EXPERT
  • 110,175 POSTS
Welcome back:

Happy to help. Let me know how things work out for you.

Take care,
Joe
Oct 30, 2019 at 6:41 PM