Roaring/howling

2002 GMC SONOMA
60,000 MILES • 4.3L • 6 CYL • 4WD • AUTOMATIC
Avatar
KONA14
  • MEMBER
  • 3 POSTS
There is what sounds like a bearing going bad when driving and especially noticeable at speeds below fifty mph and gets louder when decelerating. It is a roaring howling noise that sounds like a bad tear end bearing I had on a different truck. I have replaced both front hub bearing assemblies and taken it to a repair shop. The repair shop said they cannot get it to make the noise when the car is running on the lift, only happens when driving on the road . For this reason they are leaning towards it being the tires. It just sounds mechanical and I can differentiate the sound tires make over a bearing noise usually . Unless this is a special case . I was wondering if there are any other components that would act this way when the weight is lifted from the vehicle besides the tires ? Things like front CV axles? Any help would be much appreciated as I am at a loss with this pretty annoying sound. The tires have good tread and found the manufacturing date to be 2010 if that helps.
Nov 29, 2017 at 6:10 PM
Advertisement
Avatar
KONA14
  • MEMBER
  • 3 POSTS
More information; It is a Zr2 model with the Eaton G80 rear end.
Nov 29, 2017 at 6:21 PM
Avatar
STRAILER
  • CERTIFIED EXPERT
  • 53,854 POSTS
Yes, it sounds like you have a pinion or ring gear bearing out which create a mesh problem for the gears which will only make noise under load. It is better at this point to just install a used rear end. But if you want to rebuild it here are some diagrams to help you see what is going on.

This video will show you how to get the axles out.

https://youtu.be/ytqXLSjHNm0

Install the new ring gear bolts. Tighten the ring gear bolts alternately and in stages, gradually pulling the ring gear onto the differential case.
For the 7.6 inch axle, tighten the ring gear bolts in sequence to 100 Nm (74 ft. lbs.).
For the 8.6 inch axle, tighten the ring gear bolts in sequence to 120 Nm (89 ft. lbs.).


Pinion Depth Adjustment

Tools Required
J 8001 Dial Indicator Set
J 21777-40 Rear Pilot Washer
J 21777-42 Front Pilot Washer
J 21777-43Stud Assembly Bolt
J 21777-45 Side Bearing Discs
J 21777-1 Arbor
J 21777-29 Gage Plate
J 21777-35 Rear Pilot Washer
J 23597-1 Arbor
J 23597-11 Gage Plate
Important: Make sure all of the tools, the differential side bearing bores, and the pinion bearing cups are clean before proceeding.

Lubricate the pinion bearings with axle lubricant.
Install the pinion bearings into the axle housing.

Assemble the following components into the axle housing:
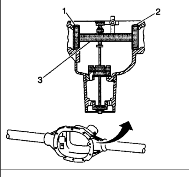
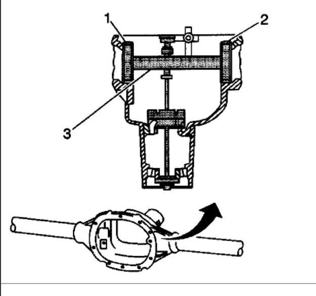
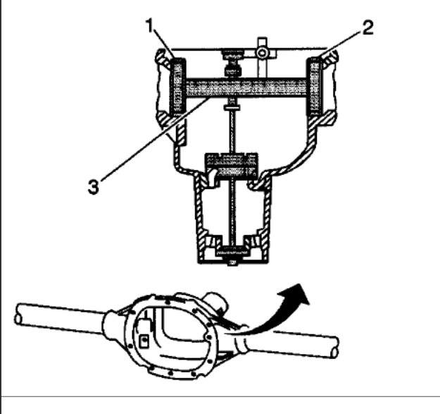
For the 7.6 inch axle, assemble the J 21777-40 (1), the J 21777-43 (2), the J 21777-42 (3), and the J 21777-45 (4) as shown.
For the 8.6 inch axle, assemble the J 21777-35 (1), the J 21777-43 (2), the J 21777-42 (3), and the J 21777-29 (4) as shown.
While holding the J 21777-43 stationary, install an inch-pound torque wrench on the nut of the J 2177743 and tighten the nut until a rotating torque of 2.2 Nm (20 inch lbs.) is obtained. Rotate the assembly several times in both directions in order to seat the pinion bearings.
Check the rotating torque of the assembly. If the torque is less than 1.7 Nm (15 inch lbs.) , tighten the nut on the J 21777-43 until a rotating torque of 1.7 - 2.8 Nm (15 - 25 inch lbs.) is obtained.


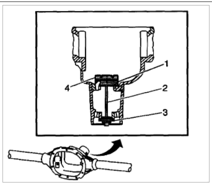
Assemble the following components into the differential carrier bore of the axle housing:
For the 7.6 inch axle, assemble the J 21777-45 (1, 2) to the J 23597-1 (3) as shown.
For the 8.6 inch axle, assemble the J 21777-45 (1, 2) to the J 21777-1 (3) as shown.
Install the bearing caps.
Notice: Refer to Fastener Notice in Service Precautions.

Install the bearing cap bolts.
Tighten the bearing cap bolts to 75 Nm (55 ft. lbs.).
Rotate the J. 23597-1 (7.6 inch axle) or the J 21777-1 (8.6 inch axle) within the J 21777-45. The J 23597-1 or the J 21777-1 must rotate back and forth freely within the discs. If the J 23597-1 or the J 21777-1 does not rotate freely, disassemble the components, inspect for proper seating and/or mix-aligned components and re-assemble.

Check out the diagrams (Below)

Please let us know what you find. We are interested to see what it is.

Cheers, Ken
Dec 2, 2017 at 3:42 PM
Advertisement
Avatar
KONA14
  • MEMBER
  • 3 POSTS
HI Ken , first off thanks so much for your comprehensive response !
So when you say" load"it means on the ground and driving along I'm assuming . The repair shop said they had the rear end on a hoist to act like the weight of the truck was on it while they drove it with the back wheels lifted . Would this pinion bearing ring gear bearing only make a noise if driven on the road with the force of the road against it ?
Thanks for clearing this up because they are sure they tried everything but I don't think they could have if all the testing was done with the wheels off the road even if the rear suspension was compressed on the hoist etc ..
Thanks again
Dec 4, 2017 at 7:10 AM
Avatar
STRAILER
  • CERTIFIED EXPERT
  • 53,854 POSTS
Yep loaded means while driving with a load on it. A free wheel test will not tell you what you need to know. I have seen mechanics use a gopro to help record the event.

Please let us know what you find. We are interested to see what it is.

Cheers, Ken
Dec 4, 2017 at 1:06 PM