Good morning,
Can you attach some pictures for me to see?
Most of the time, it is springs that were changed to alter the height. This would mean replacing the springs to the original to get the height correct.
This will be expensive. I would prepare to spend around $500.00 to $1,000.00 for this repair.
Roy
Coil springs
COIL SPRING SUSPENSION
- J 43631 Ball Joint Remover
- J 45851 Ball Joint Separator Protector Adapters
REMOVAL PROCEDURE
1. Raise and support the vehicle. Refer to Vehicle Lifting.
2. Remove the tire and wheel.
imageOpen In New TabZoom/Print
3. Support the lower control arm with a suitable jack.
4. Remove the wheel hub and bearing.
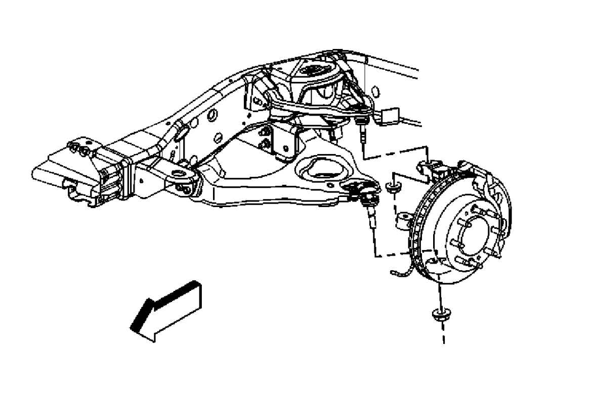
5. Disconnect the Electronic Suspension Control (ESC) link rod from the sensor, if equipped.
6. Disconnect the outer tie rod from the knuckle.
imageOpen In New TabZoom/Print
7. Remove the brake hose bracket retaining bolt from the knuckle.
imageOpen In New TabZoom/Print
8. Remove the retaining nut and separate the upper ball joint from the steering knuckle using the J 43631 and J 45851.
imageOpen In New TabZoom/Print
9. Remove the retaining nut and separate the lower ball joint from the steering knuckle using the J 43631 and J 45851.
imageOpen In New TabZoom/Print
10. Remove the steering knuckle.
REar leaf springs
LEAF SPRING REPLACEMENT
REMOVAL PROCEDURE
1. Raise and support the vehicle. Refer to Vehicle Lifting.
2. Support the rear axle independently in order to relieve the tension on the leaf springs.
3. Disconnect the electronic suspension control (ESC) sensors, 25 series utilities, if equipped.
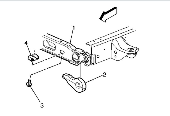
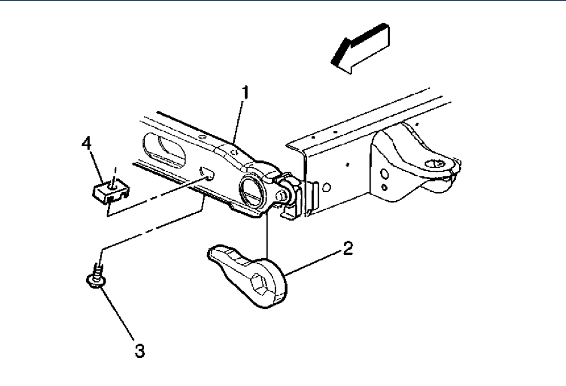
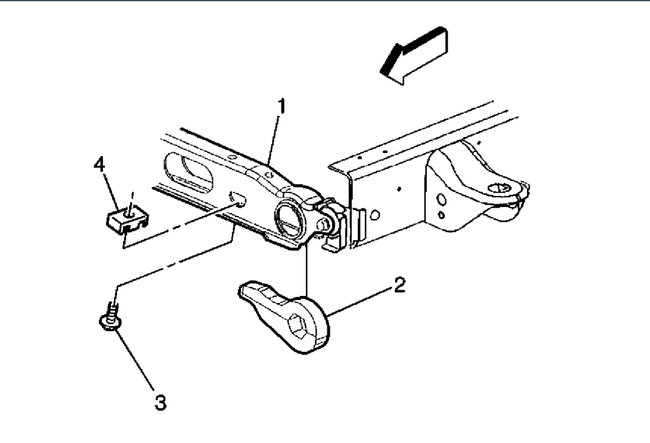
4. Remove the trailer hitch, if equipped.
5. Remove the fuel tank for left side applications.
imageOpen In New TabZoom/Print
6. Remove the U-bolt nuts.
7. Remove the U-bolts.
8. Remove the spring spacer.
9. Remove the anchor plate.
imageOpen In New TabZoom/Print
10. Remove the rear spring bracket nut and bolt.
imageOpen In New TabZoom/Print
11. Remove the front spring bracket nut and bolt.
12. Remove the leaf spring assembly from the vehicle.
Images (Click to enlarge)
Mar 15, 2021 at 2:25 AM