Hi,
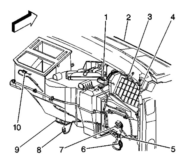
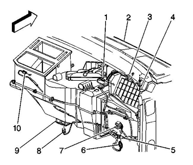
The part that changes air flow directions is called the mode door actuator. If you look at pic 1, it shows location.
Here are the directions for replacement. The remaining pictures correlate with the directions.
____________________________________________________
MODE ACTUATOR REPLACEMENT (W/ D07)
REMOVAL PROCEDURE
pic 2
1. Remove the floor air outlet duct extension (1) from the floor duct (2).
2. Remove the center console.
3. Remove the screws from the center console duct.
4. Remove the center console duct.
pic 3
5. Disconnect the electrical connection from the mode actuator (10).
pic 4
6. Remove the mode actuator mounting screws from the HVAC module.
7. Remove the mode actuator as an assembly with the actuator cam.
INSTALLATION PROCEDURE
pic 5
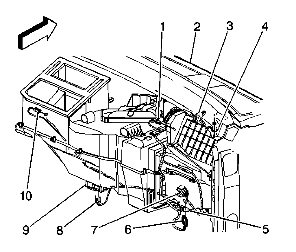
1. Install the mode actuator as an assembly with the actuator cam.
- Line up the heater/defroster valve lever with the mode actuator cam slot.
- Line up the A/C valve lever with the mode actuator cam
NOTE: Refer to Fastener Notice in Service Precautions.
2. Install the mode actuator mounting screws to the HVAC module.
Tighten
Tighten the screws to 1.6 N.m (14 lb in).
pic 6
3. Connect the electrical connection at the mode actuator (10).
pic 7
4. Install the center console duct.
5. Install the screws to the center console duct.
Tighten
Tighten the screws to 1.6 N.m (14 lb in).
6. Install the center console.
7. Install the floor air outlet duct extension (1) to the floor air duct (2).
________________________________________
Let me know if this helps or if you have other questions.
Take care,
Joe
Images (Click to enlarge)
Dec 2, 2019 at 9:17 PM