Relay fuel pump location needed

1990 TOYOTA CAMRY
12,500 MILES
Avatar
JOHNBEARBOY
  • MEMBER
  • 1 POST
Where is the fuel pump relay location?
Mar 1, 2020 at 10:44 PM
Advertisement
Avatar
MOTOR MASTER
  • CERTIFIED EXPERT
  • 279 POSTS
Hello my name is Dave.

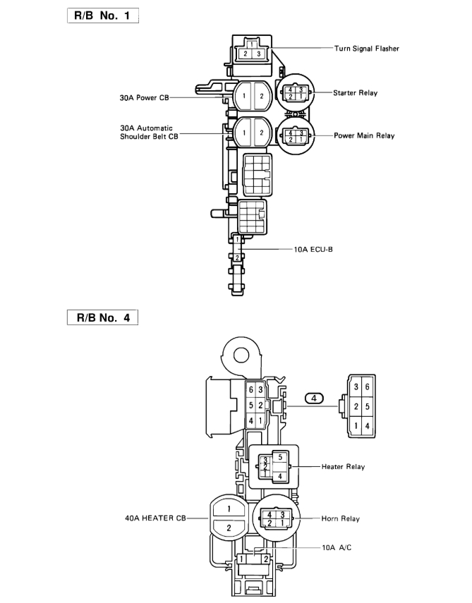
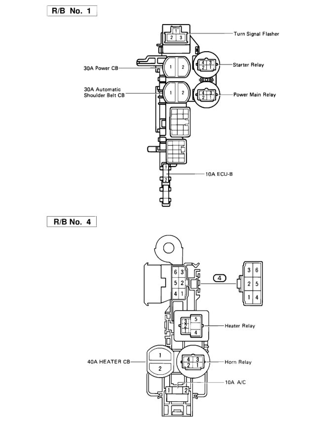
Your car has what they refer to as a circuit opening relay which is located on the ECU. however, I am interested to find out exactly what symptoms your car has as I have never had one of these go bad. Have you checked the ECU relay? I have attached a illustration showing the location of both of these relays. If you could let us know what symptoms you have we will be glad to help you further.
Mar 2, 2020 at 4:42 AM
Avatar
JOHNBEARBOY
  • MEMBER
  • 1 POST
I just need a picture of the location of the fuse box all fuses that is related to the fuel pump that is all I need . Thanks
Mar 3, 2020 at 9:57 AM
Advertisement
Avatar
STRAILER
  • CERTIFIED EXPERT
  • 53,854 POSTS
Here is a guide to help you test the fuse and relays with the relay and fuse locations in the diagrams below:

https://www.2carpros.com/articles/how-to-check-a-car-fuse

and

https://www.2carpros.com/articles/how-to-check-an-electrical-relay-and-wiring-control-circuit

Check out the diagrams (below). Please let us know what you find.
Mar 3, 2020 at 10:12 AM